无线电遥控功能集成在 ZKE 基本模块内。E46 四门车、旅行车、双门轿跑车和 E83 X3 上使用的天线集成在后窗玻璃中。E46 敞篷车、E52 Z8、E85 Z4 上的天线安装在内后视镜中。
无线电信号的分离是在天线的带阻滤波器内进行的。带阻滤波器将无线电遥控钥匙的信号通过数据线传送给基本模块。
所有的无线电电码都被编码,并且发出的总是一个不断变化的代码,由此防止车门的非法打开。
由于不同国家对无线电设备有不同的许可规定,所以发射器和带阻滤波器有两种型号。
适用于所有欧洲国家 (EUR 型)
主要适用于美国,加拿大和澳大利亚。
必须注意区别无线电遥控钥匙的两种不同基本型号:
下述为不同型号的无线电遥控钥匙,以及不同的规格。

带有可更换电池的无线电遥控钥匙,规格 433 MHz

带有可更换电池的无线电遥控钥匙,规格 315 MHz

带有可充电电池的无线电遥控钥匙外观相同的两种规格 433 MHz 和 315 MHz。有效频率印在背面。
通过钥匙上的 3 个按钮,同时根据按下按钮的时间长度,可以触发汽车的不同动作。
为了阻止对系统的不正当操作,所有的无线电指令的代码都是不断变化的。
如果在便捷开启 / 关闭车窗时无线电指令的传送受到干扰,为安全起见,立即取消车辆功能。如要重新进行便捷式操作,必须松开无线电遥控钥匙上相应的按钮,然后重新按下。
为防止不经意地按动按钮以及由此产生的遥控指令,当车辆钥匙插入点火开关时,基本模块中的遥控功能失去作用。基本模块从 EWS 控制单元中获得信息 ”钥匙插入”。
无线电遥控钥匙内,电池的电量状态可以通过按动一个按钮进行检查。
如果电压达到下限值,则无线电遥控钥匙将电池状态通知基本模块。基本模块按如下方法处理信息:
在出现电压过低的情况时,必须:
无线电遥控钥匙中的存储器与电压无关,这样可确保,即使在电池耗尽的情况下初始化设置数据也不会丢失。
提示
对于 1999 年 9 月以后的无线电遥控钥匙,应注意即使在无消耗时充电电池也会自动放电。充电电池在约 1 年后会应完全放电。过度放电的充电电池必须充电约 30 小时,直至电量完全充满。
1999 年 9 月前生产的无线电遥控钥匙中,在钥匙壳上有一个红色 LED 指示灯,它可显示功能情况和无线电发射器中电池的状态。
通过自检可以测得无线电发射器电子系统是否工作正常。
同时持续按住按钮 ”后行李箱盖” 和按钮 ”联锁”,则可启动自检。
如果发射器正常,红色 LED 指示灯亮起 1 秒钟。
通过收音机 / TV 天线接收由无线电遥控钥匙发送的数据。一个天线带阻滤波器 (陷波电路) 将此无线电波与接收到的其他无线电波分离,并通过导线将其传送给基本模块。

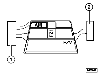
带 AM/FM 和带阻滤波器的后窗天线
1 |
用于收音机接收的 AM/FM 功率放大器 |
2 |
用于无线电遥控操作信号的带阻滤波器 (陷波电路)。 |

带有择优多相式天线后窗天线 (特种装备 SA)、TV 天线 (特种装备 SA) 和带阻滤波器
1 |
用于收音机接收的多相择优天线盒 |
2 |
带有用于无线电遥控操作信号的集成式带阻滤波器 (陷波电路) 的收音机接收的 AM/FM 功率放大器。 |
TV |
用于电视接收的天线放大器和带阻滤波器 |
无线电信号在基本模块中检测并得到分析。执行有效的命令 (例如中控锁去联锁及防盗报警系统 (DWA) 消除戒备状态)。
接收器与天线一起安装在车内后视镜中。接收到的无线电信号由接收器通过 FZV 导线被传送至基本模块并进行结果分析。
对中控锁发射的命令的作用距离半径至少为 10m。
车窗升降机和活动天窗的便捷开启和便捷关闭的作用距离半径限制在约 5 m。为安全起见,应减小作用距离。
在初始化设置时要尽量减小作用距离,但车辆上功能必须可以被执行。为此发射器 (钥匙) 保持在天线 (衣帽架) 的方向。
通过初始化设置将无线电遥控钥匙与基本模块相匹配。在初始化设置时在无线电遥控钥匙中会产生一个代码,并被发送到基本模块。此代码被存储在无线电遥控钥匙和基本模块。根据此编码基本模块识别出分属于车辆的钥匙。只有这些钥匙发出的命令会被执行。
每辆车最多能对 4 把钥匙进行初始化设置。如果重新对一把钥匙进行初始化设置,则其他钥匙的代码都将被删除。因此一辆车的所有钥匙必须总是同时进行初始化设置。
无线电遥控钥匙的初始化设置在汽车内进行。
对其他钥匙进行初始化设置时,应从第 3 点开始重复此后步骤 (= 按下并按住钥匙上的按钮 ”解除联锁”)。不允许改变总线端 Kl. R。
接通总线端 Kl. R 会中断初始化设置。
提示
无线电遥控钥匙中的存储器与电压无关,这样可确保,即使在电池耗尽的情况下初始化设置数据也不会丢失。