Ab Modelljahr 1996 ist die Funkfernbedienung im Grundmodul der ZKE III integriert. Als Antenne wird die, in der Heckscheibe integrierte Antenne für das Radio verwendet.
Die Trennung der Funksignale erfolgt in einem Antennensperrfilter. Der Sperrfilter überträgt die Signale des Funkschlüssels über eine Datenleitung an das Grundmodul.
Sämtliche Funktelegramme sind verschlüsselt und senden einen ständig wechselnden Code, so daß Manipulationen und damit unberechtigtes Öffnen des Fahrzeuges unterbunden sind.
Wegen unterschiedlicher Zulassungsbestimmungen für Funkgeräte in den Ländern, gibt es zwei verschiedene Versionen für Sender und Sperrfilter.
Für alle europäischen Länder (EUR-Version)
In erster Linie für USA, Kanada und Australien bestimmt.
Es müssen zwei grundlegende Ausführungen von Funkschlüsseln unterschieden werden:

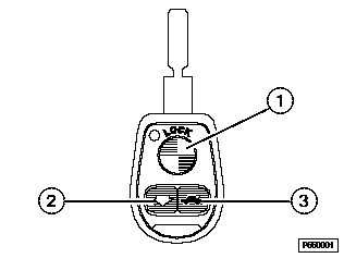
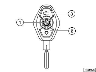
Funkschlüssel ECE-Ausführung, 433MHz

Funkschlüssel US-Ausführung, 315 MHz

Funkschlüssel mit Akku. Optisch gleiche Ausführung für 433 MHz und 315 MHz. Die gültige Frequenz ist auf der Rückseite aufgedruckt.
Über drei Tasten auf dem Schlüssel werden, auch in Abhängigkeit von der Dauer des Tastendruckes, verschiedene Aktionen am Fahrzeug ausgelöst.
Um Manipulationen am System zu unterbinden sind alle Funkbefehle über einen ständig wechselnden Code verschlüsselt.
Wird während des Komfortöffnens/-schließens der Fenster die Übertragung der Funkbefehle gestört, so wird die Funktion am Fahrzeug aus Sicherheitsgründen sofort abgebrochen. Für eine Wiederaufnahme der Komfortbedienung muß die entsprechende Taste am Funkschlüssel losgelassen und erneut gedrückt werden.
Im Funkschlüssel wird der Ladezustand der Batterie bzw. des Akkus beim Betätigen einer Taste überwacht.
Erreicht die Spannung einen unteren Grenzwert, so meldet der Funkschlüssel dem Grundmodul den Batteriezustand. Das Grundmodul verarbeitet diese Meldung wie folgt:
Beim Auftreten einer Unterspannung muss:
Hinweis
Bei Funkschlüsseln ab 9/99 mit Akku ist zu beachten, dass bei Nichtgebrauch eine, bei Akkus übliche, Selbstentladung erfolgt. Der Akku ist nach ca. 1 Jahr entladen. Ein tiefentladener Akku muss ca. 30 Stunden geladen werden bis er wieder die volle Kapazität hat.
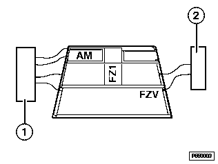
Die vom Funkschlüssel gesendeten Daten werden über die Radio-/TV-antenne empfangen. Ein Antennensperrfilter (Sperrkreis) trennt diese Funkwellen von anderen empfangenen Funkwellen und überträgt sie über eine Leitung an das Grundmodul der ZKE III

Heckscheibenantenne mit AM/FM und Sperrfilter
1 |
AM/FM-Verstärker für Radioempfang |
2 |
Sperrfilter (Sperrkreis) für Funkfernbedienungssignal. |

Heckscheibenantenne mit Antennendiversity (bei E39 Sonderausstattung), TV-Antenne (Sonderausstattung) und Sperrfilter
1 |
Diversitybox für Radioempfang |
2 |
AM/FM-Verstärker für Radioempfang mit integriertem Sperrfilter (Sperrkreis) für Funkfernbedienungssignal. |
TV |
Antennenverstärker und Sperrfilter für Fernsehempfang |
Im Grundmodul werden die Funksignale geprüft und ausgewertet. Gültige Befehle werden ausgeführt (z.B. Zentralverriegelung entriegeln und DWA entschärfen).
Der Radius der Reichweite beträgt für die Befehle an die Zentralverriegelung mindestens 10 m.
Für das Komfortöffnen und Komfortschließen der Fensterheber und des Schiebehebedachs wird die Reichweite auf einen Radius von ca. 5 m begrenzt. Die Reduzierung der Reichweite wird aus Sicherheitsgründen vorgenommen.
Beim Initialisieren ist die Reichweite so weit reduziert, das die Funktion im Fahrzeug durchgeführt werden muß, wobei der Sender (Schlüssel) in Richtung Antenne zu halten ist.
Bei den Funkschlüsseln von 9/96 bis 9/99 ist im Schlüsselgehäuse ist eine rote LED eingebaut, die die Funktion und den Batteriezustand im Funksender anzeigt.
Mit einem Selbsttest kann geprüft werden, ob die Senderelektronik fehlerfrei arbeitet.
Der Selbsttest wird gestartet, indem die Taste "Heckklappe" und Taste "Verriegeln" gleichzeitig gedrückt und gehalten wird.
Wenn der Sender fehlerfrei ist leuchtet die rote LED für 1 Sekunde auf.
Mit dem Initialisieren werden die Funkschlüssel dem Grundmodul zugeordnet. Im Funkschlüssel wird beim Initialisieren ein Code gebildet und an das Grundmodul gesendet. Der Code wird im Schlüssel und im Grundmodul gespeichert. Anhand dieses Codes erkennt das Grundmodul die zur Anlage gehörenden Schlüssel. Nur von diesen Schlüsseln werden Befehle ausgeführt.
Pro Fahrzeug können maximal 4 Schlüssel initialisiert werden. Wird ein Schlüssel neu initialisiert, werden die Codes der anderen Schlüssel gelöscht. Es müssen also immer alle Schlüssel einer Anlage gleichzeitig initialisiert werden.
Die Initialisierung der Funkschlüssel im Fahrzeuginneren durchführen.
Zum Initialisieren der weiteren Schlüssel den Vorgang ab Punkt 3 wiederholgen (= Taste "Entriegeln" am Schlüssel drücken und festhalten). Die Klemme R darf nicht verändert werden.
Das Einschalten der Klemme R führt zum Abbruch der Initialisierung.
Hinweis
Bei Funkschlüsseln bis 9/96 (mit zwei Batterien) geht der, im Funkschlüssel gespeicherte Code verloren, wenn der Funkschlüssel längere Zeit ohne Spannungsversorgung ist. Ein Auswechslen der Schlüsselbatterien sollte deshalb innerhalb von 1-2 Minuten erfolgen.