Um die Rückfahrkamera zu kalibrieren, müssen die dargestellten Linien im Bild an die richtige Position auf dem Target gebracht werden. Die Kalibrierung benötigt einen definierten Fahrzeugzustand.
Bei der Kalibrierung wird die Vollbilddarstellung automatisch aktiviert!
Das Target laut Reparaturanweisung an der Hinterachse befestigen.
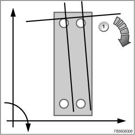
Schritt 1: Die Verdrehung korrigieren. Dazu die Linien so lange rotieren, bis diese parallel zu den Kreisen auf dem Target liegen.

Schritt 2:Verschieben der vertikalen Linien auf der x-Achse. Die Linien so lange nach links bzw. rechts verschieben, bis diese durch die vier Kreise gehen. Im Beispiel unten, müssen die Linien nach links verschoben werden.
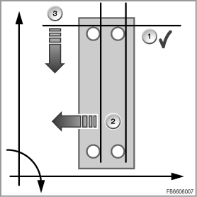
Schritt 3:Die horizontale Linie auf der y-Achse. Die Linie nach oben bzw. nach unten bewegen, bis die Schnittpunkte mit den vertikalen Linien in den oberen Kreisen liegen. In der Grafik unten muss die Linie nach unten verschoben werden.

Am Ende der Kalibrierung müssen die Linien durch die Mittelpunkte der Kreise gehen. Die optimale Ausrichtung der Linien ist dann erreicht, wenn die inneren Bereiche der Kreise um die Linien gleich start durchscheinen. Die eingestellten Kalibrierwerte werden mit der Bestätigung der in die Kamera übernommen.
