Bei einem neuen Radarsensor (ACC2 oder Fernbereichssensor LRR Long Range Radar ab 03/2007) ist keine Grobeinstellung erforderlich! Die Einstellschrauben eines neuen Sensors sind werkseitig eingestellt und dürfen nicht verändert werden!
Vor dem Einbau prüfen, ob der Halter für den Sensor beschädigt oder verbogen ist. Beschädigte Halter müssen erneuert werden.
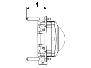
Nachfolgend sind die Basismaße für alle 3 Schrauben (Einstellschrauben und Festlager) am Sensor angegeben. Weichen bei einem gebrauchten Sensor die Istmaße stark von den Sollmaßen ab, kann es vorkommen, dass keine Feineinstellung des Sensors möglich ist. In diesem Fall alle 3 Schrauben am Sensor auf das angegebene Maß (Maß 1) einstellen.

Maß 1: 43 mm +/- 0,5 mm
Nach der Grobeinstellung muss in jedem Fall eine Feineinstellung erfolgen!