A partir de l'année modèle 1996, la télécommande radio est intégrée au module de base de l'électronique ZKE III. L'antenne utilisée est l'antenne d'autoradio intégrée à la lunette arrière.
La séparation des signaux radio est assurée par un filtre d'arrêt d'antenne. Ce filtre d'arrêt transmet les signaux de la clé émettrice au module de base par l'intermédiaire d'une ligne de données.
Tous les télégrammes radio sont cryptés et émettent un code changeant en permanence, ce qui empêche toute manipulation et donc l'ouverture illicite du véhicule.
En raison des différentes dispositions en matière d'homologation des appareils radio dans les différents pays, il existe deux versions différentes de l'émetteur et du filtre d'arrêt.
Pour tous les pays européens (version EUR)
Définie en premier lieu pour les USA, Canada et Australie.
Il faut distinguer deux versions fondamentales de clés à émetteur :

Clé émettrice version CEE, 433 MHz

Clé émettrice version USA, 315 MHz

Clé à émetteur avec accu. Version visuellement identique pour 433 MHz et 315 MHz. La fréquence valable est imprimée au dos de la clé.
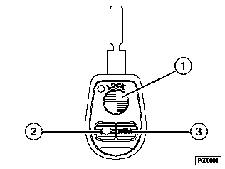
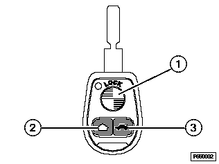
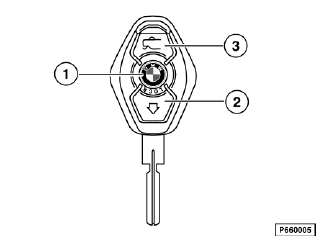
Trois touches disposées sur la clé permettent de déclencher diverses actions sur le véhicule, également en fonction de la durée de pression sur les touches.
Pour empêcher toute manipulation du système, toutes les commandes radio sont cryptées par un code changeant en permanence.
Si la transmission des commandes radio est perturbée pendant l'ouverture/fermeture confort des vitres, la fonction est immédiatement interrompue sur le véhicule pour des raisons de sécurité. Pour reprendre la commande confort, il faut relâcher la touche correspondante sur la clé émettrice et rappuyer sur la touche.
L'état de charge de la pile ou de l'accu est contrôlé sur la clé émettrice à l'actionnement d'une touche.
Si la tension atteint une valeur limite inférieure, la clé émettrice communique l'état des piles au module de base. Le module de base traite ce message de la façon suivante :
A l'apparition d'une sous-tension, il faut :
Remarque
Il est à noter sur les clés à émetteur doté d'un accu depuis 9/99 que la non-utilisation de la clé entraîne une décharge spontanée normale de l'accu. L'accu est déchargé au bout de 1 an environ. En cas de décharge profonde, l'accu doit être rechargé pendant env. 30 heures avant de retrouver sa pleine capacité.
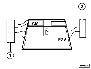
Les données envoyées par la clé à émetteur radio sont reçus par l'antenne Radio/TV. Un filtre d'arrêt d'antenne (circuit bouchon) sépare ces ondes radio des autres ondes radio reçues et les transmet au module de base de l'électronique ZKE III par une ligne.

Antenne de lunette arrière avec AM/FM et filtre d'arrêt
1 |
Amplificateur AM/FM pour la réception autoradio |
2 |
Filtre d'arrêt (circuit bouchon) pour le signal de la télécommande radio. |

Antenne de lunette arrière avec diversity d'antenne (en option sur E39), antenne TV (option) et filtre d'arrêt
1 |
Boîtier diversity pour réception autoradio |
2 |
Amplificateur AM/FM pour réception autoradio avec filtre d'arrêt intégré (circuit bouchon) pour signal de la télécommande radio. |
TV |
Amplificateur d'antenne et filtre d'arrêt pour réception TV |
Le module de base contrôle et exploite les signaux radio. Les commandes valides sont exécutées (par exemple déverrouillage centralisé et désarmement de l'alarme antivol).
La portée est d'au moins 10 m pour les commandes envoyées au verrouillage centralisé.
Pour l'ouverture confort et la fermeture confort des lève-vitres et du toit ouvrant, la portée est limitée à un rayon d'env. 5 m. Cette réduction de la portée s'explique par des raisons de sécurité.
A l'initialisation, la portée est réduite à un point tel que la fonction doit être réalisée depuis l'intérieur du véhicule, l'émetteur (clé) étant dirigé vers l'antenne.
Sur les clés à émetteur fabriquées entre 9/96 et 9/99, une diode rouge incorporée au boîtier de la clé indique le fonctionnement et l'état de la pile à l'intérieur de l'émetteur radio.
Un autotest permet de contrôler si l'électronique de la transmission fonctionne parfaitement.
L'autotest démarre lorsque la touche "capot arrière" et la touche "verrouillage" sont actionnées et maintenues enfoncées simultanément.
Si l'émetteur fonctionne parfaitement, la LED rouge s'allume pendant 1 seconde.
L'initialisation permet de faire correspondre la clé émettrice et le module de base. Au cours de l'initialisation, un code est généré par la clé émettrice puis envoyé au module de base. Ce code est mémorisé à l'intérieur de la clé et du module de base. C'est à l'aide de ce code que le module de base reconnaît les clés appartenant à l'installation. Seules les commandes émises par ces clés sont exécutées.
Un maximum de 4 clés peuvent être initialisées par véhicule. Si une clé est réinitialisée, les codes des autres clés sont effacés. Il faut par conséquent toujours initialiser toutes les clés d'une même installation en même temps.
Procéder à l'initialisation des clés émettrices depuis l'intérieur du véhicule.
Pour initialiser les autres clés, reprendre le processus à partir du point 3 (= appuyer sur la touche "Déverrouillage" de la clé et la tenir enfoncée). La borne R ne doit pas être manipulée.
La mise sous tension de la borne R entraîne l'interruption de l'initialisation.
Remarque
Sur les clés à émetteur fabriquées jusqu'à 9/96 (avec deux piles) le code mémorisé dans la clé est perdu si la clé reste un certain temps sans alimentation électrique. Le changement des piles de la clé doit par conséquent se faire en moins de 1 à 2 minutes.