Les nouveaux capteurs radar (ACC2 ou capteur longue portée LRR Long Range Radar ab 03/2007) ne nécessitent aucun réglage grossier ! Les vis de réglage d'un capteur neuf sont réglées au départ usine. Le réglage des vis ne doit en aucun cas être modifié !
Contrôler avant de procéder au montage si le support du capteur est endommagé ou déformé. Tout support endommagé doit être remplacé.
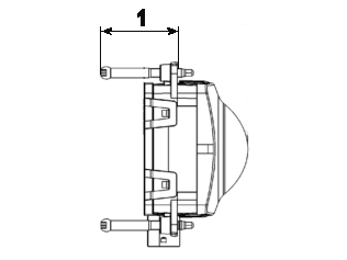
Ci-après sont précisées les cotes de base pour les 3 vis du capteur (vis de réglage et pivot fixe). Si, sur un capteur non neuf, la valeur réelle diffère fortement de la valeur de consigne, il se peut que tout réglage fin du capteur soit impossible. Dans pareil cas, régler les 3 vis du capteur radar à la cote indiquée (cote 1).

Valeur 1 : 43 mm +/- 0,5 mm
Après le réglage grossier, il faut toujours effectuer un réglage fin !