La télécommande radio est intégrée fonctionnellement dans le module de base ZKE. Sur les E46 Berline, Touring, Coupé et E83 X3, l'antenne utilisée est l'antenne intégrée dans la lunette arrière. Sur le modèle E46 Cabriolet, E52 Z8 et E85 Z4, l'antenne est logée dans le rétroviseur intérieur.
La séparation des signaux radio est assurée par un filtre d'arrêt d'antenne. Ce filtre d'arrêt transmet les signaux de la clé émettrice au module de base par l'intermédiaire d'une ligne de données.
Tous les télégrammes radio sont cryptés et envoient un code variable en continu, empêchant ainsi toute manipulation et ouverture illicite du véhicule.
En raison des différentes dispositions en matière d'homologation des appareils radio dans les différents pays, il existe deux versions différentes de l'émetteur et du filtre d'arrêt.
Pour tous les pays européens (version EUR)
Définie en premier lieu pour les USA, Canada et Australie.
Il faut distinguer deux versions fondamentales de clés à émetteur :
Vous trouverez ci-dessous les différentes clés à émetteur radio ainsi que leurs différentes versions.

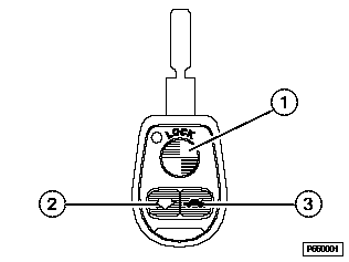
Clé à émetteur avec pile interchangeable, version 433 MHz

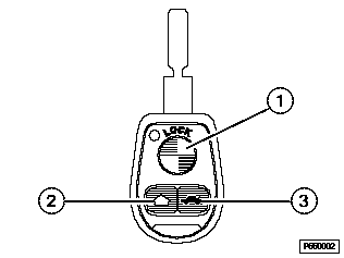
Clé à émetteur avec pile interchangeable, version 315 MHz

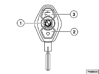
Clé à émetteur avec batterie. Version visuellement identique pour 433 MHz et 315 MHz. La fréquence valable est imprimée au dos de la clé.
Trois touches disposées sur la clé permettent de déclencher diverses actions sur le véhicule, également en fonction de la durée de pression sur les touches.
Pour empêcher toute manipulation du système, toutes les commandes radio sont cryptées par un code variable en continu.
Si la transmission des commandes radio est perturbée pendant l'ouverture/fermeture confort des vitres, la fonction est immédiatement interrompue sur le véhicule pour des raisons de sécurité. Pour reprendre la commande de confort, il faut relâcher la touche correspondante sur la clé à émetteur radio et la presser à nouveau.
Pour empêcher toute action intempestive sur une touche et l'exécution de l'ordre correspondant de la télécommande, la télécommande est désactivée à l'intérieur du module de base lorsque la clé du véhicule est insérée dans la serrure de contact. Le module de base reçoit le message ”clé introduite” de la part du calculateur EWS.
L'état de charge de la pile ou de la batterie est contrôlé sur la clé émettrice à l'actionnement d'une touche.
Si la tension atteint une valeur limite inférieure, la clé émettrice communique l'état des piles au module de base. Le module de base traite ce message de la façon suivante :
A l'apparition d'une sous-tension, il faut :
Un accumulateur indépendant de la tension à l'intérieur de la clé à émetteur radio garantit aussi que les données d'initialisation ne sont pas perdues lorsque la pile ou la batterie sont vides.
Remarque
Il est à noter sur les clés à émetteur doté d'une batterie depuis 9/99 que la non-utilisation de la clé entraîne une décharge spontanée normale de la batterie. La batterie est déchargée au bout de 1 an environ. Toute batterie ayant subi une décharge profonde doit être rechargée pendant env. 30 heures avant de retrouver sa pleine capacité.
Sur les clés à émetteur fabriquées jusqu'à 9/99, une diode rouge incorporée au boîtier de la clé indique le fonctionnement et l'état de la pile à l'intérieur de l'émetteur radio.
Un autotest permet de contrôler si l'électronique de la transmission fonctionne parfaitement.
L'autotest démarre lorsque la touche ”capot arrière” et la touche ”verrouillage” sont actionnées et maintenues enfoncées simultanément.
Si l'émetteur fonctionne parfaitement, la LED rouge s'allume pendant 1 seconde.
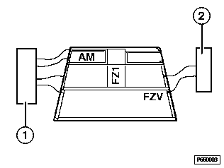
Les données envoyées par la clé à émetteur radio sont reçus par l'antenne Radio-TV. Un filtre d'arrêt d'antenne (circuit bouchon) sépare ces ondes radio des autres ondes radio reçues et les transmet au module de base de l'électronique par une ligne.

Antenne de lunette arrière avec AM/FM et filtre d'arrêt
1 |
Amplificateur AM/FM pour la réception autoradio |
2 |
Filtre d'arrêt (circuit bouchon) pour le signal de la télécommande radio. |

Antenne de lunette arrière avec diversity d'antenne (option), antenne TV (option) et filtre d'arrêt
1 |
Boîtier diversity pour réception autoradio |
2 |
Amplificateur AM/FM pour réception autoradio avec filtre d'arrêt intégré (circuit bouchon) pour signal de la télécommande radio. |
TV |
Amplificateur d'antenne et filtre d'arrêt pour réception TV |
Le module de base contrôle et exploite les signaux radio. Les commandes valides sont exécutées (par exemple déverrouillage centralisé et désarmement de l'alarme antivol).
Le récepteur est logé avec l'antenne dans le rétroviseur intérieur. Les signaux radio reçus sont retransmis par le récepteur via la ligne FZV au module de base qui les analyse.
La portée est d'au moins 10 m pour les commandes envoyées au verrouillage centralisé.
Pour l'ouverture confort et la fermeture confort des lève-vitres et du toit ouvrant, la portée est limitée à un rayon d'env. 5 m. Cette réduction de la portée s'explique par des raisons de sécurité.
Au cours de l'initialisation, la portée est réduite au point qu'il est nécessaire de réaliser la fonction sur le véhicule, l'émetteur (clé) devant être maintenue en direction de l'antenne.
L'initialisation permet de faire correspondre la clé émettrice et le module de base. Au cours de l'initialisation, un code est généré par la clé émettrice puis envoyé au module de base. Ce code est mémorisé à l'intérieur de la clé et du module de base. C'est à l'aide de ce code que le module de base reconnaît les clés appartenant à l'installation. Seules les commandes émises par ces clés sont exécutées.
Un maximum de 4 clés peuvent être initialisées par véhicule. Si une clé est réinitialisée, les codes des autres clés sont effacés. Il faut par conséquent toujours initialiser toutes les clés d'une même installation en même temps.
Procéder à l'initialisation des clés émettrices depuis l'intérieur du véhicule.
Pour initialiser les autres clés, reprendre la procédure à partir du point 3 (= appuyer et maintenir la touche ”Déverrouillage” de la clé). La borne R ne doit pas être manipulée.
La mise sous tension de la borne R entraîne l'interruption de l'initialisation.
Remarque
Un accumulateur indépendant de la tension à l'intérieur de la clé à émetteur radio garantit aussi que les données d'initialisation ne sont pas perdues lorsque la pile ou la batterie sont vides.