Από το έτος μοντέλου 1996 έχει ενσωματωθεί ο τηλεχειρισμός με ραδιοκύματα στην κεντρική μονάδα ελέγχου του ZKE III. Σαν κεραία χρησιμοποιείται η κεραία που έχει ενσωματωθεί στο πίσω παρμπρίζ για το ραδιόφωνο.
Ο διαχωρισμός των ραδιοσημάτων επιτυγχάνεται σε ένα φίλτρο φραγής της κεραίας. Το φίλτρο γραφής μεταδίδει τα σήματα του ραδιοελεγχόμενου κλειδιού μέσω ενος αγωγού στοιχείων στην κεντρική μονάδα ελέγχου.
Όλα τα ραδιοτηλεγραφήματα είναι κρυπτογραφημένα και στέλνουν ένα κωδικό που αλλάζει συνεχώς, ώστε να εμποδίζονται οι παράνομοι χειρισμοί και το ανεπίτρεπτο άνοιγμα του οχήματος.
Λόγω διαφορετικών διατάξεων έγκρισης αδείας για τις ραδιοσυσκευές στις διάφορες χώρες, υπάρχουν δύο διαφορετικές εκδόσεις για τον πομπό και το φίλτρο φραγής.
Για όλες τις ευρωπαϊκές χώρες (έκδοση EUR)
Προορίζεται κυρίως για τις ΗΠΑ, τον Καναδά και την Αυστραλία.
Υπάρχουν δύο βασικές εκδόσεις ραδιοελεγχόμενων κλειδιών, οι οποίες διαφέρουν μεταξύ τους:

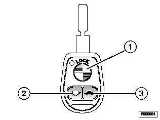
Ραδιοελεγχόμενο κλειδί έκδοσης ECE, 433 MHz

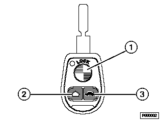
Ραδιοελεγχόμενο κλειδί έκδοσης ΗΠΑ, 315 MHz

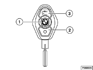
Ραδιοελεγχόμενο κλειδί με συσσωρευτή. Οπτικά η ίδια έκδοση για τα 433 MHz και τα 315 MHz. Η έγκυρη συχνότητα είναι τυπωμένη πάνω στην πίσω πίσω πλευρά.
Μέσω τριών πλήκτρων πάνω στο κλειδί ενεργοποιούνται διάφορες λειτουργίες στο αυτοκίνητο, οι οποίες επίσης εξαρτώνται και από τη διάρκεια του πατήματος του πλήκτρου.
Για την αποφυγή των ανεπίτρεπτων επεμβάσεων στο σύστημα όλες οι ραδιοελεγχόμενες εντολές είναι κρυπτογραφημένες με ένα κωδικό που αλλάζει συνεχώς.
Αν κατά τη διάρκεια του άνετου ανοίγματος/κλεισίματος των παράθυρων παρουσιαστεί μία βλάβη στη μετάδοση των ραδιοελεγχόμενων εντολών, τότε διακόπτεται αμέσως η λειτουργία στο όχημα για λόγους ασφαλείας. Για τη συνέχιση του άνετου χειρισμού πρέπει να αφήσετε πρώτα το αντίστοιχο πλήκτρο στο ραδιοελεγχόμενο κλειδί και να το πατήσετε ξανά πάλ.
Στο ραδιοελεγχόμενο κλειδί επιτηρείται η κατάσταση φόρτισης των μπαταριών ή του συσσωρευτή κατά την ενεργοποίηση ενός πλήκτρου.
Αν η τάση φτάσει σε μία χαμηλή οριακή τιμή, τότε το ραδιοελεγχόμενο κλειδί ανακοινώνει στην κεντρική μονάδα ελέγχου την κατάσταση της μπαταρίας. Η κεντρική μονάδα ελέγχου επεξεργάζεται αυτή την αναγγελία ως εξής:
Κατά την εμφάνιση μίας υπότασης πρέπει:
Υπόδειξη
Σε ραδιοελεγχόμενα κλειδιά από 9/99 με συσσωρευτή πρέπει να ληφθεί υπόψη ότι σε περίπτωση μη χρήσης εκφορτίζεται ο συσσωρευτής από μόνος του. Ο συσσωρευτής εκφορτίζεται μετά από περ. 1 χρόνο. Ένας συσσωρευτής που έχει εκφορτιστεί σχεδόν τελείως, πρέπει να φορτιστεί περ. για 30 ώρες για να αποκτήσει πάλι την πλήρη χωρητικότητα.
Τα στοιχεία που στέλνονται από το ραδιοελεγχόμενο κλειδί λαμβάνονται μέσω της κεραίας ραδιοφώνου-τηλεόρασης. Ένα φίλτρο φραγής της κεραίας (κύκλωμα φραγής) διαχωρίζει αυτά τα ραδιοκύματα από άλλα λαμβανόμενα ραδιοκύματα και τα μεταδίδει μέσω ενός αγωγού στην κεντρική μονάδα ελέγχου του ZKE III.

Αντένα στο πίσω παρμπρίζ με AM/FM και φίλτρο φραγής
1 |
Ενισχυτής AM/FM για τη ραδιολήψη |
2 |
Φίλτρο φραγής (κύκλωμα φραγής) για το σήμα τηλεχειρισμού με ραδιοκύματα. |

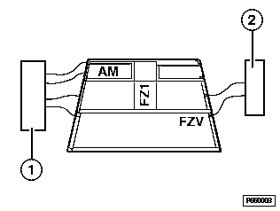
Αντένα στο πίσω παρμπρίζ με κεραία μείωσης διαλείψεων (στο E39 προαιρετικός εξοπλισμός), κεραια TV (προαιρετικός εξοπλισμός) και φίλτρο φραγής
1 |
Κουτί μείωσης διαλείψεων για τη ραδιολήψη |
2 |
Ενισχυτής AM/FM για τη ραδιολήψη με ενσωματωμένο φίλτρο φραγής (κύκλωμα φραγής) για το σήμα τηλεχειρισμού με ραδιοκύματα. |
TV |
Ενισχυτής κεραίας και φίλτρο φραγής για την τηλεοπτική λήψη |
Στην κεντρική μονάδα ελέγχου ελέγχονται και αξιολογούνται τα ραδιοσήματα. Εκεί εκτελούνται οι έγκυρες εντολές (π.χ. απασφάλιση κεντρικού κλειδώματος και απενεργοποίηση αντικλεπτικού συστήματος συναγερμού).
Η ακτίνα της εμβέλειας ανέρχεται για τις εντολή στο κεντρικό κλείδωμα τουλάχιστον σε 10 m.
Για το άνετο άνοιγμα και το άνετο κλείσιμο των ηλεκτρικών παράθυρων και της συρόμενης-ανοιγόμενης οροφής περιορίζεται η εμβέλεια στην ακτίνα των περ. 5 m. Η μείωση της εμβέλειας πραγματοποιείται για λόγους ασφαλείας.
Κατά τον καθορισμό των αρχικών παραμέτρων μειώνεται η εμβέλεια τόσο πολύ, ώστε να πρέπει να πραγματοποιηθεί η λειτουργία στο όχημα, όπου ο πομπός (κλειδί) πρέπει να κρατιέται προς την κατεύθυνση της κεραίας.
Στα ραδιοελεγχόμενα κλειδιά από 9/96 μέχρι 9/99 έχει τοποθετηθεί στο περίβλημα του κλειδιού μία κόκκινη φωτοδίοδος, η οποία απεικονίζει τη λειτουργία και την κατάσταση της μπαταρίας στο ραδιοπομπό.
Με ένα αυτοέλεγχο μπορεί να ελεγχθεί, αν λειτουργεί χωρίς σφάλματα το ηλεκτρονικό σύστημα του πομπού.
Ο αυτοέλεγχος ξεκινάει με το ταυτόχρονο πάτημα και το κράτημα του πλήκτρου "πίσω καπό" και του πλήκτρου "κλείδωμα".
Όταν ο πομπός δεν παρουσιάζει σφάλματα τότε ανάβει η κόκκινη φωτοδίοδος για 1 δευτερόλεπτο.
Με τον καθορισμό αρχικών παραμέτρων κατατάσσονται τα ραδιοελεγχόμενα κλειδιά στην κεντρική μονάδα ελέγχου. Στο ραδιοελεγχόμενο κλειδί δημιουργείται κατά τον καθορισμό αρχικών παραμέτρων ένας κωδικός, που στέλνεται στην κεντρική μονάδα ελέγχου. Ο κωδικός αποθηκεύεται στο κλειδί και στην κεντρική μονάδα ελέγχου. Βάσει αυτού του κωδικού αναγνωρίζει η κεντρική μονάδα ελέγχου τα κλειδιά που ανήκουν στην εγκατάσταση. Μόνο από αυτά τα κλειδιά εκτελούνται οι εντολές.
Σε κάθε όχημα μπορούν να αρχικοποιηθούν το πολύ 4 κλειδιά. Αν ένα κλειδί αρχικοποιηθεί ξανά, τότε διαγράφονται οι κωδικοί των άλλων κλειδιών. Όλα τα κλειδιά μίας εγκατάστασης πρέπει λοιπόν πάντα να αρχικοποιούνται ταυτόχρονα.
Πραγματοποιείστε τον καθορισμό αρχικών παραμέτρων των ραδιοελεγχόμενων κλειδιών στο εσωτερικό του οχήματος.
Για τον καθορισμό αρχικών παραμέτρων των επιπλέον κλειδιών επαναλάβετε τη διαδικασία από το σημείο 3 (= πιέσατε το πλήκτρο "Κλείδωμα" στο κλειδί και κρατήστε το σταθερά). Ο ακροδέκτης R δεν επιτρέπεται να μετατραπεί.
Η ενεργοποίηση του ακροδέκτη R οδηγεί στον τερματισμό του καθορισμού αρχικών παραμέτρων.
Υπόδειξη
Σε ραδιοελεγχόμενα κλειδιά μέχρι 9/96 (με δύο μπαταρίες) χάνεται ο κωδικός που είναι αποθηκευμένος στο ραδιοελεγχόμενο κλειδί, όταν το ραδιοελεγχόμενο κλειδί παραμείνει για μεγάλο χρονικό διάστημα χωρίς παροχή ρεύματος. Η αντικατάσταση των μπαταριών πρέπει για αυτό να πραγματοποιηθεί μέσα σε 1-2 λεπτά.