Ο τηλεχειρισμός με ραδιοκύματα είναι ενσωματωμένος λειτουργικά στην Βασική Μονάδα του ZKE. Στο Ε46 Sedan, στο Touring και στο Coupe και E83 X3 χρησιμοποιείται σαν κεραία αυτή που έχει ενσωματωθεί στο πίσω παρμπρίζ. Στα E46 Cabrio E52 Z8 και E85 Z4 η κεραία βρίσκεται στον εσωτερικό καθρέπτη.
Ο διαχωρισμός των ραδιοσημάτων επιτυγχάνεται σε ένα φίλτρο φραγής κεραίας. Το φίλτρο φραγής μεταδίδει τα σήματα του τηλεχειριστήριου κλειδιού μέσω μιας γραμμής δεδομένων στην Βασική Μονάδα.
Όλα τα ραδιοτηλεγράφημα είναι κρυπτογραφημένα και στέλνουν ένα κωδικό που αλλάζει συνεχώς, ώστε να εμποδίζονται οι παράνομοι χειρισμοί και το ανεπίτρεπτο άνοιγμα του αυτοκινήτου.
Λόγω διαφορετικών διατάξεων έγκρισης για τις ραδιοσυσκευές στις διάφορες χώρες, υπάρχουν δύο διαφορετικές εκδόσεις για τον πομπό και το φίλτρο φραγής.
Για όλες τις ευρωπαϊκές χώρες (έκδοση EUR)
Προορίζεται κυρίως για τις ΗΠΑ, τον Καναδά και την Αυστραλία.
Υπάρχουν δύο βασικές εκδόσεις κλειδιών με τηλεχειριστήριο, οι οποίες διαφέρουν μεταξύ τους:
Στη συνέχεια παρουσιάζονται τα διαφορετικά κλειδιά με τηλεχειριστήριο, όπως και οι διαφορετικές εκδόσεις.

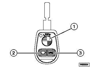
Κλειδί με τηλεχειριστήριο με μπαταρία που αντικαθίσταται, έκδοση 433 MHz

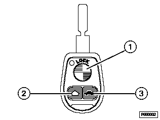
Κλειδί με τηλεχειριστήριο με μπαταρία που αντικαθίσταται, έκδοση 315 MHz

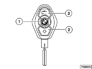
Κλειδί με τηλεχειριστήριο με επαναφορτιζόμενη μπαταρία. Οπτικά η ίδια έκδοση για τα 433 MHz και τα 315 MHz. Η έγκυρη συχνότητα είναι τυπωμένη πάνω στην πίσω πλευρά.
Μέσω τριών πλήκτρων πάνω στο κλειδί ενεργοποιούνται διάφορες λειτουργίες στο αυτοκίνητο, οι οποίες επίσης εξαρτώνται και από τη διάρκεια του πατήματος του πλήκτρου.
Για την αποφυγή των ανεπίτρεπτων επεμβάσεων στο σύστημα όλες οι εντολές τηλεχειρισμού είναι κρυπτογραφημένες με ένα κωδικό που αλλάζει συνεχώς.
Αν κατά τη διάρκεια του άνετου ανοίγματος/κλεισίματος των παραθύρων παρουσιαστεί μία βλάβη στη μετάδοση των εντολών τηλεχειρισμού, τότε διακόπτεται αμέσως η λειτουργία στο αυτοκίνητο για λόγους ασφαλείας. Για τη συνέχιση του άνετου χειρισμού πρέπει να αφήσετε πρώτα το αντίστοιχο πλήκτρο στο τηλεχειριστήριο του κλειδιού και να το πατήσετε ξανά πάλι.
Για να αποτραπούν τυχαία πατήματα πλήκτρων και οι εντολές τηλεχειρισμού που συνδέονται με αυτά, απενεργοποιείται το τηλεχειριστήριο στην Βασική Μονάδα, όταν το κλειδί του αυτοκινήτου βρίσκεται στο διακόπτη ανάφλεξης. Η Βασική Μονάδα λαμβάνει την μήνυμα ”Κλειδί στον διακόπτη” από τη μονάδα ελέγχου του EWS.
Στο κλειδί με τηλεχειριστήριο επιτηρείται η κατάσταση φορτίου της μπαταρίας ή της επαναφορτιζόμενης μπαταρίας κατά την ενεργοποίηση ενός πλήκτρου.
Αν η τάση φτάσει σε μία χαμηλή οριακή τιμή, τότε το κλειδί με τηλεχειριστήριο ενημερώνει την Βασική Μονάδα για την κατάσταση της μπαταρίας. Η Βασική Μονάδα επεξεργάζεται αυτό το μήνυμα ως εξής:
Κατά την εμφάνιση μίας υπότασης πρέπει:
Μία ανεξάρτητη από την τάση μνήμη στο τηλεχειριστήριο εξασφαλίζει ότι δεν θα διαγραφούν τα δεδομένα αρχικοποίησης σε μία άδεια μπαταρία/επαναφορτιζόμενη μπαταρία.
Υπόδειξη
Σε κλειδιά με τηλεχειριστήριο από 9/99 με επαναφορτιζόμενη μπαταρία πρέπει να ληφθεί υπόψη ότι σε περίπτωση μη χρήσης εκφορτίζεται η μπαταρία από μόνη της. Η μπαταρία έχει αδειάσει μετά από περίπου 1 χρόνο. Μια τελείως άδεια επαναφορτιζόμενη μπαταρία πρέπει να φορτιστεί για τουλάχιστον 30 ώρες μέχρι να αποκτήσει πλήρες φορτίο.
Σε κλειδιά με τηλεχειριστήριο μέχρι 9/99 έχει τοποθετηθεί στο περίβλημα του κλειδιού ένα κόκκινο LED, που δείχνει την λειτουργία και την κατάσταση της μπαταρίας στο ραδιοπομπό.
Με ένα αυτοέλεγχο μπορεί να ελεγχθεί, αν λειτουργούν χωρίς σφάλματα τα ηλεκτρονικά του πομπού.
Ο αυτοέλεγχος ξεκινάει με το ταυτόχρονο πάτημα και το κράτημα του πλήκτρου ”καπό χώρου αποσκευών” και του πλήκτρου ”κλείδωμα”.
Όταν ο πομπός δεν παρουσιάζει σφάλματα τότε ανάβει το κόκκινο LED για 1 δευτερόλεπτο.
Τα στοιχεία που στέλνονται από το τηλεχειριστήριο λαμβάνονται μέσω της κεραίας ραδιοφώνου-τηλεόρασης. Ένα φίλτρο φραγής της κεραίας (κύκλωμα φραγής) διαχωρίζει αυτά τα ραδιοκύματα από άλλα λαμβανόμενα ραδιοκύματα και τα μεταδίδει μέσω ενός αγωγού στην Βασική Μονάδα.

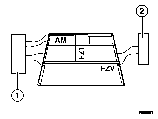
Κεραία στο πίσω παρμπρίζ με AM/FM και φίλτρο φραγής
1 |
Ενισχυτής AM/FM για λήψη ραδιοφώνου |
2 |
Φίλτρο φραγής (κύκλωμα φραγής) για το σήμα τηλεχειρισμού με ραδιοκύματα. |

Κεραία στο πίσω παρμπρίζ με διαφορική λήψη (προαιρετικός εξοπλισμός), κεραία TV (προαιρετικός εξοπλισμός) και φίλτρο φραγής
1 |
Κουτί διαφορική λήψης για το ραδιόφωνο |
2 |
Ενισχυτής AM/FM για λήψη ραδιοφώνου με ενσωματωμένο φίλτρο φραγής (κύκλωμα φραγής) για το σήμα τηλεχειρισμού με ραδιοκύματα. |
TV |
Ενισχυτής κεραίας και φίλτρο φραγής για την τηλεοπτική λήψη |
Στην Βασική Μονάδα ελέγχονται και αξιολογούνται τα ραδιοσήματα. Εκεί εκτελούνται οι έγκυρες εντολές (π.χ. απασφάλιση κεντρικού κλειδώματος και αφόπλιση αντικλεπτικού συστήματος συναγερμού).
Ο δέκτης είναι τοποθετημένος μαζί με την κεραία στον εσωτερικό καθρέπτη. Τα λαμβανόμενα ραδιοσήματα μεταδίδονται από το δέκτη μέσω της γραμμής FZV στην Βασική Μονάδα και αξιολογούνται εκεί.
Η ακτίνα εμβέλειας για την μετάδοση εντολών στο κεντρικό κλείδωμα είναι τουλάχιστον 10 m.
Για το άνετο άνοιγμα και το άνετο κλείσιμο των ηλεκτρικών παραθύρων και της συρόμενης-ανοιγόμενης οροφής περιορίζεται η ακτίνα εμβέλειας στα περίπου 5 m. Η μείωση της εμβέλειας πραγματοποιείται για λόγους ασφαλείας.
Κατά αρχικοποίηση μειώνεται η εμβέλεια τόσο πολύ, ώστε να πρέπει να πραγματοποιηθεί η λειτουργία στο όχημα, όπου ο πομπός (κλειδί) πρέπει να κρατιέται προς την κατεύθυνση της κεραίας.
Με την αρχικοποίηση αντιστοιχίζονται τα τηλεχειριστήρια στην Βασική Μονάδα. Στο τηλεχειριστήριο δημιουργείται κατά την αρχικοποίηση ένας κωδικός, που στέλνεται στην Βασική Μονάδα. Ο κωδικός αποθηκεύεται στο τηλεχειριστήριο και την Βασική μονάδα. Βάσει αυτού του κωδικού η Βασική Μονάδα αναγνωρίζει τα τηλεχειριστήρια που ανήκουν στην εγκατάσταση. Μόνο από αυτά τα τηλεχειριστήρια εκτελούνται οι εντολές.
Σε κάθε αυτοκίνητο μπορούν να αρχικοποιηθούν το πολύ 4 κλειδιά. Αν ένα κλειδί αρχικοποιηθεί ξανά, τότε διαγράφονται οι κωδικοί των άλλων κλειδιών. Όλα τα τηλεχειριστήρια μίας εγκατάστασης πρέπει λοιπόν πάντα να αρχικοποιούνται ταυτόχρονα.
Πραγματοποιείστε την αρχικοποίηση του τηλεχειριστηρίου.
Για αρχικοποίηση των επιπλέον κλειδιών επαναλάβετε τη διαδικασία από το σημείο 3 (= πιέστε το πλήκτρο ”Κλείδωμα” στο κλειδί και κρατήστε το πατημένο). Ο ακροδέκτης Kl. R δεν επιτρέπεται να αλλάξει.
Η ενεργοποίηση του ακροδέκτη Kl. R οδηγεί στον τερματισμό της αρχικοποίησης.
Υπόδειξη
Μία ανεξάρτητη από την τάση μνήμη στο τηλεχειριστήριο εξασφαλίζει ότι δεν θα διαγραφούν τα στοιχεία αρχικοποίησης σε μία άδεια μπαταρία ή επαναφορτιζόμενη μπαταρία.