Σε έναν καινούργιο αισθητήρα ραντάρ (ACC2 ή αισθητήρας μακρινής περιοχής LRR Long Range Radar από 03/2007) Δεν απαιτείται καμία χονδρική ρύθμιση! Οι ρυθμιστικές βίδες ενός καινούργιου αισθητήρα είναι ρυθμισμένες από το εργοστάσιο και δεν επιτρέπεται να μεταβληθούν!
Πριν από την τοποθέτηση θα πρέπει να ελεγχθεί, αν υπάρχει ζημιά ή έχει στραβώσει η βάση για τον αισθητήρα. Αν η βάση έχει ζημιά θα πρέπει να αντικατασταθεί με μια καινούργια.
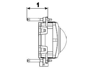
Παρακάτω δίνονται οι βασικές τιμές για όλες τις 3 βίδες (Βίδες ρύθμισης και στερέωσης) στον αισθητήρα. Αν σε έναν μεταχειρισμένο αισθητήρα υπάρχει έντονη απόκλιση ανάμεσα στην πραγματική τιμή και την ονομαστική τιμή, μπορεί να υπάρχει το ενδεχόμενο, να μην είναι δυνατή καμία ρύθμιση ακριβείας του αισθητήρα. Σε αυτή την περίπτωση θα πρέπει να ρυθμιστούν και οι 3 βίδες στον αισθητήρα στην παρεχόμενη τιμή (Τιμή 1).

Τιμή 1: 43 mm +/- 0,5 mm
Μετά την χονδρική ρύθμιση θα πρέπει σε κάθε περίπτωση να ακολουθήσει μια ρύθμιση ακριβείας!