Για να καλιμπραριστεί η κάμερα οπισθοπορείας, θα πρέπει να μετακινηθούν οι απεικονιζόμενες γραμμές στην εικόνα στη σωστή θέση στο στόχο. Το καλιμπράρισμα απαιτεί μια καθορισμένη κατάσταση του αυτοκινήτου.
Κατά το καλιμπράρισμα ενεργοποιείται αυτόματα η απεικόνιση πλήρους εικόνας!
Στερεώστε το στόχο στον πίσω άξονα σύμφωνα με τις οδηγίες επισκευής.
Βήμα 1: Διόρθωση της περιστροφής. Για το σκοπό αυτό περιστρέψτε τις γραμμές μέχρι να βρεθούν παράλληλα με τους κύκλους του στόχου.

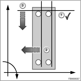
Βήμα 2:Μετακίνηση των κάθετων γραμμών στον άξονα χ. Μετακινήστε τις γραμμές προς τα αριστερά ή προς τα δεξιά μέχρι να διέρχονται μέσω των τεσσάρων κύκλων. Στο παράδειγμα κάτω, οι γραμμές πρέπει να μετακινηθούν προς τα αριστερά.
Βήμα 3:Οι οριζόντιες γραμμές στον άξονα υ. Μετακινήστε τη γραμμή προς τα πάνω ή προς τα κάτω, μέχρι το σημείο τομής με τις κάθετες γραμμές να βρίσκεται στον επάνω κύκλο. Στο γράφημα κάτω πρέπει η γραμμή να μετακινηθεί προς τα κάτω.

Στο τέλος του καλιμπραρίσματος οι γραμμές πρέπει να διέρχονται από το κέντρο του κύκλου. Η βέλτιστη διάταξη των γραμμών έχει επιτευχθεί, όταν το εσωτερικό μέρος των κύκλων εμφανίζεται να ξεκινά το ίδιο γύρο από τις γραμμές. Οι ρυθμισμένες τιμές καλιμπραρίσματος λαμβάνονται από την κάμερα μετά την επιβεβαίωση.
