A partire dal modello 1996, nel modulo di base della centralina ZKE III è integrata la funzione di comando a distanza. Come ricevitore viene utilizzata l'antenna dell'autoradio incorporata nel lunotto posteriore.
La separazione dei segnali radio avviene in un filtro eliminatore di banda contenuto nell'antenna. Il filtro eliminatore di banda trasmette al modulo di base i segnali della chiave di accesso tramite una linea dati.
Tutte le emissioni radio sono codificate ed il codice varia in continuazione per cui vengono evitate manipolazioni e quindi l'apertura non autorizzata della vettura.
A causa delle differenti norme di immatricolazione vigenti per gli apparecchi radiofonici nei vari Paesi, esistono due diverse versioni di trasmettitore e di filtro eliminatore di banda.
Per tutti i paesi europei (versione CEE)
Destinata soprattutto a USA, Canada e Australia.
Bisogna distinguere tra due versioni base della chiave a onde radio:

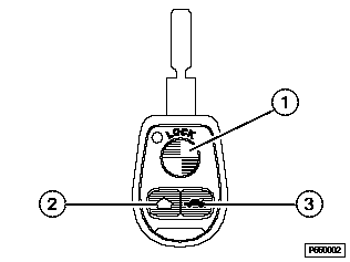
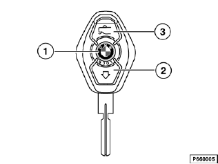
Chiave di accesso versione CEE, 433 MHz

Chiave di accesso versione USA, 315 MHz

Chiave con accumulatore. Caratteristiche estetiche uguali a quelle delle versioni 433 MHz e 315 MHz. La frequenza valida è impressa sul lato posteriore.
Mediante tre tasti sulla chiave si possono attivare diverse funzioni del veicolo, anche a seconda della durata della pressione sul tasto.
Per impedire manipolazioni del sistema, tutti i comandi radio sono codificati con un codice continuamente variato.
Se durante l'apertura/chiusura confort del finestrino si riscontra un disturbo nella trasmissione dei comandi, per motivi di sicurezza la funzione viene immediatamente interrotta. Per riattivare il comando confort bisogna rilasciare il tasto corrispondente sulla chiave e premerlo di nuovo.
Quando si preme un tasto, la chiave controlla lo stato di carica della batteria o dell'accumulatore al suo interno.
Se la tensione presenta un valore troppo basso, la chiave di accesso comunica al modulo di base la condizione di carica. Il modulo di base elabora questo messaggio come segue:
In caso di tensione inferiore alla norma, si deve fare quanto segue:
Avvertenza
Per le chiavi con accumulatore costruite dal 9/99 bisogna tenere presente che, come tutti gli accumulatori, anche questo tende a scaricarsi spontaneamente in caso d'inutilizzo. L'accumulatore si scarica in 1 anno circa. Un accumulatore molto scarico deve essere ricaricato per circa 30 ore fino a ripristinare la sua capacità totale.
I dati trasmessi dalla chiave di accesso vengono ricevuti mediante l'antenna radio/TV. Un filtro eliminatore di banda (circuito soppressore) separa queste onde radio dalle altre onde ricevute e le trasmette mediante un'apposita linea al modulo di base della ZKE III

Antenna sul lunotto posteriore con AM/FM e filtro eliminatore di banda
1 |
A Amplificatore AM/FM per ricezione radiofonica |
2 |
Filtro eliminatore di banda (circuito soppressore) per segnali di comando a distanza. |

Antenna sul lunotto con ricezione Diversity (equipaggiamento speciale per E39), antenna TV (equipaggiamento speciale) e filtro eliminatore di banda
1 |
Scatola Diversity per ricezione radiofonica |
2 |
Amplificatore AM/FM per ricezione radiofonica con filtro eliminatore di banda integrato (circuito soppressore) per segnali di comando a distanza. |
TV |
Amplificatore antenna e filtro eliminatore di banda per ricezione TV |
Il modulo di base controlla e valuta i segnali radiofonici. I comandi validi vengono eseguiti (ad esempio sbloccaggio chiusura centralizzata e disattivazione antifurto).
Il raggio d'azione ammonta per gli ordini alla chiusura centralizzata ad almeno 10 m.
Per l'apertura e la chiusura agevolate delle finestre e del tettuccio SHD, la portata viene limitata ad un raggio di ca. 5 m. La riduzione della portata viene eseguita per ragioni di sicurezza.
Durante l'inizializzazione la portata è ridotta in modo tale da rendere necessaria l'esecuzione della procedura nel veicolo, tenendo il trasmettitore (la chiave) nella direzione dell'antenna.
Nel corpo delle chiavi costruite dal 9/96 al 9/99 è integrato un LED rosso che indica il funzionamento e lo stato della batteria del radiotrasmettitore.
Con l'autotest è possibile verificare se l'impianto elettronico del telecomando funzioni perfettamente.
L'autotest si inizia tenendo premuti contemporaneamente i tasti "Cofano posteriore" e "Bloccaggio".
Se il telecomando è in condizioni perfette il LED rosso si accende per 1 secondo.
Con l'inizializzazione si assegnano le chiavi di accesso al modulo di base. Nella chiave di accesso viene creato un codice di inizializzazione da inviare al modulo di base. Il codice viene memorizzato nella chiave di accesso e nel modulo di base. Sulla base di questo codice il modulo di base riconosce le chiavi di accesso assegnate all'impianto. Vengono eseguiti soltanto gli ordini di queste trasmittenti.
Per ogni vettura possono essere inizializzate al massimo 4 trasmittenti. Inizializzando a nuovo una trasmittente, vengono cancellati i codici delle altre. Si devono quindi sempre inizializzare assieme tutte le trasmittenti di un impianto.
Eseguire l'inizializzazione delle chiavi di accesso all'interno del veicolo.
Per inizializzare le altre chiavi ripetere la procedura a partire dal punto 3 (= premere e mantenere premuto il tasto "Sbloccaggio" sulla chiave). Il morsetto R non deve essere cambiato.
L'inserimento del morsetto R comporta l'interruzione dell'inizializzazione.
Avvertenza
Per le chiavi costruite fino al 9/96 (due batterie) il codice memorizzato nella chiave va perduto se quest'ultima rimane priva di alimentazione elettrica per lunghi periodi di tempo. La sostituzione delle pile dovrebbe essere pertanto eseguita nello spazio di 1-2 minuti.