Nel modulo base della centralina ZKE è integrata la funzione di comando a distanza. Nella E46 Berlina, Touring, Coupé ed E83 X3 viene utilizzata come antenna l'antenna integrata nel lunotto. Nella E46 Cabriolet E52 Z8 e E85 Z4 l'antenna è disposta nello specchietto retrovisore interno.
La separazione dei segnali radio avviene in un filtro eliminatore di banda contenuto nell'antenna. Il filtro eliminatore di banda trasmette al modulo di base i segnali della chiave con radiocomando tramite una linea dati.
Tutte le emissioni radio sono codificate ed il codice varia in continuazione, per cui vengono evitate manipolazioni e quindi l'apertura non autorizzata della vettura.
A causa delle differenti norme di immatricolazione vigenti per gli apparecchi radiofonici nei vari Paesi, esistono due diverse versioni di trasmettitore e di filtro eliminatore di banda.
Per tutti i paesi europei (versione CEE)
Destinata soprattutto a USA, Canada e Australia.
Bisogna distinguere tra due versioni base della chiave con radiocomando:
Di seguito sono illustrati i diversi tipi di chiave nelle loro varie versioni.

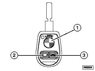
Chiave con batteria sostituibile, versione 433 MHz

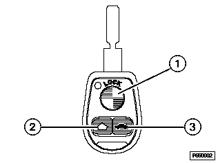
Chiave con batteria sostituibile, versione 315 MHz

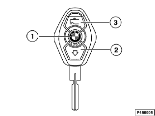
Chiave con accumulatore. Caratteristiche estetiche uguali a quelle delle versioni 433 MHz e 315 MHz. La frequenza valida è impressa sul lato posteriore.
Mediante tre tasti sulla chiave si possono attivare diverse funzioni del veicolo, anche a seconda della durata della pressione sul tasto.
Per impedire manipolazioni del sistema, tutti i comandi radio sono codificati con un codice che varia continuamente.
Se durante l'apertura/chiusura comfort del finestrino si riscontra un disturbo nella trasmissione dei comandi, per motivi di sicurezza la funzione viene immediatamente interrotta. Per riattivare il comando comfort occorre rilasciare il tasto corrispondente sulla chiave e premerlo di nuovo.
Per evitare di attivare i tasti inavvertitamente e quindi di inviare comandi involontariamente, nel modulo base si disattiva il comando a distanza quando la chiave della vettura è inserita nel blocchetto d'accensione. Il modulo base riceve il messaggio ”Chiave inserita” dalla centralina EWS.
Quando si preme un tasto, la chiave controlla lo stato di carica della batteria o dell'accumulatore al suo interno.
Se la tensione presenta un valore troppo basso, la chiave d'accesso comunica al modulo di base la condizione di carica. Il modulo di base elabora questo messaggio come segue:
In caso di tensione inferiore alla norma, si deve fare quanto segue:
Una memoria presente nella chiave, e indipendente dalla tensione, garantisce che i dati dell'inizializzazione non vengano cancellati neanche quando la batteria o l'accumulatore sono scarichi.
Avvertenza
Per le chiavi con accumulatore costruite dal 9/99 bisogna tenere presente che, come tutti gli accumulatori, anche questo tende a scaricarsi spontaneamente in caso d'inutilizzo. L'accumulatore si scarica in 1 anno circa. Un accumulatore completamente scarico deve essere ricaricato per ca. 30 ore, per riacquistare la sua capacità totale.
Nel corpo delle chiavi costruite fino al 9/99 è integrato un LED rosso che indica il funzionamento e lo stato della batteria del radiotrasmettitore.
Con l'autotest è possibile verificare se l'impianto elettronico del telecomando funzioni perfettamente.
L'autotest si inizia tenendo premuti contemporaneamente i tasti ”Cofano posteriore” e ”Bloccaggio”.
Se il telecomando è in condizioni perfette il LED rosso si accende per 1 secondo.
I dati trasmessi dalla chiave d'accesso vengono ricevuti mediante l'antenna radio/TV. Un filtro eliminatore di banda (circuito soppressore) separa queste onde radio dalle altre onde ricevute e le trasmette mediante un'apposita linea al modulo di base.

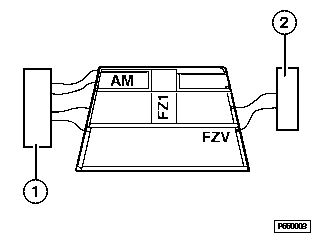
Antenna sul lunotto posteriore con AM/FM e filtro eliminatore di banda
1 |
Amplificatore AM/FM per ricezione radiofonica |
2 |
Filtro eliminatore di banda (circuito soppressore) per segnali di comando a distanza. |

Antenna sul lunotto con ricezione Diversity (equipaggiamento speciale), antenna TV (equipaggiamento speciale) e filtro eliminatore di banda
1 |
Scatola Diversity per ricezione radiofonica |
2 |
Amplificatore AM/FM per ricezione radiofonica con filtro eliminatore di banda integrato (circuito soppressore) per segnali di comando a distanza. |
TV |
Amplificatore antenna e filtro eliminatore di banda per ricezione TV |
Il modulo di base controlla e valuta i segnali radiofonici. I comandi validi vengono eseguiti (ad esempio sbloccaggio chiusura centralizzata e disattivazione antifurto).
Il ricevitore è collocato insieme all'antenna nello specchietto interno. I segnali radio ricevuti vengono inoltrati dal ricevitore tramite la linea FZV al modulo base, dove vengono analizzati.
Il raggio d'azione ammonta per gli ordini alla chiusura centralizzata ad almeno 10 m.
Per l'apertura e la chiusura agevolate delle finestre e del tettuccio SHD, la portata viene limitata ad un raggio di ca. 5 m. La riduzione della portata viene eseguita per ragioni di sicurezza.
Durante l'inizializzazione la portata è ridotta al punto che è necessario eseguire la procedura nella vettura, tenendo il trasmettitore (chiave) in direzione dell'antenna.
Con l'inizializzazione si assegnano le chiavi d'accesso al modulo di base. Nella chiave d'accesso viene creato un codice di inizializzazione da inviare al modulo di base. Il codice viene memorizzato nella chiave d'accesso e nel modulo di base. Sulla base di questo codice il modulo di base riconosce le chiavi d'accesso assegnate all'impianto. Vengono eseguiti soltanto gli ordini di queste trasmittenti.
Per ogni vettura possono essere inizializzate al massimo 4 trasmittenti. Inizializzando a nuovo una trasmittente, vengono cancellati i codici delle altre. Si devono quindi sempre inizializzare assieme tutte le trasmittenti di un impianto.
Eseguire l'inizializzazione delle chiavi d'accesso all'interno del veicolo.
Per inizializzare le altre chiavi, ripetere la procedura dal punto 3 (= tenere premuto il tasto ”Sbloccaggio” sulla chiave). Il morsetto R non deve essere cambiato.
L'inserimento del morsetto R comporta l'interruzione dell'inizializzazione.
Avvertenza
Una memoria presente nella chiave, e indipendente dalla tensione, garantisce che i dati dell'inizializzazione non vengano cancellati neanche quando la batteria o l'accumulatore sono scarichi.