Pompa dell'acqua
La carcassa è di alluminio pressofuso o materiale plastico ed è avvitata sul coperchio della scatola di distribuzione. Nella carcassa della pompa dell'acqua sono installati i sensori "gemelli" che rilevano la temperatura del liquido di raffreddamento. Questa sonda è situata in corrispondenza del punto dal quale il refrigerante fuoriesce dal motore.

Vista dettagliata della pompa dell'acqua con doppia sonda termica |
|
Radiatore
Per le versioni destinate al mercato estero è prevista l'installazione supplementare di un radiatore dell'olio motore.
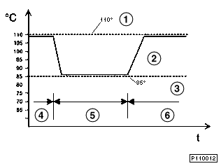
Quando la regolazione del raffreddamento del motore è affidata ad un termostato di tipo convenzionale, l'unico fattore che influisce su di essa è la temperatura del refrigerante. Per questo tipo di regolazione è possibile individuare tre campi di esercizio:
All'interno di tale campo di esercizio (campo di regolazione del termostato) è quindi possibile agire sulla temperatura del refrigerante con il termostato comandato dal diagramma caratteristico.
In questo modo, quando il motore funziona a regime a carico parziale, è possibile regolare la temperatura del refrigerante su un valore più alto. Una maggiore temperatura di esercizio in regime di funzionamento a carico parziale consente una migliore combustione con un più basso consumo di carburante ed una minore emissione di sostanze nocive.
In regime a pieno carico temperature elevate di esercizio porterebbero ad inconvenienti indesiderati (detonazione). Per tale motivo, in regime a pieno carico la temperatura del refrigerante viene regolata su valori più bassi con l'ausilio del termostato comandato dal diagramma caratteristico.

|
Caratteristica di regolazione del sistema di raffreddamento a diagramma caratteristico |
|---|---|
1 |
Caratteristica di un termostato da 110o C. |
2 |
Caratteristica di un termostato a diagramma caratteristico |
3 |
Caratteristica di un termostato da 85 o C. |
4 |
Regime a carico parziale |
5 |
Regime a pieno carico |
6 |
Regime a carico parziale |
Questo termostato consente di aumentare opportunamente la temperatura del refrigerante in regime a carico parziale. L'aumento della temperatura del refrigerante in questi regimi di funzionamento del motore consente di ridurre il consumo di carburante. La centralina del motore regola questo termostato in funzione di un diagramma caratteristico.
Tale diagramma viene definito sulla base dei seguenti fattori:
Caratteristiche del termostato a diagramma caratteristico
Il termostato a diagramma caratteristico è un termostato di tipo integrale, il termostato vero e proprio ed il suo coperchio formano cioè un'unità.
Le caratteristiche meccaniche del termostato a diagramma caratteristico sono in generale le stesse di un termostato convenzionale. Nell'elemento in materiale espansibile (cera) è stato tuttavia integrato un elemento riscaldante.

Rappresentazione in sezione del termostato a diagramma caratteristico |
|
Il coperchio del termostato è in alluminio pressofuso. Esso contiene anche il terminale elettrico per la connessione dell'elemento riscaldante incorporato nell'elemento in materiale espansibile.

Termostato a diagramma caratteristico con terminale per la connessione elettrica dell'elemento riscaldante |
|
Funzionamento del termostato a diagramma caratteristico
Il termostato a diagramma caratteristico è tarato per aprirsi ad una temperatura del refrigerante di 103oC (entrata motore) senza intervento dell'elemento riscaldante integrato. Sull'uscita del motore (ubicazione della sonda termica del refrigerante per la centralina DME e la visualizzazione sulla strumentazione) il refrigerante riscaldato dal motore presenta una temperatura di circa 110 o C. Tale valore corrisponde alla temperatura di esercizio del motore alla quale il termostato a diagramma caratteristico inizia ad aprirsi senza intervento del sistema di regolazione.
Con l'intervento della centralina DME viene alimentato (12 V) l'elemento riscaldante integrato nel termostato. L'aumento di temperatura dell'elemento in materiale espansibile determina l'apertura del termostato a temperature del refrigerante inferiori a quelle normalmente previste (campo di regolazione del termostato: circa 80 oC - 103 oC).

1 |
Corsa di apertura del termostato |
2 |
Temperatura del refrigerante |
3 |
Alimentazione a 12 V dell'elemento riscaldante |
4 |
Alimentazione a 0 V dell'elemento riscaldante |
Se la temperatura del refrigerante in uscita dal motore supera i 113 oC, la centralina DME attiva il riscaldamento del termostato a diagramma caratteristico indipendentemente dagli altri parametri.
Diagnostica
Il cavo di collegamento ed il funzionamento del termostato a diagramma caratteristico vengono tenuti sotto controllo dalla diagnostica della centralina DME. Le eventuali anomalie vengono memorizzate nella memoria errori della centralina DME.
Indicatore della temperatura del refrigerante
Le modalità di visualizzazione della temperatura del refrigerante sulla strumentazione sono state modificate in linea con le maggiori temperature di esercizio del motore dovute all'installazione del termostato a diagramma caratteristico.
Con temperature del refrigerante comprese tra
75 oC e 113 o C
l'indicatore di temperatura del refrigerante della strumentazione si trova in posizione centrale.