Per calibrare la videocamera occorre portare le linee rappresentate nella figura nella posizione corretta sul target. La calibratura richiede uno stato vettura definito.
Nella calibratura si attiva automaticamente la rappresentazione a piena immagine!
Fissare il target sul retrotreno come da Istruzioni per le riparazioni.
Fase 1: Correggere la torsione. Ruotare le linee fino a portarle in parallelo ai cerchi sul target.

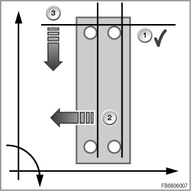
Fase 2:Spostamento delle linee verticali sull'asse x. Spostare le linee verso sinistra o destra fino a farle intersecare i quattro cerchi. Nell'esempio che segue le linee devono essere spostate verso sinistra.
Fase 3:Spostamento della linea orizzontale sull'asse y. Muovere la linea verso l'alto o il basso fino a portare i punti di intersezione con le linee verticali nei cerchi superiori. Nel grafico che segue la linea deve essere spostata verso il basso.

Al termine della calibratura le linee devono intersecare il centro dei cerchi. L'orientamento ottimale delle linee si ottiene quando le zone interne dei cerchi traspaiono attorno alle linee come all'avvio. I valori di calibratura impostati vengono caricati nella videocamera confermandoli.
