96 年モデル以降、無線リモート コントロールは ZKE 3 のジェネラル モジュールに内蔵されています。 受信用としてリア ウィンドウに内蔵されたラジオ用アンテナを使用します。
無線信号はアンテナ除波フィルターで分離されます。 この除波フィルターはデータ配線を介して無線キーの信号をジェネラル モジュールに伝送します。
すべての無線信号はコード化されていますが、車両に対する不法行為を防ぐために毎回異なったコードを送信します。
各国の無線装置に対する規定が異なるため、トランスミッターおよびフィルターには 2 つの仕様があります。
すべてのヨーロッパ諸国仕様(EC 仕様)。
米国、カナダおよびオーストラリア仕様。
構造が根本的に異なる 2 種類の無線キーを区別してください:

無線キー(EC 仕様)、433 MHz

無線キー(米国仕様)、315 MHz

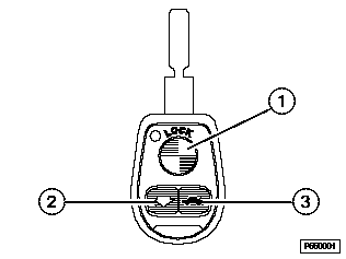
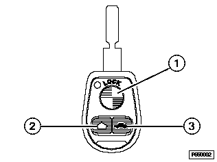
バッテリー付きの無線キー 433 MHz 仕様と 315 MHz 仕様の外観は同じです。 有効周波数はキーの裏面に刻印されています。
キーの 3 個のボタンを介して、ボタンを押している時間に対応して車両に関する様々な動作が行われます。
システムに対する不法行為を防ぐために、すべての無線コマンドは毎回異なったコードで送信されます。
ウィンドウのコンフォート オープン/クローズの間で無線コマンドの送信に異常が発生した場合は、安全上の理由により車両の機能がすぐに中止されます。 コンフォート作動を再度行う場合は、無線キーの該当するボタンを離して、新たに押します。
無線キーでは、ボタンを押した際に電池あるいはバッテリーの充電状態がモニターされます。
電圧が下限値に達すると、無線キーがジェネラル モジュールにそのことを伝えます。 ジェネラル モジュールはこのメッセージを以下のように処理します。
電圧降下が発生した場合には、以下の通りにしてください:
ヒント
99 年 9 月生産以降のバッテリー付き無線キーでは、使用していないときには自己放電することに注意してください、これはバッテリーでは普通に生じる現象です。 バッテリーは約 1 年で完全に放電します。過放電したバッテリーは、 完全に充電されるまで約 30 時間充電しなければなりません。
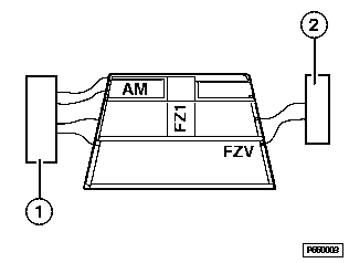
キー局から送信されたデータは、ラジオ/TV アンテナを介して受信されます。 アンテナ除波フィルター(遮断回路)がこの無線波を他の受信波から分離し、ケーブルを介してこれを ZKE 3 のジェネラル モジュールに伝送します。

AM/FM および除波フィルター付きリア ウィンドウ アンテナ
1 |
ラジオ用 AM/FM アンプ |
2 |
無線リモート コントロール信号用除波フィルター(遮断回路) |

ダイバーシティ アンテナ付きリア ウィンドウ アンテナ(E39 の場合はオプション)、TV アンテナ(オプション)および除波フィルター
1 |
ラジオ レシーバー用ダイバーシティ ボックス |
2 |
無線リモート コントロール用内蔵除波フィルター(遮断回路)付きラジオ レシーバー用 AM/FM アンプ |
TV |
テレビ受信用アンテナ アンプおよび除波フィルター |
ジェネラル モジュールでは、無線信号が点検および評価されます。 妥当なコマンドが実行されます(集中ロック解除および DWA 作動解除など)。
到達可能距離の半径は集中ロックのコマンドの場合、10 m 以内です。
パワー ウィンドウおよびサン ルーフのコンフォート オープン/クローズの場合、到達可能距離は半径約 5 m 以内に制限されます。 安全上の理由に基づき、到達可能距離が短縮されます。
初期化の際、車両の機能が完全に実行されるように到達可能距離が短縮されます。この際、トランスミッター(キー)はアンテナの方向に向けておきます。
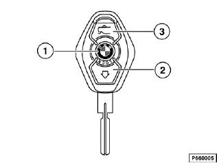
96 年 9 月から 99 年 9 月にかけて生産された無線キーでは、ケースに 1 個の赤色の LED が取り付けられていて、これが動作と無線トランスミッターの電池の状態を示します。
セルフ テストによって、トランスミッターの電気系統に故障がないかどうかを点検できます。
ボタン「トランク リッド」および「ロック」を同時に押したままにすると、セルフ テストがスタートします。
トランスミッターに故障がない場合は、赤色の LEDが 1 秒間点灯します。
初期化を行うと、無線キーがジェネラル モジュールに割り当てられます。 初期化の際は無線キーでコードが形成され、ジェネラル モジュールに伝送されます。 このコードはキーおよびモジュールにメモリーされます。 このコードによりジェネラル モジュールは、システムに属するキーを認識します。 コマンドは、このキーによってのみ行えます。
車両 1 台につき最大 4 個のキーを初期化することできます。 あるキーが新たに初期化されると、他のキーのコードはキャンセルされます。 したがって常にシステムのキーをすべて一緒に初期化しなければなりません。
車両内の無線キーの初期化。
さらに他のキーを初期化するには、項目 3 以降の手順を繰り返します(= キーのボタン「ロック解除」を押し続ける)。 Kl.R を変更してはなりません。
Kl.R をオンにすると、初期化が中止されます。
ヒント
96 年 9 月生産以前の無線キー(2 個の電池付き)では、キーが長時間電圧供給を受けていないと、メモリーされたコードが失われてしまうことがあります。 したがって、キーの電池の交換は、1 − 2 分以内に行ってください。