無線リモート コントロールは、機能的に ZKE のジェネラル モジュールと一体になっています。E46 セダン、ツーリング、クーペおよび E83 X3 の場合、リア ウィンドウに内蔵されているアンテナがアンテナとして使用されます。E46 カブリオーレ、E52 Z8 および E85 Z4 の場合、アンテナはルーム ミラー内に格納されています。
無線信号はアンテナ除波フィルターで分離されます。このフィルターはデータ ケーブルを介して無線キーの信号をジェネラル モジュールに伝送します。
全ての無線信号はコード化されていますが、車両に対して不法行為が行われ、車両が許可なしに開けられることのないように、毎回異なったコードを送信します。
各国の無線装置に対する規定が異なるため、トランスミッターおよびフィルターには 2 つの仕様があります。
全てのヨーロッパ諸国仕様(EC 仕様)。
米国、カナダおよびオーストラリア仕様。
構造が根本的に異なる 2 種類の無線キーを区別してください:
次に数種類の無線キーとその仕様を示します。

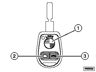
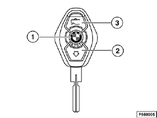
交換可能な電池付きの無線キー、433 MHz 仕様

交換可能な電池付きの無線キー、315 MHz 仕様

バッテリー付きの無線キー 433 MHz 仕様と 315 MHz 仕様の外観は同じです。有効周波数はキーの裏面に刻印されています。
キーの 3 個のボタンを介して、ボタンを押している時間に応じて車両の様々な機能が作動します。
システムに対する不法行為を防ぐために、全ての無線コマンドは毎回異なったコードで送信されます。
ウィンドウのコンフォート オープン/クローズの間に無線コマンドの送信に異常が発生した場合は、安全上の理由により車両の機能がすぐに中止されます。コンフォート操作を復帰する場合、無線キーの該当するボタンを離してから、新たに押します。
ボタンを意図せずに押した結果、リモート コントロールから誤ったコマンドが送られるのを防止するために、イグニッション スイッチにキーが差し込まれていると、ジェネラル モジュールのリモート コントロールは作動解除されています。ジェネラル モジュールは、EWS コントロール ユニットから「キーが差し込まれている」のメッセージを受信します。
無線キーでは、ボタンを押した際に電池あるいはバッテリーの充電状態がモニターされます。
電圧が下限値に達すると、無線キーがジェネラル モジュールにこのバッテリー ステイタスを伝えます。ジェネラル モジュールは、このメッセージを以下のように処理します:
電圧降下が発生した場合には、以下の通りにしてください:
無線キーのメモリーは電圧の影響を受けないので、電池が切れたり/バッテリーが上がったりしても初期化データは消去されません。
ヒント
99 年 9 月生産以降のバッテリー付き無線キーでは、使用していないときには自己放電することに注意してください。これはバッテリーでは普通に生じる現象です。バッテリーは約 1 年で完全に放電します。過放電したバッテリーは、満充電されるまで約 30 時間充電しなければなりません。
99 年 9 月生産以前の無線キーでは、ケースに 1 個の赤の発光ダイオード(LED)が取り付けられていて、これが無線トランスミッターの機能と電池のステイタスを伝えます。
セルフ テストによって、トランスミッター回路に故障がないかどうかを点検できます。
ボタン「トランク リッド」および「ロック」を同時に押したままにすると、セルフ テストがスタートします。
トランスミッターに故障がない場合は、赤の LED が 1 秒間点灯します。
無線キーから送信されたデータは、ラジオ、TV 用アンテナによって受信されます。アンテナ フィルター(除波回路)がこの無線波を他の受信波から分離し、ケーブルを介してこれをジェネラル モジュールに伝送します。

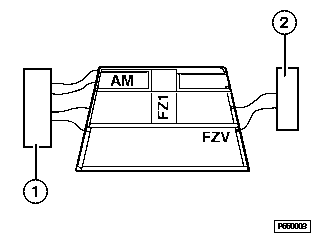
AM/FM および除波フィルター付きリア ウィンドウ アンテナ
1 |
ラジオ用 AM/FM アンプ |
2 |
無線リモート コントロール信号用除波フィルター(除波回路) |

ダイバーシティ アンテナ付きリア ウィンドウ アンテナ(オプション)、TV アンテナ(オプション)および除波フィルター
1 |
ラジオ レシーバー用ダイバーシティ ボックス |
2 |
無線リモート コントロール用内蔵除波フィルター(除波回路)付きラジオ レシーバー用 AM/FM アンプ |
TV |
テレビ受信用アンテナ アンプおよび除波フィルター |
ジェネラル モジュールでは、無線信号が点検および評価されます。有効なコマンドが実行されます(集中ロック解除および DWA セット解除など)。
レシーバーは、アンテナと共にルーム ミラーの中に格納されています。受信する無線信号は、レシーバーから FZV ケーブルを介してジェネラル モジュールへ送られ、評価されます。
到達可能距離の半径は集中ロックのコマンドの場合、10 m 以内です。
パワー ウィンドウおよびサン ルーフのコンフォート オープン/クローズの場合、到達可能距離は半径約 5 m 以内に制限されます。安全上の理由に基づき、到達可能距離が短縮されます。
初期化の際、車両の機能が完全に実行されるように到達可能距離が短縮されます。この際、トランスミッター(キー)はアンテナの方向に向けておきます。
初期化を行うと、無線キーがジェネラル モジュールに割り当てられます。初期化の際は無線キーでコードが形成され、ジェネラル モジュールに伝送されます。このコードはキーおよびジェネラル モジュールにメモリーされます。このコードにより、ジェネラル モジュールはシステムに属するキーを認識します。コマンドは、このキーによってのみ実行できます。
車両 1 台につき最大 4 個のキーを初期化することができます。あるキーが新たに初期化されると、他のキーのコードはキャンセルされます。したがって常にシステムのキーをすべて一緒に初期化しなければなりません。
車両内の無線キーの初期化。
さらに他のキーを初期化するには、項目 3 以降の手順を繰り返します(= キーのボタン「ロック解除」を押し続ける)。Kl.R を変更してはなりません。
Kl.R をオンにすると、初期化が中止されます。
ヒント
無線キーのメモリーは電圧の影響を受けないので、電池が切れても、バッテリーが上がっても初期化データは消去されません。