¹°ÆßÇÁ
ÇÏ¿ì¡Àº ¾Ë·ç¹Ì´½-´ÙÀÌij½ºÆÃ ¶Ç´Â ÇÃ¶ó½ºÆ½À¸·Î µÇ¾î ÀÖÀ¸¸ç, ŸÀÌ¹Ö ÄÉÀ̽º Ä¿¹ö À§¿¡ º¼Æ®Á¶¸³µÇ¾î ÀÖ´Ù. ¹°ÆßÇÁÀÇ ÇϿ졿¡´Â ³Ã°¢¼ö¿ë µà¾ó-¿Âµµ¼¾¼°¡ ÀåÂøµÇ¾î ÀÖ´Ù. ÀÌ µà¾ó-¿Âµµ¼¾¼´Â ³Ã°¢¼ö°¡ ¿£ÁøÀ¸·ÎºÎÅÍ À¯ÃâµÇ´Â ÁöÁ¡¿¡ À§Ä¡Çϰí ÀÖ´Ù.

µà¾ó-¿Âµµ¼¾¼°¡ ÀåÂøµÈ ¹°ÆßÇÁÀÇ »ó¼¼µµ |
|
¶óµð¿¡ÀÌÅÍ(¹æ¿±â)
ƯÁ¤ ±¹°¡ »ç¾ç¿¡´Â ¿£Áø¿ÀÀÏÄð·¯°¡ Ãß°¡·Î ÀåÂøµÈ´Ù.
±âÁ¸ÀÇ ¼¸ð½ºÅÈÀ¸·Î ¿£Áø ³Ã°¢½Ã½ºÅÛÀ» Á¦¾îÇÒ ¶§´Â ³Ã°¢¼ö ¿Âµµ¿¡ ÀÇÇØ¼¸¸ Á¦¾î Ư¼ºÀÌ °áÁ¤µÇ¾ú´Ù. ÀÌ Á¦¾î ½Ã½ºÅÛÀº 3°¡Áö ÀÛµ¿¿µ¿ªÀ¸·Î ºÐ·ùµÈ´Ù:
ÀÌ ÀÛµ¿ ¿µ¿ª (¼¸ð½ºÅÈ Á¦¾î¹üÀ§) ³»¿¡¼ ¸ñÇ¥·Î ÇÑ ³Ã°¢¼ö ¿Âµµ´Â ÀÌÁ¦ Ư¼º°î¼± ¼¸ð½ºÅÈ¿¡ ÀÇÇØ ¿µÇâÀ» ¹Þ°Ô µÈ´Ù.
ÀÌ·¸°Ô ÇϹǷμ ±â°üÀÇ ºÎºÐºÎÇÏ ¿µ¿ª¿¡¼ ³Ã°¢¼ö ¿Âµµ¸¦ ³ô°Ô Á¶ÀýÇÏ´Â ÀÏÀÌ °¡´ÉÇÏ°Ô µÈ´Ù. ºÎºÐºÎÇÏ ¿µ¿ª¿¡¼ ÀÛµ¿¿Âµµ¸¦ ³ô°Ô À¯ÁöÇÔÀ¸·Î¼ ¿¬¼Ò¼º´ÉÀ» °³¼±½Ã۰í, ¿¬¼Ò¼º´ÉÀ» °³¼±½ÃŰ¹Ç·Î¼ °á°úÀûÀ¸·Î ¿¬·á¼ÒºñÀ²À» ³·Ãß°í À¯ÇØ ¹èÃâ¹° ¼öÁØÀ» ³·Ãâ ¼ö ÀÖ°Ô µÈ´Ù.
±×·¯³ª ÀüºÎÇÏ ÀÛµ¿»óÅ¿¡¼ ÀÛµ¿¿Âµµ¸¦ ³ô°Ô À¯ÁöÇϸé ÇÊ¿¬ÀûÀ¸·Î ´ÜÁ¡µµ ³ªÅ¸³ª°Ô µÈ´Ù (³ëÅ©¶§¹®¿¡ Á¡È½Ã±â¸¦ Áö°¢½ÃŲ´Ù). ±×·¯¹Ç·Î ÀüºÎÇÏ ÀÛµ¿»óÅ¿¡¼´Â Ư¼º°î¼± ¼¸ð½ºÅÈÀ» »ç¿ëÇÏ¿©, ¸ñÀû¿¡ ¸Â°Ô ³Ã°¢¼ö ¿Âµµ¸¦ ³·°Ô Á¦¾îÇÑ´Ù.

|
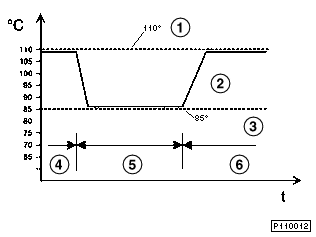
³Ã°¢ Ư¼º°î¼±ÀÇ Á¦¾î Ư¼º |
|---|---|
1 |
110o C ¼¸ð½ºÅÈÀÇ Æ¯¼º°î¼± |
2 |
Ư¼º°î¼± ¼¸ð½ºÅÈÀÇ Æ¯¼º°î¼± |
3 |
85o C ¼¸ð½ºÅÈÀÇ Æ¯¼º°î¼± |
4 |
ºÎºÐºÎÇÏ ¿µ¿ª |
5 |
ÀüºÎÇÏ ÀÛµ¿»óÅ |
6 |
ºÎºÐºÎÇÏ ¿µ¿ª |
ÀÌ ¼¸ð½ºÅÈÀÇ »ç¿ëÀ¸·Î ºÎºÐºÎÇÏ ¿µ¿ª¿¡¼ ³Ã°¢¼ö ¿Âµµ¸¦ ¸ñÇ¥ ¼öÁØÀ¸·Î »ó½Â½Ãų ¼ö ÀÖ´Ù. ¿£ÁøÀÇ ÀÌ ÀÛµ¿»óÅ (ºÎºÐºÎÇÏ)¿¡¼ ³Ã°¢¼ö ¿Âµµ¸¦ »ó½Â½ÃÅ´À¸·Î¼, ¿¬·á¼Òºñ¸¦ Àý°¨½Ãų ¼ö ÀÖ´Ù. ÀÌ ¼¸ð½ºÅÈ Æ¯¼º°î¼±¿¡ ´ëÇÑ Á¦¾î´Â Ư¼º°î¼±°ú °ü·ÃÇÏ¿© ¿£Áø ÄÁÆ®·Ñ À¯´Ö¿¡ ÀÇÇØ ÀÌ·ç¾îÁø´Ù.
Ư¼º°î¼±Àº ´ÙÀ½ÀÇ ¿ä¼Òµé¿¡ ÀÇÇØ ÀÛ¼ºµÈ´Ù:
Ư¼º°î¼± ¼¸ð½ºÅÈÀÇ ±¸Á¶
Ư¼º°î¼± ¼¸ð½ºÅÈÀº ÁýÀû½Ä ¼¸ð½ºÅÈÀÌ´Ù. Áï, ¼¸ð½ºÅȰú ¼¸ð½ºÅÈ Ä¿¹ö°¡ ÇÑ À¯´ÖÀ¸·Î µÇ¾îÀÖ´Ù.
Ư¼º°î¼± ¼¸ð½ºÅÈÀÇ ±âº»ÀûÀÎ ±â°èÀû ±¸Á¶´Â ±âÁ¸ ¼¸ð½ºÅÈÀÇ ±×°Í°ú °°´Ù. ±×·¯³ª ÆØÃ¢¹°Áú (¿Î½º ¿¤¸®¸ÕÆ®)³»¿¡ Ãß°¡·Î °¡¿ ¿¤¸®¸ÕÆ®°¡ ÁýÀûµÇ¾î ÀÖ´Ù.

Ư¼º°î¼± ¼¸ð½ºÅÈÀÇ ´Ü¸éµµ |
|
Ư¼º°î¼± ¼¸ð½ºÅÈÀÇ Ä¿¹ö´Â ¾Ë·ç¹Ì´½ ´ÙÀÌij½ºÆÃ Á¦Ç°ÀÌ´Ù. Ư¼º°î¼± ¼¸ð½ºÅÈÀÇ ÆØÃ¢¹°Áú (¿Î½º ¿¤¸®¸ÕÆ®)¿¡ ºÎ°¡µÈ °¡¿ ¿¤¸®¸ÕÆ®ÀÇ Àü±â ´ÜÀÚµµ ¼¸ð½ºÅÈ Ä¿¹ö¿¡ ÁýÀûµÇ¾î ÀÖ´Ù.

°¡¿ ¿¤¸®¸ÕÆ®ÀÇ Àü±â ´ÜÀÚ°¡ Æ÷ÇÔµÈ Æ¯¼º°î¼± ¼¸ð½ºÅÈ |
|
Ư¼º°î¼± ¼¸ð½ºÅÈÀÇ ±â´É
Ư¼º°î¼± ¼¸ð½ºÅÈÀº ¼¸ð½ºÅÈ¿¡¼ ³Ã°¢¼ö ¿Âµµ°¡ 103oC ÀÏ ¶§ ÁýÀûµÈ °¡¿ ¿¤¸®¸ÕÆ®ÀÇ °£¼·À» ¹ÞÁö ¾Ê°í ¿¸®µµ·Ï ¼³°èµÇ¾î ÀÖ´Ù (¿£ÁøÀÔ±¸). ¿£Áø³»¿¡¼ ³Ã°¢¼ö°¡ °¡¿µÊ¿¡ µû¶ó ¿£ÁøÀÇ ³Ã°¢¼ö Ãⱸ (DME¿Í °è±âÆÇ¿ë ³Ã°¢¼ö ¿Âµµ¼¾¼ÀÇ ÀåÂøÀ§Ä¡)¿¡¼ÀÇ ¿Âµµ´Â ÀÌ ÀÛµ¿Á¡¿¡¼ ¾à 110o C °¡ ÃøÁ¤µÈ´Ù. ÀÌ ¿Âµµ´Â ¿£Áø ÀÛµ¿¿Âµµ·Î¼, ÀÌ ¿Âµµ¿¡¼ Ư¼º°î¼± ¼¸ð½ºÅÈÀº Á¦¾î°£¼·À» ¹ÞÁö ¾Ê°í ¿¸®±â ½ÃÀÛÇÑ´Ù.
DME-ÄÁÆ®·Ñ À¯´Ö¿¡ ÀÇÇÑ Á¦¾î°£¼·ÀÌ ÀÖÀ» °æ¿ì, ¼¸ð½ºÅÈ¿¡ ÁýÀûµÈ °¡¿ ¿¤¸®¸ÕÆ®¿¡ Àü·ù (12V)°¡ È帣°Ô µÈ´Ù. ÆØÃ¢¹°ÁúÀÌ °¡¿µÊÀ¸·Î ÇØ¼ ÀÌÁ¦ ¼¸ð½ºÅÈÀº ³Ã°¢¼ö ¿Âµµ°¡ Ãß°¡ °¡¿±â´ÉÀÌ ¾ø´Â °æ¿ìº¸´Ùµµ ´õ ³·Àº ¿Âµµ¿¡¼µµ ¿¸®°Ô µÈ´Ù (¼¸ð½ºÅÈÀÇ Á¦¾î¹üÀ§: ¾à 80oC - 103oC).

1 |
¼¸ð½ºÅÈÀÇ °³¹æ Åë·Î |
2 |
³Ã°¢¼ö ¿Âµµ |
3 |
12 V·Î °¡¿ ¿¤¸®¸ÕÆ® Æ®¸®°Å¸µ |
4 |
0 V·Î °¡¿ ¿¤¸®¸ÕÆ® Æ®¸®°Å¸µ |
¿£ÁøÀÇ ³Ã°¢¼ö Ãⱸ¿¡¼ ³Ã°¢¼ö ¿Âµµ°¡ 113oC ¸¦ ÃʰúÇϸé, Ư¼º°î¼± ¼¸ð½ºÅÈÀÇ °¡¿ ¿¤¸®¸ÕÆ®´Â ´Ù¸¥ º¯¼ö¿¡ °ü°è¾øÀÌ DME¿¡ ÀÇÇØ Æ®¸®°Å¸µµÈ´Ù.
Áø´Ü
Ư¼º°î¼± ¼¸ð½ºÅÈÀÇ ±â´É°ú ¹è¼± °á¼±Àº DME-ÄÁÆ®·Ñ À¯´Ö¿¡ ³»ÀåµÈ Áø´Ü±â´É¿¡ ÀÇÇØ °¨½ÃµÈ´Ù. ¹ß»ýÇÑ °íÀåµéÀº DME-ÄÁÆ®·Ñ À¯´ÖÀÇ °íÀå¸Þ¸ð¸®¿¡ ¼ö·ÏµÈ´Ù.
³Ã°¢¼ö ¿Âµµ Ç¥½Ã°è
°è±âÆÇÀÇ ³Ã°¢¼ö ¿Âµµ Ç¥½Ã°èÀÇ µð½ºÇ÷¹ÀÌÆ¯¼ºÀº, Ư¼º°î¼± ¼¸ð½ºÅÈÀÇ Á¶°Ç¿¡ µû¶ó ±â°üÀÇ ³ôÀº ¿Âµµ¼öÁØ¿¡ ÀûÇյǾú´Ù.
°è±âÆÇ¿¡ ÀÖ´Â ³Ã°¢¼ö ¿Âµµ Ç¥½Ã°èÀÇ ÁöħÀº ¾Æ·¡¿Í °°Àº ³Ã°¢¼ö ¿Âµµ
75oC - 113o C
¿¡¼ Áß°£-À§Ä¡¿¡ ÀÖ´Ù.