¹°ÆßÇÁ
ÇÏ¿ì¡Àº ¾Ë·ç¹Ì´½-´ÙÀÌij½ºÆÃ ¶Ç´Â ÇÃ¶ó½ºÆ½À¸·Î µÇ¾î ÀÖÀ¸¸ç, ŸÀÌ¹Ö ÄÉÀ̽º Ä¿¹ö À§¿¡ º¼Æ®Á¶¸³µÇ¾î ÀÖ´Ù. ¹°ÆßÇÁÀÇ ÇϿ졿¡´Â ³Ã°¢¼ö¿ë µà¾ó-¿Âµµ¼¾¼°¡ ÀåÂøµÇ¾î ÀÖ´Ù. ÀÌ µà¾ó-¿Âµµ¼¾¼´Â ¿£ÁøÀ¸·ÎºÎÅÍ ³Ã°¢¼ö°¡ Èê·¯³ª¿À´Â ÁöÁ¡¿¡ À§Ä¡ÇØ ÀÖ´Ù.
¶óµð¿¡ÀÌÅÍ(¹æ¿±â)
ƯÁ¤ ±¹°¡ »ç¾ç¿¡´Â ¿£Áø¿ÀÀÏÄð·¯°¡ Ãß°¡·Î ÀåÂøµÈ´Ù.
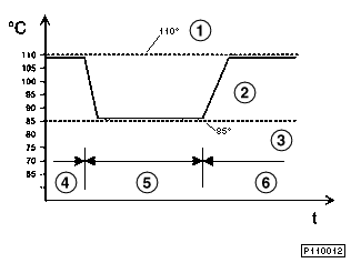
±âÁ¸ÀÇ ¼¸ð½ºÅÈÀ¸·Î ¿£Áø ³Ã°¢½Ã½ºÅÛÀ» Á¦¾îÇÒ ¶§´Â ³Ã°¢¼ö ¿Âµµ¿¡ ÀÇÇØ¼¸¸ Á¦¾î Ư¼ºÀÌ °áÁ¤µÇ¾ú´Ù. ÀÌ Á¦¾î ½Ã½ºÅÛÀº 3°¡Áö ÀÛµ¿¿µ¿ªÀ¸·Î ºÐ·ùµÈ´Ù:
¼¸ð½ºÅÈ Á¦¾î¹üÀ§³»¿¡¼ Ư¼º°î¼± ¼¸ð½ºÅÈÀ» ÀÌ¿ëÇÏ¿©, ¸ñÀû¿¡ ¸Â°Ô ³Ã°¢¼ö ¿Âµµ¿¡ ¿µÇâÀ» ¹ÌÄ¥ ¼ö ÀÖ´Ù.
ÀÌ·Î½á ºÎºÐºÎÇÏ ¿µ¿ª¿¡¼ ¿£ÁøÀº ³ôÀº ³Ã°¢¼ö ¿Âµµ·Î ÀÛµ¿µÉ ¼ö ÀÖ´Ù. ÀÌ·¸°Ô Çϸé È¿°úÀûÀÎ ¿¬¼Ò°¡ ÀÌ·ç¾îÁ®, ¿¬·á¼ÒºñÀ²°ú À¯ÇعèÃâ¹°ÀÌ °¨¼ÒµÈ´Ù.
¹Ý´ë·Î ÀüºÎÇÏ ÀÛµ¿»óÅ¿¡¼´Â ¸ñÀû¿¡ ¸Â°Ô ³Ã°¢¼ö ¿Âµµ¸¦ ³·°Ô Á¦¾îÇÑ´Ù. ÀÌ·Î½á ³ëÅ© °æÇ⼺ÀÌ °¨¼ÒµÇ°í, ¿£ÁøÀº ÃÖÀûÀÇ Á¡È½Ã±â¿¡ ±ÙÁ¢, ÀÛµ¿µÉ ¼ö ÀÖ´Ù.

|
³Ã°¢ Ư¼º°î¼±ÀÇ Á¦¾î Ư¼º |
|---|---|
1 |
110o C ¼¸ð½ºÅÈÀÇ Æ¯¼º°î¼± |
2 |
Ư¼º°î¼± ¼¸ð½ºÅÈÀÇ Æ¯¼º°î¼± |
3 |
85o C ¼¸ð½ºÅÈÀÇ Æ¯¼º°î¼± |
4 |
ºÎºÐºÎÇÏ ¿µ¿ª |
5 |
ÀüºÎÇÏ ÀÛµ¿»óÅ |
6 |
ºÎºÐºÎÇÏ ¿µ¿ª |
Ư¼º°î¼± ¼¸ð½ºÅÈÀ» ÅëÇØ, ³Ã°¢¼ö ¿Âµµ´Â ºÎºÐºÎÇÏ ¿µ¿ª¿¡¼ ¸ñÀû¿¡ ¸Â°Ô »ó½ÂµÈ´Ù. ÀÌ Æ¯¼º°î¼± ¼¸ð½ºÅÈ¿¡ ´ëÇÑ Á¦¾î´Â Ư¼º°î¼±°ú °ü·ÃÇÏ¿© ¿£Áø ÄÁÆ®·Ñ À¯´Ö¿¡ ÀÇÇØ ÀÌ·ç¾îÁø´Ù.
ÀÌ Æ¯¼º°î¼±Àº ´ÙÀ½°ú °°Àº º¯¼öµé¿¡ ÀÇÇØ °áÁ¤µÈ´Ù:
Ư¼º°î¼± ¼¸ð½ºÅÈÀÇ ±¸Á¶
Ư¼º°î¼± ¼¸ð½ºÅÈÀº ÁýÀû½Ä ¼¸ð½ºÅÈÀÌ´Ù. Áï, ¼¸ð½ºÅȰú ¼¸ð½ºÅÈ Ä¿¹ö°¡ ÇÑ À¯´ÖÀ¸·Î µÇ¾îÀÖ´Ù.
Ư¼º°î¼± ¼¸ð½ºÅÈÀÇ ±âº»ÀûÀÎ ±â°èÀû ±¸Á¶´Â ±âÁ¸ ¼¸ð½ºÅÈÀÇ ±×°Í°ú °°´Ù. ±×·¯³ª ÆØÃ¢¹°Áú (¿Î½º ¿¤¸®¸ÕÆ®)³»¿¡ Ãß°¡·Î °¡¿ ¿¤¸®¸ÕÆ®°¡ ÁýÀûµÇ¾î ÀÖ´Ù.

Ư¼º°î¼± ¼¸ð½ºÅÈÀÇ ´Ü¸éµµ |
|
Ư¼º°î¼± ¼¸ð½ºÅÈÀÇ ÄÉÀ̽º Ä¿¹ö´Â ¾Ë·ç¹Ì´½ ´ÙÀÌij½ºÆÃ Á¦Ç°ÀÌ´Ù. Ư¼º°î¼± ¼¸ð½ºÅÈÀÇ ÆØÃ¢¹°Áú¿¡ ÁýÀûµÇ¾î ÀÖ´Â °¡¿ ¿¤¸®¸ÕÆ®ÀÇ Àü±â ´ÜÀÚµµ ¼¸ð½ºÅÈ Ä¿¹ö¿¡ ÁýÀûµÇ¾î ÀÖ´Ù.

°¡¿ ¿¤¸®¸ÕÆ®ÀÇ Àü±â ´ÜÀÚ°¡ Æ÷ÇÔµÈ Æ¯¼º°î¼± ¼¸ð½ºÅÈ |
|
Ư¼º°î¼± ¼¸ð½ºÅÈÀÇ ±â´É
Ư¼º°î¼± ¼¸ð½ºÅÈÀº ¿£ÁøÀÔ±¸¿¡¼ ¼¸ð½ºÅÈÀÇ ³Ã°¢¼ö ¿Âµµ°¡ 103oC ÀÏ ¶§, ÁýÀûµÇ¾î ÀÖ´Â °¡¿ ¿¤¸®¸ÕÆ®ÀÇ °£¼·¾øÀÌ ¿¸± ¼ö ÀÖµµ·Ï Á¶Á¤µÇ¾î ÀÖ´Ù. ¿£Áø³»¿¡¼ ³Ã°¢¼ö°¡ °¡¿µÊ¿¡ µû¶ó ¿£ÁøÀÇ ³Ã°¢¼ö Ãⱸ (DME¿Í °è±âÆÇ¿ë ³Ã°¢¼ö ¿Âµµ¼¾¼ÀÇ ÀåÂøÀ§Ä¡)¿¡¼ÀÇ ¿Âµµ´Â ÀÌ ÀÛµ¿Á¡¿¡¼ ¾à 110o C ÀÌ´Ù. ¿£ÁøÀÌ ÀÌ ¿îÀü¿Âµµ¿¡ µµ´ÞÇÏ°Ô µÇ¸é, Ư¼º°î¼± ¼¸ð½ºÅÈÀº Á¦¾î °£¼·¾øÀÌ ¿¸®±â ½ÃÀÛÇÑ´Ù.
DME-ÄÁÆ®·Ñ À¯´Ö¿¡ ÀÇÇÑ Á¦¾î°£¼·ÀÌ ÀÖÀ» °æ¿ì, ¼¸ð½ºÅÈ¿¡ ÁýÀûµÈ °¡¿ ¿¤¸®¸ÕÆ®¿¡ Àü·ù (12V)°¡ È帣°Ô µÈ´Ù. ÆØÃ¢¹°ÁúÀÌ °¡¿µÊÀ¸·Î¼, ¼¸ð½ºÅÈÀº ³Ã°¢¼ö ¿Âµµ°¡ ³·À» °æ¿ì¿¡µµ ¿¸®°Ô µÈ´Ù (¼¸ð½ºÅÈ Á¦¾î¹üÀ§: 80oC - 103oC).

1 |
¼¸ð½ºÅÈÀÇ °³¹æ Åë·Î |
2 |
³Ã°¢¼ö ¿Âµµ |
3 |
12 V·Î °¡¿ ¿¤¸®¸ÕÆ® Æ®¸®°Å¸µ |
4 |
0 V·Î °¡¿ ¿¤¸®¸ÕÆ® Æ®¸®°Å¸µ |
¿£ÁøÀÇ ³Ã°¢¼ö Ãⱸ¿¡¼ ³Ã°¢¼ö ¿Âµµ°¡ 113oC ¸¦ ÃʰúÇϸé, Ư¼º°î¼± ¼¸ð½ºÅÈÀÇ °¡¿ ¿¤¸®¸ÕÆ®´Â ´Ù¸¥ º¯¼ö¿¡ °ü°è¾øÀÌ DME¿¡ ÀÇÇØ Æ®¸®°Å¸µµÈ´Ù.
Áø´Ü
Ư¼º°î¼± ¼¸ð½ºÅÈÀÇ ±â´É°ú ¹è¼± °á¼±Àº DME-ÄÁÆ®·Ñ À¯´Ö¿¡ ³»ÀåµÈ Áø´Ü±â´É¿¡ ÀÇÇØ °¨½ÃµÈ´Ù. ¹ß»ýÇÑ °íÀåµéÀº DME-ÄÁÆ®·Ñ À¯´ÖÀÇ °íÀå¸Þ¸ð¸®¿¡ ¼ö·ÏµÈ´Ù.
³Ã°¢¼ö ¿Âµµ Ç¥½Ã°è
°è±âÆÇ¿¡ ÀÖ´Â ³Ã°¢¼ö ¿Âµµ Ç¥½Ã°èÀÇ Æ¯¼ºÀº, Ư¼º°î¼± ¼¸ð½ºÅȰú °ü·ÃÇÏ¿© »ó½ÂµÈ ¿£Áø ¿Âµµ¼öÁØ¿¡ ¸Â°Ô º¯°æµÇ¾ú´Ù.
°è±âÆÇ¿¡ ÀÖ´Â ³Ã°¢¼ö ¿Âµµ Ç¥½Ã°èÀÇ ÁöħÀº ³Ã°¢¼ö ¿Âµµ°¡
75oC - 113o C
ÀÏ ¶§, Áß°£-À§Ä¡¿¡ ÀÖ´Ù.