¿ø°ÝÁ¶Á¤ÀåÄ¡´Â ZKEÀÇ º£ÀÌÁ÷ ¸ðµâ¿¡ ±â´ÉÀûÀ¸·Î ÁýÀûµÇ¾î ÀÖ´Ù. E46 ¼¼´Ü, Åõ¾î¸µ, ÄíÆä ±×¸®°í E83 X3¿¡¼´Â µÚ À©µµ¿ì À¯¸®¿¡ ÁýÀûµÈ ¾ÈÅ׳ª°¡ ¾ÈÅ׳ª·Î¼ »ç¿ëµÈ´Ù. E46 ÄÁ¹öÅͺí E52 Z8 ±×¸®°í E85 Z4¿¡¼´Â ¾ÈÅ׳ª°¡ ½Ç³» ¹é¹Ì·¯¿¡ ¼³Ä¡µÇ¾î ÀÖ´Ù.
¹«¼±½ÅÈ£´Â ¾ÈÅ׳ª ¿þÀÌºê Æ®·¦¿¡¼ ºÐ¸®µÈ´Ù. ¿þÀÌºê Æ®·¦Àº ¿ø°ÝÁ¶Á¤Å°ÀÇ ½ÅÈ£¸¦ µ¥ÀÌÅÍ ¹è¼±À» ÅëÇØ º£ÀÌÁ÷ ¸ðµâ·Î Àü¼ÛÇÑ´Ù.
¸ðµç ¿ø°Ý ÅÚ·¹±×·¥Àº ÄÚµåȵǾî, Áö¼ÓÀûÀ¸·Î ¹Ù²î´Â Äڵ带 Àü¼ÛÇϴµ¥, ÀÌ·¸°Ô ÇÔÀ¸·Î½á ½ÅÈ£ÀÇ Á¶ÀÛÀ» ¹æÁöÇÏ°í µû¶ó¼ Â÷·®ÀÌ ºÎ´çÇÏ°Ô ¿¸®´Â °ÍÀ» ¹æÁöÇÑ´Ù.
±¹°¡º°·Î ¹«¼±±âÀÇ ½ÂÀαÔÁ¤ÀÌ ´Ù¾çÇϱ⠶§¹®¿¡, ¼Û½Å±â¿Í ¿þÀÌºê Æ®·¦¿¡ 2Á¾·ùÀÇ ¹öÀüÀÌ ÀÖ´Ù.
¸ðµç À¯·´ ±¹°¡µé (EUR-¹öÀü)
¸ÕÀú ¹Ì±¹, ij³ª´Ù ±×¸®°í ¿À½ºÆ®·¹Àϸ®¾Æ¿ëÀ¸·Î Á¤ÀǵȴÙ.
¿ø°ÝÁ¶Á¤Å°ÀÇ µÎ °¡Áö ±âº» »ç¾çÀ» ±¸ºÐÇØ¾ß ÇÑ´Ù:
´ÙÀ½¿¡´Â ´Ù¾çÇÑ »ç¾ç°ú ¸¶Âù°¡Áö·Î ´Ù¾çÇÑ ¿ø°ÝÁ¶Á¤Å°¸¦ ³ªÅ¸³»¾ú´Ù.

±³È¯°¡´ÉÇÑ ¹èÅ͸®½Ä ¿ø°ÝÁ¶Á¤Å°, 433 MHz »ç¾ç

±³È¯°¡´ÉÇÑ ¹èÅ͸®½Ä ¿ø°ÝÁ¶Á¤Å°, 315 MHz »ç¾ç

ÀçÃæÀü ¹èÅ͸®½Ä ¿ø°ÝÁ¶Á¤Å°. 433 MHz¿Í 315 MHz´Â À°¾ÈÀ¸·Î º¸±â¿¡´Â µ¿ÀÏÇÑ »ç¾çÀÌ´Ù. À¯È¿ÇÑ Á֯ļö´Â µÞºÎºÐ¿¡ ÂïÇôÀÖ´Ù.
Ű¿¡ ÀÖ´Â 3°³ÀÇ ¹öưÀ» ÅëÇØ¼µµ, ¶ÇÇÑ ¹öưÀ» ´©¸£°í ÀÖ´Â ½Ã°£¿¡ µû¶ó¼µµ, Â÷·®¿¡¼ ¿©·¯°¡Áö µ¿ÀÛÀÌ Æ®¸®°Å¸µµÈ´Ù.
½Ã½ºÅÛ º¯Á¶¸¦ ¹æÁöÇϱâ À§ÇØ, ¸ðµç ¿ø°Ý¸í·ÉÀº Áö¼ÓÀûÀ¸·Î ¹Ù²î´Â Äڵ带 ÅëÇØ ÄÚµåȵǾú´Ù.
À©µµ¿ì Æí¸®ÇÑ ¿±â/Æí¸®ÇÑ ´Ý±â¸¦ ÇÏ´Â µ¿¾È, ¿ø°Ý¸í·É Àü¼Û½Ã¿¡ Àå¾Ö°¡ ¹ß»ýÇϸé, ¾ÈÀü»óÀÇ ÀÌÀ¯·Î ÀÎÇØ Â÷·®¿¡¼ÀÇ ±â´ÉÀÌ Áï½Ã ÁߴܵȴÙ. Æí¸®ÇÑ Á¶ÀÛÀ» º¹±Í½Ã۱â À§Çؼ´Â, ¿ø°ÝÁ¶Á¤Å°ÀÇ ÇØ´ç ¹öư¿¡¼ ¼ÕÀ» ¶¼¾ú´Ù°¡, ´Ù½Ã ´·¯¾ß ÇÑ´Ù.
ÀÚµ¿Â÷ ۰¡ Á¡ÈŰ ½ºÀ§Ä¡¿¡ ²ÈÇô ÀÖÀ» ¶§, ÀǵµÇÏÁö ¾ÊÀº ¹öưÁ¶ÀÛ°ú ±× Á¶ÀÛ°ú ¿¬°áµÇ¾î ÀÖ´Â ¿ø°ÝÁ¶Á¤ ¸í·ÉÀ» ÀúÁöÇϱâ À§ÇØ, ¿ø°ÝÁ¶Á¤ÀåÄ¡ º£ÀÌÁ÷ ¸ðµâÀº ºñȰ¼ºÈµÈ´Ù. º£ÀÌÁ÷ ¸ðµâÀº EWS-ÄÁÆ®·Ñ À¯´ÖÀ¸·ÎºÎÅÍ ¸Þ½ÃÁö ”Ű ³¢¿öÁ® ÀÖÀ½” À» Àü´Þ¹Þ´Â´Ù.
¹èÅ͸® ¶Ç´Â ÀçÃæÀü½Ä ¹èÅ͸®ÀÇ ÃæÀü»óÅ´ ¿ø°ÝÁ¶Á¤Å° ¹öư Á¶À۽ÿ¡ °¨½ÃµÈ´Ù.
Àü¾ÐÀÌ ¾Æ·¡ÂÊ ÇѰ谪¿¡ µµ´ÞÇϸé, ¿ø°ÝÁ¶Á¤Å°´Â ¹èÅ͸®ÀÇ »óŸ¦ º£ÀÌÁ÷ ¸ðµâ¿¡ º¸°íÇÑ´Ù. º£ÀÌÁ÷ ¸ðµâÀº ÀÌ ¸Þ½ÃÁö¸¦ ´ÙÀ½°ú °°ÀÌ Ã³¸®ÇÑ´Ù:
ºÎÁ·Àü¾ÐÀÌ ¹ß»ýÇßÀ» ¶§¿¡´Â:
¿ø°ÝÁ¶Á¤Å°¿¡ ÀÖ´Â Àü¾Ð°ú °ü·ÃÀÌ ¾ø´Â ¸Þ¸ð¸®´Â, ¹èÅ͸®/ÀçÃæÀü½Ä ¹èÅ͸®°¡ ¹æÀüµÇ¾úÀ» ¶§¿¡µµ ÃʱâÈ µ¥ÀÌÅͰ¡ »èÁ¦µÇÁö ¾Êµµ·Ï, º¸ÀåÇÑ´Ù.
Áöħ
99/9ºÎÅÍÀÇ, ÀçÃæÀü ¹èÅ͸®½Ä ¿ø°ÝÁ¶Á¤Å°ÀÇ °æ¿ì, »ç¿ëÇÏÁö ¾ÊÀ¸¸é ÀçÃæÀü½Ä ¹èÅ͸®¿¡ ÀϹÝÀûÀÎ ÀÚ±â¹æÀüÀÌ ÀÌ·ç¾îÁø´Ù´Â Á¡¿¡ À¯ÀÇÇØ¾ß ÇÑ´Ù. ÀçÃæÀü½Ä ¹èÅ͸®´Â ¾à 1³â ÈÄ¿¡ ¹æÀüµÈ´Ù. °ú¹æÀüµÈ ÀçÃæÀü½Ä ¹èÅ͸®´Â, ¿ë·®ÀÌ ´Ù½Ã °¡µæÂû ¶§±îÁö ¾à 30½Ã°£µ¿¾È ÃæÀüÇØ¾ß ÇÑ´Ù.
99/9±îÁöÀÇ ¿ø°ÝÁ¶Á¤Å°ÀÇ °æ¿ì, Ű ÄÉÀ̽º¿¡ Àû»ö LED°¡ ¼³Ä¡µÇ¾î ÀÖÀ¸¸ç, ÀÌ LED´Â ¿ø°Ý ¼Û½Å±â¿¡ ±â´É°ú ¹èÅ͸®ÀÇ »óŸ¦ µð½ºÇ÷¹ÀÌÇÑ´Ù.
¼Û½Å±â ÀÏ·ºÆ®·Î´ÐÀÌ °íÀå¾øÀÌ ÀÛµ¿ÇÏ´ÂÁöÀÇ ¿©ºÎ´Â, ÀÚ±âÁø´ÜÀ¸·Î Á¡°ËµÉ ¼ö ÀÖ´Ù.
”Æ®··Å©¸®µå” ¹öư°ú ”·ÎÅ©” ¹öưÀ» µ¿½Ã¿¡ ´©¸¥ ´ÙÀ½ ´©¸¥ »óŸ¦ À¯ÁöÇϸé, ÀÚ±âÁø´ÜÀÌ ½ÃÀ۵ȴÙ.
¼Û½Å±â¿¡ °íÀåÀÌ ¾øÀ¸¸é, Àû»ö LED°¡ 1Ãʵ¿¾È Á¡µîµÈ´Ù.
¿ø°ÝÁ¶Á¤Å°¿¡ ÀÇÇØ Àü¼ÛµÈ µ¥ÀÌÅÍ´Â ¶óµð¿À-TV-¾ÈÅ׳ª¸¦ ÅëÇØ ¼ö½ÅµÈ´Ù. ¾ÈÅ׳ª ¿þÀÌºê Æ®·¦ (¿þÀÌºê Æ®·¦)Àº, ¼ö½ÅµÈ ´Ù¸¥ ÀüÀÚÆÄ·ÎºÎÅÍ ÀÌ ÀüÀÚÆÄ¸¦ ºÐ¸®ÇÏ¿©, ¹è¼±À» ÅëÇØ º£ÀÌÁ÷ ¸ðµâ·Î Àü´ÞÇÑ´Ù.

AM/FM°ú ¿þÀÌºê Æ®·¦ÀÌ ÀåÂøµÈ µÚ À©µµ¿ì ¾ÈÅ׳ª
1 |
¶óµð¿À ¼ö½Å¿ë AM/FM-ÁõÆø±â |
2 |
¿ø°ÝÁ¶Á¤ÀåÄ¡ ½ÅÈ£¿ë ¿þÀÌºê Æ®·¦ (¿þÀÌºê Æ®·¦). |

¾ÈÅ׳ª ´ÙÀ̹ö½ÃƼ (¼±Åûç¾ç), TV-¾ÈÅ׳ª (¼±Åûç¾ç) ±×¸®°í ¿þÀÌºê Æ®·¦ÀÌ ÀåÂøµÈ µÚ À©µµ¿ì ¾ÈÅ׳ª
1 |
¶óµð¿À ¼ö½Å¿ë ´ÙÀ̹ö½ÃƼ ¹Ú½º |
2 |
¿ø°ÝÁ¶Á¤ÀåÄ¡ ½ÅÈ£¿ë ÁýÀû½Ä ¿þÀÌºê Æ®·¦ (¿þÀÌºê Æ®·¦)À» °®Ãá ¶óµð¿À ¼ö½Å¿ë AM/FM-ÁõÆø±â. |
TV |
TV ¼ö½Å¿ë ¾ÈÅ׳ª ÁõÆø±â¿Í ¿þÀÌºê Æ®·¦ |
¹«¼±½ÅÈ£´Â º£ÀÌÁ÷ ¸ðµâ¿¡¼ Á¡°ËµÇ°í, Æò°¡µÈ´Ù. À¯È¿ÇÑ ¸í·ÉµéÀÌ ½ÇÇàµÈ´Ù (¿¹¸¦ µé¸é, ¼¾Æ®·² ·ÎÅ· ½Ã½ºÅÛ ·ÎÅ©ÇØÁ¦¿Í DWA ¹«ÀåÇØÁ¦).
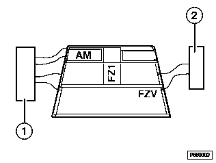
¼ö½Å±â´Â ¾ÈÅ׳ª¿Í ÇÔ²² ½Ç³» ¹é¹Ì·¯¿¡ ¼³Ä¡µÇ¾î ÀÖ´Ù. ¼ö½ÅµÈ ¹«¼±½ÅÈ£´Â ¼ö½Å±â¿¡ ÀÇÇØ FZV ¹è¼±À» °ÅÃÄ º£ÀÌÁ÷ ¸ðµâ·Î Àü´ÞµÇ¾î ±×°÷¿¡¼ Æò°¡µÈ´Ù.
¼¾Æ®·² ·ÎÅ· ½Ã½ºÅÛÀ¸·Î °¡´Â ¸í·ÉÀ» À§ÇÑ ¿ø°ÝÁ¶Á¤ °¡´É°Å¸®ÀÇ ¹Ý°æÀº ÃÖ¼ÒÇÑ 10 mÀÌ´Ù.
À©µµ¿ì ·¹±Ö·¹ÀÌÅÍ¿Í ¼±·çÇÁÀÇ Æí¸®ÇÑ ¿±â¿Í Æí¸®ÇÑ ´Ý±â¸¦ À§ÇÑ, ¿ø°ÝÁ¶Á¤ °¡´É°Å¸®´Â ¹Ý°æ ¾à 5 m·Î Á¦ÇѵȴÙ. ¾ÈÀü»óÀÇ ÀÌÀ¯·Î ¿ø°ÝÁ¶Á¤ °¡´É°Å¸®°¡ ª¾ÆÁö°Ô µÈ´Ù.
ÃʱâȽÃ, Â÷·® ³»¿¡¼ ±â´ÉÀÌ ½ÇÇàµÇ¾î¾ß Çϱ⠶§¹®¿¡ ¿ø°ÝÁ¶Á¤ °¡´É°Å¸®°¡ ª¾ÆÁ³´Ù, ¼Û½Å±â (Ű)´Â ¾ÈÅ׳ª ¹æÇâÀ» ÇâÇϵµ·Ï ÇÑ´Ù.
ÃʱâÈ¿Í ´õºÒ¾î ¿ø°ÝÁ¶Á¤Å°´Â º£ÀÌÁ÷ ¸ðµâ¿¡ ¹èÁ¤µÈ´Ù. ÃʱâȽÃ, ¿ø°ÝÁ¶Á¤Å°¿¡¼ Äڵ尡 Çü¼ºµÇ¾î, º£ÀÌÁ÷ ¸ðµâ·Î Àü¼ÛµÈ´Ù. ÄÚµå´Â Ű¿Í ¸ðµâ¿¡ ÀúÀåµÈ´Ù. ÀÌ Äڵ忡 µû¶ó, º£ÀÌÁ÷ ¸ðµâÀº ½Ã½ºÅÛ¿¡ ¼ÓÇϴ Ű¸¦ °¨ÁöÇÑ´Ù. ÀÌ Å°µé·ÎºÎÅÍÀÇ ¸í·É¸¸ÀÌ ½ÇÇàµÈ´Ù.
¸Å Â÷·®¸¶´Ù ÃÖ°í 4°³ÀÇ Å°°¡ Ãʱâ鵃 ¼ö ÀÖ´Ù. ۰¡ »õ·Î ÃʱâȵǸé, ´Ù¸¥ ŰÀÇ ÄÚµåµéÀº »èÁ¦µÈ´Ù. Ç×»ó ÇÑ ½Ã½ºÅÛÀÇ ¸ðµç ۰¡ µ¿½Ã¿¡ ÃʱâȵǾî¾ß ÇÑ´Ù.
¿ø°ÝÁ¶Á¤Å°¸¦ Â÷½Ç³»ºÎ¿¡¼ ÃʱâȽÃŲ´Ù.
°è¼ÓÇØ¼ ´Ù¸¥ ۸¦ ÃʱâÈÇÏ·Á¸é, Ç׸ñ 3ºÎÅÍÀÇ °úÁ¤À» ¹Ýº¹ÇÑ´Ù (= ŰÀÇ ”·ÎÅ©ÇØÁ¦” ¹öưÀ» ´©¸¥ ´ÙÀ½, ´©¸£°í Àִ´Ù). ´ÜÀÚ R »óŰ¡ ¹Ù²î¾î¼´Â ¾ÈµÈ´Ù.
´ÜÀÚ RÀ» ONÇϸé ÃʱâȰ¡ Ãë¼ÒµÈ´Ù.
Áöħ
¿ø°ÝÁ¶Á¤Å°¿¡ ÀÖ´Â Àü¾Ð°ú °ü·ÃÀÌ ¾ø´Â ¸Þ¸ð¸®´Â, ¹èÅ͸®°¡ ¹æÀüµÇ¾ú°Å³ª ¶Ç´Â ÀçÃæÀü½Ä ¹èÅ͸®°¡ ¹æÀüµÇ¾úÀ» ¶§¿¡µµ ÃʱâÈ µ¥ÀÌÅͰ¡ »èÁ¦µÇÁö ¾Êµµ·Ï, º¸ÀåÇÑ´Ù.