Radiografische afstandsbediening ZKE III

 

Radiografische afstandsbediening ZKE III

Algemeen

Vanaf modeljaar 1996 is de radiografische afstandsbediening geïntegreerd in de basismoduul van de ZKE III. Als antenne wordt de in de achterruit geïntegreerde radioantenne gebruikt.

De scheiding van de radiosignalen wordt verzorgd door een antenneblokkeringsfilter. Het blokkeringsfilter geeft de signalen van de zendersleutel via een gegevensdraad door aan de basismoduul.

Alle radiotelegrammen zijn gecodeerd en zenden een constant wisselende code uit zodat manipulatie en daarmee het onbevoegd openen van de auto voorkomen wordt.

Algemeen

Door de onderling verschillende toelatingseisen voor radiografische apparatuur in de verschillende exportlanden zijn er twee verschillende versies voor de zender en het blokkeringsfilter.

Uitvoering voor 433,92 MHz

Voor alle Europese landen (EUR-versie)

Uitvoering voor 315 MHz

In eerste instantie bedoeld voor USA, Canada en Australië.

Zendersleutel

Er wordt onderscheid gemaakt tussen twee uitvoeringen van de sleutel met afstandsbediening:

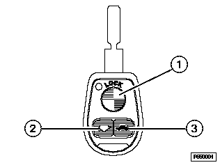
P660001G

Zendersleutel ECE-uitvoering, 433 MHz

 

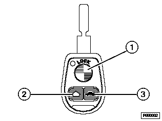
P660002G

Zendersleutel, US-uitvoering, 315 MHz

 

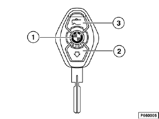
GR_P660005G

Sleutel met afstandsbediening met vaste batterij. Optisch dezelfde uitvoering voor 433 MHz en 315 MHz. De betreffende frequentie is op de achterzijde vermeld.

Toetsbezetting

Via drie toetsen op de sleutel worden, ook afhankelijk van de duur van het indrukken van de toets, verschillende activiteiten op de auto ingeschakeld.

Om manipulaties aan het systeem te voorkomen zijn alle radiobevelen via een constant wisselende code gecodeerd.

Als tijdens het comfortopenen/-sluiten van de ruiten de overdracht van de radiobevelen wordt gestoord, dan wordt de functie in de auto om veiligheidsredenen direct afgebroken.. Voor het weer verder opnemen van de comfortbediening moet de betreffende toets op de zendersleutel worden losgelaten en opnieuw worden ingedrukt.

Spanningscontrole

In de sleutel met afstandsbediening wordt de laadtoestand van de batterij bij het bedienen van een toets gecontroleerd.

Als de spanning een onderste grenswaarde bereikt, dan meldt de zendersleutel aan de basismoduul de staat van de batterijen. De basismoduul verwerkt deze melding als volgt:

Bij een te lage spanning moet:

Opmerking

Bij sleutels met afstandsbediening vanaf 9/99 met een vaste batterij moet in acht worden genomen dat, als de sleutel niet wordt gebruikt, de batterij ontladen kan raken. De batterij is na ca. 1 jaar ontladen. Een volledig ontladen batterij moet ca. 30 uur worden geladen, tot hij weer de volledige capaciteit heeft.

Ontvanger

Ontvangst van de signalen van de zendersleutel

De door de zendersleutel verstuurde gegevens worden via de radio-/T.V.-antenne ontvangen. Een antenneblokkeringsfilter (sperkring) scheidt deze radiogolf van de andere opgevangen radiogolven en geeft deze via een kabel aan de basismoduul van de ZKE III

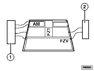
P660003G

Achterruitantenne met AM/FM en sperfilter

1

AM/FM-versterker voor radio-ontvangst

2

Sperfilter (sperkring) voor radiografisch afstandsbedieningssignaal.

 

P660004G

Achterruitantenne met antennediversity (bij E39 speciale uitvoering), T.V.-antenne (speciale uitvoering) en sperfilter

1

Diversitybox voor radio-ontvangst

2

AM/FM-versterker voor radio-ontvangst met geïntegreerd sperfilter (sperkring) voor radiografisch afstandsbedieningssignaal.

TV

Antenneversterker en sperfilter voor televisieontvangst

 

 

In de basismoduul worden de radiosignalen gecontroleerd en geëvalueerd. Geldende bevelen worden uitgevoerd (bijv. centrale vergrendeling ontgrendelen en DWA uitschakelen).

Reikwijdte

De radius van de reikwijdte bedraagt voor de bevelen aan de centrale vergrendeling minimaal 10 m.

Voor het comfortopenen en comfortsluiten van de elektrisch bediende ruiten en het schuif-/kanteldak wordt de reikwijdte begrensd tot een radius van ca. 5 m. De reducering van de reikwijdte is met het oog op de veiligheid voorgenomen.

Bij het initialiseren is de reikwijdte zo ver gereduceerd dat de functie in de auto moet worden uitgevoerd waarbij de zender (sleutel) in de richting van de antenne moet worden gehouden.

functie-aanduiding (alleen sleutels met afstandsbediening vanaf 9/96 met verwisselbare batterij)

Bij de sleutels met afstandsbediening van 9/96 tot 9/99 bevindt zich in het sleutelhuis een rode LED, die de werking en de batterijtoestand in de radiografische zender aangeeft.

Zender-zelftest (alleen sleutel met afstandsbediening met LED)

Met een zelftest kan worden gecontroleerd of de zenderelektronica naar behoren functioneert.

De zelftest wordt gestart als de toets "kofferdeksel/achterklep" en de toets "vergrendelen" tegelijkertijd worden ingedrukt en vastgehouden.

Wanneer de zender in orde is, gaat de rode LED 1 seconde branden.

Initialiseren

Functie

Met het initialiseren worden de zendersleutels toegekend aan de basismoduul. In de zendersleutel wordt bij het initialiseren een code gevormd welke verstuurd wordt aan de basismoduul. De code wordt zowel in de sleutel als in de basismoduul opgeslagen. Aan de hand van deze code herkent de basismoduul de bij het systeem behorende sleutel. Alleen door deze sleutels worden bevelen uitgevoerd.

Per auto kunnen maximaal 4 sleutels worden geïnitialiseerd. Als een sleutel opnieuw wordt geïnitialiseerd worden de codes van de andere sleutels gewist. Alle sleutels van het systeem moeten dan ook gelijktijdig worden geïnitialiseerd.

Initialiseringsprocedure

Voer het initialiseren van de zendersleutels van binnenuit uit.

Voor het initialiseren van de overige sleutels de procedure vanaf punt 3 herhalen (= toets "ontgrendelen" op de sleutel indrukken en vasthouden). De klem R mag niet worden gewijzigd.

Het inschakelen van klem R leidt tot het afbreken van de initialisering.

Opmerking

Bij sleutels met radiografische afstandsbediening tot 9/96 (met twee batterijen) gaat de in het geheugen van de sleutel opgeslagen code verloren, als de sleutel gedurende langere tijd geen spanningsvoorziening heeft. Het vervangen van de zendersleutelbatterijen moet dan ook binnen 1-2 minuten plaatsvinden.