Om de achteruitrijcamera te kalibreren, moeten de weergegeven lijnen in de afbeelding naar de juiste plaatsen op het Target worden gebracht. De kalibratie vereist een bepaalde voertuigtoestand.
Bij de kalibratie wordt de volledige beeldweergave automatisch geactiveerd!
Het Target volgens reparatiehandleiding aan de achteras bevestigen.
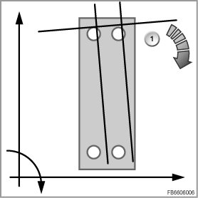
Stap 1: De verdraaiing corrigeren Daartoe de lijnen zo ver roteren, tot deze parallel aan de kringen op het Target liggen.

Stap 2:Verschuiven van de verticale lijnen op de x-as. De lijnen zo lange naar links resp. rechts verschuiven, tot deze door de vier cirkels gaan. In het voorbeeld hieronder moeten de lijnen naar links worden verschoven.
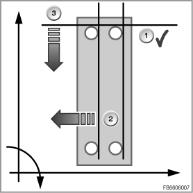
Stap 3:De horizontale lijn op de y-as. De lijn naar boven resp. naar beneden bewegen, tot de snijpunten met de verticale lijnen in de bovenste cirkels liggen. In de afbeelding moet de lijn naar beneden worden verschoven.

Aan het einde van de kalibrering moeten de lijnen door de middelpunten van de cirkels gaan. De optimale uitlijning van de lijnen dann is bereikt wanneer de binnenkanten van de cirkels om de lijnen gelijk start doorschijnen. De ingestelde kalibreerwaarden worden met de bevestiging in de camera opgenomen.
