Waterpomp
Het huis is vervaardigd van aluminium persgietwerk, resp. kunststof en met bouten bevestigd op het distributiekettingdeksel. De dubbele-temperatuursensor voor de koelvloeistof is in het huis van de waterpomp gemonteerd. Deze dubbele temperatuursensor bevindt zich op de plaats waar de koelvloeistof uit de motor wordt afgetapt.

Detailaanzicht waterpomp met dubbele temperatuursensor |
|
Motorkoeler
Voor exportvarianten is bovendien het gebruik van een motoroliekoeler gepland.
De regeling van de motoroliekoeling door een conventionele thermostaat wordt uitsluitend door de koelvloeistoftemperatuur bepaald. Deze regeling kan in drie gebieden worden onderverdeeld:
In dit gebied (thermostaatregelgebied) kan alleen met behulp van een referentieveldthermostaat de koelvloeistoftemperatuur doelbewust worden beïnvloed.
Hierdoor is het ook mogelijk in het deellastgebied van de motor een hogere koelvloeistoftemperatuur in te stellen. Met de hogere bedrijfstemperaturen in het deellastgebied wordt een betere verbranding en daardoor een geringer verbruik en uitstoot van schadelijke stoffen verkregen.
In het vollastgebied zullen hogere bedrijfstemperaturen nadelen met zich meebrengen (verkleining van de voorontsteking door pingelen). Hierdoor worden in het vollastgebied met behulp van de referentieveldthermostaat doelbewust lagere koelvloeistoftemperaturen ingesteld.

|
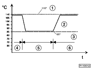
Regelkarakteristiek met referentieveldkoeling |
|---|---|
1 |
Karakteristiek van een 110o C-thermostaat |
2 |
Karakteristiek van een referentieveldthermostaat |
3 |
Karakteristiek van een 85o C-thermostaat |
4 |
Deellastgebied |
5 |
Vollastgebied |
6 |
Deellastgebied |
M.b.v. deze thermostaat is een bewuste verhoging van de koelvloeistoftemperatuur in het deellastgebied mogelijk. Door de verhoging van de koelvloeistoftemperatuur wordt onder deze bedrijfsomstandigheden van de motor een reducering van het brandstofverbruik verkregen. De afstelling van deze referentieveldthermostaat vindt plaats door de motorregeleenheid afhankelijk van een referentieveld.
Het referentieveld wordt bepaald door de factoren:
Opbouw van de referentieveldthermostaat
De referentieveldthermostaat is een integraalthermostaat, d.w.z. thermostaat en thermostaathuis vormen een eenheid.
De principiële mechanische opbouw van de referentieveldthermostaat komt overeen met die van een conventionele thermostaat. Als extra is echter in het waselement een verwarmingselement geïntegreerd.

Doorsnede van de referentieveldthermostaat |
|
Het thermostaathuis van de referentieveldthermostaat is vervaardigd van aluminium persgietwerk. In het thermostaatdeksel is ook de elektrische aansluiting voor het op het waselement van de referentieveldthermostaat bevestigde verwarmingselement geïntegreerd.

Referentiethermostaat met el. aansluiting voor verwarmingselement |
|
Werking van de referentieveldthermostaat
De referentiethermostaat is zo geconstrueerd dat deze zonder ingreep van de geïntegreerde verwarming bij een temperatuur van de koelvloeistof gemeten bij de thermostaat van 103oC opent (motorinlaat). Door het verwarmen van de koelvloeistof in de motor worden bij de motoruitlaat (montageplaats van de koelvloeistoftemperatuursensor voor de DME en de combimeter) bij dit bedrijfspunt ca. 110o C gemeten. Dit is de bedrijfstemperatuur van de motor, waarbij de referentieveldthermostaat zonder regelingreep begint te openen.
Ingeval van een regeling door de DME-regeleenheid wordt het in de thermostaat geïntegreerde verwarmingselement met spanning voorzien (12 volt). Door de verwarming van het waselement opent de thermostaat nu al bij lagere koelvloeistoftemperaturen dan deze zou doen zonder de extra verwarming (thermostaatregelgebied: ca. 80oC - 103oC).

1 |
Openingsslag van de thermostaat |
2 |
Koelvloeistoftemperatuur |
3 |
Aansturing van het verwarmingselement met 12 volt |
4 |
Aansturing van het verwarmingselement met 0 volt |
Als de koelvloeistoftemperatuur tot boven de 113oC bij de motoruitlaat oploopt, dan wordt onafhankelijk van de overige parameters de verwarming van de referentieveldthermostaat door de DME geactiveerd.
Diagnose
De aansluiting van de bedrading en de werking van de referentieveldthermostaat worden door de diagnose in de DME-regeleenheid gecontroleerd. Optredende storingen worden in de storingsgeheugens van de DME-regeleenheid opgeslagen.
Koelvloeistoftemperatuurmeter
De meterkarakteristiek van de koelvloeistoftemperatuurmeter op het instrumentenpaneel werd door het, door de referentieveldthermostaat veroorzaakte, hogere temperatuurniveau van de motor aangepast.
De wijzer van de temperatuurmeter bevindt zich bij koelvloeistoftemperaturen van
75oC - 113o C
in de middenstand.