Deze afstandsbediening is functioneel in de basismoduul van de ZKE geïntegreerd. Bij de E46 Sedan, Touring, Coupé en E83 X3 wordt als antenne de in de achterruit geïntegreerde antenne gebruikt. Bij de E46 Cabrio E52 Z8 en E85 Z4 is de antenne in de binnenspiegel ondergebracht.
De scheiding van de radiosignalen wordt verzorgd door een antenneblokkeerfilter. Het blokkeerfilter geeft de signalen van de afstandsbediening via een gegevensdraad door aan de basismoduul.
Alle radiografische telegrammen zijn versleuteld en zenden een constant wisselende code uit, zodat manipulatie en dus ook het onbevoegd openen van de auto voorkomen wordt.
Door de onderling verschillende toelatingseisen voor radiografische apparatuur in de verschillende exportlanden zijn er twee verschillende versies voor de afstandsbediening en het blokkeerfilter.
Voor alle Europese landen (EUR-versie)
In eerste instantie bedoeld voor USA, Canada en Australië.
Er wordt onderscheid gemaakt tussen twee uitvoeringen van de sleutel met afstandsbediening:
Hieronder zijn de verschillende sleutels met afstandsbediening en de verschillende uitvoeringen afgebeeld.

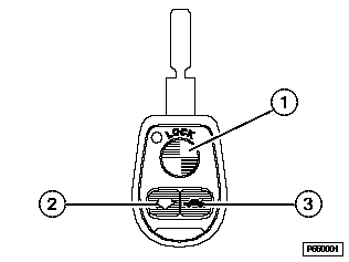
Sleutel met afstandsbediening met verwisselbare batterij, uitvoering 433 MHz

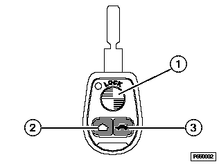
Sleutel met afstandsbediening met verwisselbare batterij, uitvoering 315 MHz

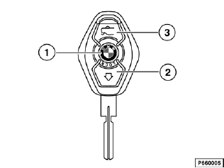
Sleutel met afstandsbediening met oplaadbare batterij. Optisch dezelfde uitvoering voor 433 MHz en 315 MHz. De betreffende frequentie is op de achterzijde vermeld.
Via drie toetsen op de afstandsbediening worden, ook afhankelijk van de duur van het indrukken van de toets, verschillende activiteiten bij de auto ingeschakeld.
Om manipulaties aan het systeem te voorkomen zijn alle radiografische commando's via een constant wisselende code versleuteld.
Als tijdens het comfortopenen/-sluiten van de ruiten de overdracht van de radiocommando's wordt gestoord, dan wordt de functie in de auto om veiligheidsredenen direct afgebroken. Voor een reset van de comfortbediening moet de betreffende toets op de afstandsbediening worden losgelaten en opnieuw worden ingedrukt.
De afstandsbediening in de basismoduul wordt uitgeschakeld, zodra de sleutel zich in het contactslot bevindt. Dit voorkomt dat er afstandsbedieningscommando's worden gegeven wanneer er per ongeluk op toetsen wordt gedrukt. De basismoduul ontvangt de melding ”sleutel in contactslot” van de EWS-regeleenheid.
In de afstandsbediening wordt de laadtoestand van de batterij bij het bedienen van een toets gecontroleerd.
Als de spanning een onderste grenswaarde bereikt, dan meldt de afstandsbediening aan de basismoduul de staat van de batterijen. De basismoduul verwerkt deze melding als volgt:
Bij een te lage spanning moet:
Een spanningsonafhankelijk geheugen in de afstandsbediening waarborgt dat ook bij een lege batterij de initialiseringsgegevens niet worden gewist.
Opmerking
Bij afstandsbedieningen vanaf 9/99 met een oplaadbare batterij moet er rekening mee worden gehouden dat de batterij ontlaadt, als de afstandsbediening niet wordt gebruikt. De batterij is na ca. 1 jaar ontladen. Een volledig ontladen batterij moet ca. 30 uur worden geladen, tot hij weer de volle capaciteit heeft.
Bij afstandsbedieningen tot 9/99 bevindt zich in het huis een rode LED, die de werking en de batterijtoestand aangeeft.
Met een zelftest kan worden gecontroleerd of de zendelektronica naar behoren functioneert.
De zelftest wordt gestart als de toets ”kofferdeksel/achterklep” en de toets ”vergrendelen” tegelijkertijd worden ingedrukt en vastgehouden.
Wanneer de afstandsbediening in orde is, gaat de rode LED 1 seconde branden.
De door de afstandsbediening verstuurde gegevens worden via de radio-/tv-antenne ontvangen. Een antenneblokkeerfilter (elektronisch filter) scheidt deze radiogolven van de andere opgevangen radiogolven en geeft deze via een draad door aan de basismoduul.

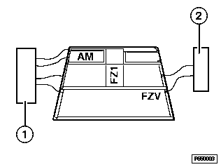
Achterruitantenne met AM/FM en blokkeerfilter
1 |
AM/FM-versterker voor radio-ontvangst |
2 |
Blokkeerfilter (elektronisch filter) voor radiografisch afstandsbedieningssignaal. |

Achterruitantenne met antennediversity (speciale uitvoering), tv-antenne (speciale uitvoering) en blokkeerfilter
1 |
Diversitybox voor radio-ontvangst |
2 |
AM/FM-versterker voor radio-ontvangst met geïntegreerd blokkeerfilter (elektronisch filter) voor radiografisch afstandsbedieningssignaal. |
TV |
Antenneversterker en blokkeerfilter voor televisie-ontvangst |
In de basismoduul worden de radiosignalen gecontroleerd en geëvalueerd. Geldende commando's worden uitgevoerd (bijv. centrale vergrendeling ontgrendelen en DWA uitschakelen).
De ontvanger is samen met de antenne in de binnenspiegel gemonteerd. Ontvangen radiografische signalen worden door de ontvanger via draad FZV aan de basismoduul doorgegeven en daar geëvalueerd.
De reikwijdte bedraagt voor de commando's aan de centrale vergrendeling minstens 10 m.
Voor het comfortopenen en comfortsluiten van de elektrisch bediende ruiten en het schuif-/kanteldak wordt de reikwijdte begrensd tot ca. 5 m. De reikwijdte is in verband met de veiligheid verminderd.
Bij het initialiseren is het bereik zo ver verminderd, dat de functie in de auto moet worden uitgevoerd waarbij de zender (afstandsbediening) in de richting van de antenne moet worden gehouden.
Met het initialiseren worden de afstandsbedieningen toegewezen aan de basismoduul. In de afstandsbediening wordt bij het initialiseren een code gevormd, welke verstuurd wordt aan de basismoduul. De code wordt zowel in de afstandsbediening als in de basismoduul opgeslagen. Aan de hand van deze code herkent de basismoduul de bij het systeem behorende afstandsbedieningen. Alleen commando's van deze afstandsbedieningen worden uitgevoerd.
Per auto kunnen maximaal 4 afstandsbedieningen worden geïnitialiseerd. Als een afstandsbediening opnieuw wordt geïnitialiseerd, worden de codes van de andere afstandsbedieningen gewist. Alle afstandsbedieningen van het systeem moeten dan ook gelijktijdig worden geïnitialiseerd.
Het initialiseren van de afstandsbedieningen moet in de auto worden uitgevoerd.
Voor het initialiseren van de overige afstandsbedieningen de procedure vanaf punt 3 herhalen (= toets ”ontgrendelen” op de sleutel indrukken en vasthouden). Klem R mag niet worden gewijzigd.
Het inschakelen van klem R leidt tot het afbreken van de initialisering.
Opmerking
Een spanningsonafhankelijk geheugen in de afstandsbediening waarborgt dat ook bij een lege batterij de initialiseringsgegevens niet worden gewist.