A partir do ano de modelos 1996, o comando à distância via sinal de radio encontra-se integrado no módulo principal da ZKE III. Como antena é utilizada a antena integrada no óculo traseiro para o rádio.
A separação dos sinais de rádio realiza-se no circuito supressor da antena. O circuito supressor transmite ao módulo principal os sinais da chave com comando à distância via rádio através de uma linha de dados.
Todos os radiotelegramas estão codificados e emitem um código continuamente mudado, impedindo deste modo manipulações e, com elas, uma abertura não autorizada da viatura.
Devido às diferentes regulamentações do licenciamento para equipamentos de radiocomunicação nos países, existem duas versões diferentes para o transmissor e o circuito supressor.
Para todos os países europeus (versão EUR)
Destinada em primeira linha para EUA, Canadá e Austrália.
Deve distinguir-se entre duas versões básicas de chaves com comando à distância via rádio:

Chaves com comando à distância via rádio, versão ECE, 433 MHz

Chaves com comando à distância via rádio, versão EUA, 315 MHz

Chaves com comando à distância via rádio com acumulador. O aspecto exterior das versões para 433 MHz e 315 MHz é igual. A frequência válida está impressa na parte de trás.
Através das três teclas na chave e em função também da duração da pressão na tecla, são activadas diferentes acções na viatura.
Para impedir manipulações no sistema, todos os comandos via sinal de radio estão codificados através de um código continuamente mudado.
Se a transmissão dos comandos via sinal de radio for perturbada durante a abertura/fecho de conforto dos vidros, interrompe-se, por motivos de segurança, imediatamente a função na viatura. Para retomar o comando de conforto deve largar-se a tecla correspondente na chave com comando à distância via rádio e premir novamente.
Na chave com comando à distância via rádio, ao accionar uma tecla, é monitorizado o estado de carga da bateria ou do acumulador.
Se a tensão atinge um valor limite inferior, a chave com comando à distância via rádio comunica ao módulo principal o estado da bateria. O módulo principal processa esta mensagem do seguinte modo:
Caso surja uma subtensão deve-se:
Indicação
Em chaves com comando à distância via rádio posteriores a 9/99 com acumulador deve ter-se em atenção que em caso de não utilização se dá uma descarga espontânea usual nos acumuladores. O acumulador fica descarregado após aprox. 1 ano. Um acumulador totalmente descarregado deve ser carregado aprox. 30 horas até voltar a alcançar a capacidade total.
Os dados emitidos pela chave com comando à distância via rádio são recebidos através da antena de rádio/TV. Um circuito supressor da antena (circuito supressor) separa estas ondas de rádio de outras ondas de rádio recebidas e transmite-as através de um cabo ao módulo principal da ZKE III

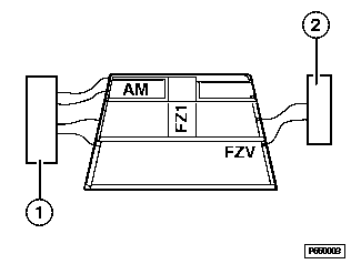
Antena do óculo traseiro com AM/FM e circuito supressor
1 |
Amplificador AM/FM para recepção de rádio |
2 |
Filtro supressor (circuito supressor) para sinal de comando via rádio. |

Antena do óculo traseiro com sistema de antenas diversity (no E39, equipamento extra), antena TV (equipamento extra) e filtro supressor
1 |
Caixa diversity para recepção rádio |
2 |
Amplificador AM/FM para recepção rádio com filtro supressor integrado (circuito supressor) para sinal de comando via rádio. |
TV |
Amplificador para antena e filtro supressor para recepção TV |
No módulo principal são verificados e avaliados os sinais de rádio. Instruções válidas são executadas (p. ex. desbloquear o sistema de fecho central e desarmar o DWA).
O raio de alcance para as instruções para o sistema de fecho central é no mínimo de 10 m.
Para a abertura e fecho de conforto dos levanta vidro e do tejadilho de correr/deflector, o alcance é limitado a um raio de aprox. 5 m. A redução do alcance é efectuada por motivos de segurança.
Ao inicializar, o alcance é tão reduzido que a função deve ser executada dentro da viatura, enquanto que o transmissor (chave) deve ser orientado no sentido da antena.
Nas chaves com comando à distância via rádio desde 9/96 até 9/99 encontra-se montado no corpo da chave um LED vermelho que indica o funcionamento e o estado da bateria no transmissor.
Com um autoteste pode comprovar-se se o sistema electrónico do transmissor funciona sem defeitos.
Inicia-se o autoteste premindo simultaneamente as teclas "tampa da mala" e "Trancar" e mante-las premidas.
Se o transmissor não tiver defeitos, o LED vermelho luminesce por 1 segundo.
Com a inicialização, a chave com comando à distância via rádio é atribuída ao módulo principal. Na chaves com comando à distância via rádio, ao inicializar é gerado um código e enviado para o módulo principal. O código é memorizado na chave e no módulo principal. Com base nestes códigos, o módulo principal identifica a chave pertencente à instalação. Só são executadas instruções provenientes destas chaves.
Por viatura podem inicializar-se no máximo 4 chaves. Se uma chave for inicializada de novo, os códigos das outras chaves são apagados. Por este motivo devem inicializar-se sempre simultaneamente todas as chaves de uma instalação.
Efectuar a inicialização da chave com comando à distância via rádio no interior da viatura.
Para inicializar as outras chaves, repetir o processo a partir do ponto 3 (= premir a tecla "destrancar" na chave e mante-la premida). O borne R não deve ser alterado.
O ligar do borne R conduz ao aborto da inicialização.
Indicação
Nas chaves com comando à distância via rádio até 9/96 (com duas baterias) o código memorizado na chave com comando à distância via rádio perde-se caso este permaneça sem alimentação eléctrica durante um longo período de tempo. Deverá, por esta razão, efectuar-se a substituição da bateria da chave no espaço de 1-2 minutos.