O comando à distância via sinal de rádio encontra-se integrado funcionalmente no módulo principal da ZKE. No E46 Berlina, Touring, Coupé e E83 X3 utiliza-se como antena, a que se encontra integrada no óculo traseiro. No E46 Cabrio E52 Z8 e E85 Z4, a antena está alojada no retrovisor interior.
A separação dos sinais de rádio realiza-se num circuito supressor da antena. O circuito supressor transmite ao módulo principal os sinais da chave de comando à distância via rádio através de uma linha de dados.
Todos os radiotelegramas estão codificados e enviam um código em contínua alteração, impedindo-se deste modo manipulações e, com elas, uma abertura não autorizada da viatura.
Devido às diferentes regulamentações de licenciamento para equipamentos de radiocomunicação nos países, existem duas versões diferentes para o transmissor e o circuito supressor.
Para todos os países europeus (versão EUR)
Destinada principalmente para os EUA, Canadá e Austrália.
Deve distinguir-se entre duas versões básicas de chaves de comando à distância via rádio:
A seguir representam-se as diferentes chaves de comando à distância via rádio, assim como as diferentes versões.

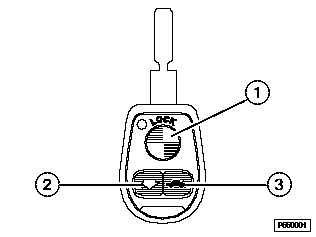
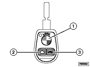
Chave de comando à distância via rádio com pilha substituível, versão de 433 MHz

Chave de comando à distância via rádio com pilha substituível, versão de 315 MHz

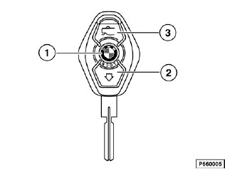
Chaves de comando à distância via rádio com acumulador. O aspecto exterior das versões para 433 MHz e 315 MHz é igual. A frequência válida está impressa na parte posterior.
Através das três teclas na chave e em função também da duração da pressão na tecla, são activadas diferentes acções na viatura.
Para impedir manipulações no sistema, todos os comandos via sinal de rádio estão codificados através de um código em contínua alteração.
Se a transmissão dos comandos via sinal de rádio for perturbada durante a abertura/fecho conforto dos vidros, interrompe-se, por motivos de segurança, imediatamente a função na viatura. Para retomar o comando conforto deve largar-se a tecla correspondente na chave de comando à distância via rádio e premir novamente.
De modo a impedir accionamentos involuntários das teclas e comandos a elas associados, o comando à distância encontra-se desactivado no módulo principal quando a chave da viatura está introduzida no canhão de ignição. O módulo principal recebe da unidade de comando EWS a mensagem ”Chave introduzida”.
Na chave de comando à distância via rádio, ao accionar uma tecla, é monitorizado o estado de carga da pilha ou do acumulador.
Se a tensão atinge um valor limite inferior, a chave de comando à distância via rádio comunica ao módulo principal o estado da pilha. O módulo principal processa esta mensagem do seguinte modo:
Caso ocorra uma subtensão deve-se:
Uma memória nas chaves de comando à distância via rádio independente da tensão garante que mesmo com pilha/acumulador descarregado os dados de inicialização não são apagados.
Indicação
Em chaves de comando à distância via rádio posteriores a 9/99 com acumulador deve ter-se em atenção que em caso de não utilização se dá uma descarga espontânea, de resto normal nos acumuladores. O acumulador fica descarregado após aprox. 1 ano. Um acumulador totalmente descarregado deve ser carregado aprox. 30 horas, até voltar a alcançar a capacidade total.
Nas chaves de comando à distância via rádio até 9/99 encontra-se montado no corpo da chave um LED vermelho que indica o funcionamento e o estado da pilha no rádio-emissor.
Com um autoteste pode comprovar-se se o sistema electrónico do transmissor funciona correctamente.
Inicia-se o autoteste, premindo-se simultaneamente as teclas ”Tampa da mala” e ”Trancar” e mantendo-as premidas.
Se o transmissor não tiver defeitos, o LED vermelho acende por 1 segundo.
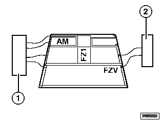
Os dados emitidos pela chave de comando à distância via rádio são recebidos através da antena de rádio/TV. Um filtro supressor da antena (circuito supressor) separa estas ondas de rádio de outras ondas de rádio recebidas e transmite-as através de um cabo ao módulo principal.

Antena do óculo traseiro com AM/FM e circuito supressor
1 |
Amplificador AM/FM para recepção de rádio |
2 |
Filtro supressor (circuito supressor) para sinal de comando à distância via rádio. |

Antena do óculo traseiro com sistema de antenas Diversity (equipamento extra), antena TV (equipamento extra) e filtro supressor
1 |
Caixa Diversity para recepção rádio |
2 |
Amplificador AM/FM para recepção rádio com filtro supressor integrado (circuito supressor) para sinal de comando via rádio. |
TV |
Amplificador para antena e filtro supressor para recepção TV |
No módulo principal são verificados e avaliados os sinais de rádio. Instruções válidas são executadas (p. ex. destrancar o sistema de fecho central e desarmar o DWA).
O receptor e a antena estão alojados juntos no retrovisor interior. Os sinais de rádio recebidos são transmitidos pelo receptor através do condutor FZV ao módulo principal e aí avaliados.
O raio de alcance para as instruções para o sistema de fecho central é no mínimo de 10 m.
Para a abertura e fecho conforto dos levanta-vidros e do tejadilho de correr/deflector, o alcance é limitado a um raio de aprox. 5 m. A redução do alcance é efectuada por motivos de segurança.
Ao inicializar, o alcance é tão reduzido que a função deve ser executada dentro da viatura, enquanto que o transmissor (chave) deve ser orientado no sentido da antena.
Com a inicialização, a chave de comando à distância via rádio é atribuída ao módulo principal. Na chave de comando à distância via rádio, ao inicializar é gerado um código e enviado para o módulo principal. O código é memorizado na chave e no módulo principal. Com base nestes códigos, o módulo principal identifica a chave pertencente ao sistema. Só são executadas instruções provenientes destas chaves.
Por viatura podem inicializar-se no máximo 4 chaves. Se uma chave for inicializada de novo, os códigos das outras chaves são apagados. Por este motivo devem inicializar-se sempre simultaneamente todas as chaves de um sistema.
Efectuar a inicialização da chave de comando à distância via rádio no interior da viatura.
Para inicializar as outras chaves, repetir o processo a partir do ponto 3 (= premir a tecla ”Destrancar” na chave e mantê-la premida). O borne R não deve ser alterado.
O ligar do borne R conduz à interrupção da inicialização.
Indicação
Uma memória independente da tensão nas chaves de comando à distância via rádio garante que mesmo com a pilha ou o acumulador descarregado os dados de inicialização não são apagados.