Bomba da água
A carcaça é construída de alumínio moldado sob pressão ou material plástico e está aparafusada sobre o cárter da distribuição. Na carcaça da bomba da água está montada a sonda térmica dupla para o líquido de refrigeração. Esta sonda térmica dupla encontra-se no local onde o líquido de refrigeração sai do motor.

Vista de pormenor da bomba da água com sonda térmica dupla |
|
Radiador do motor
Para determinadas variantes nacionais está previsto adicionalmente a instalação de um radiador do óleo do motor.
A regulação da refrigeração do motor através de um termóstato convencional é determinada exclusivamente pela temperatura do líquido de refrigeração. Esta regulação pode subdividir-se em três áreas de funcionamento:
Nesta área de funcionamento (margem de regulação do termóstato) pode agora influenciar-se sistematicamente a temperatura do líquido de refrigeração, com auxílio do termóstato por mapeamento.
Deste modo, é agora possível ajustar uma temperatura mais elevada do líquido de refrigeração no regime de carga parcial do motor. Com temperaturas de funcionamento mais elevadas no regime de carga parcial, consegue-se uma combustão mais perfeita, resultando daí um consumo e uma emissão de substâncias poluentes mais reduzido.
No regime de plena carga, temperaturas de funcionamento mais elevadas trariam inconvenientes (atraso do ponto de ignição, devido a detonação). Por essa razão, em regime de plena carga, são consequentemente ajustadas temperaturas do líquido de refrigeração mais baixas, com auxílio do termóstato por mapeamento.

|
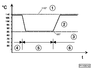
Característica de regulação da refrigeração por mapeamento |
|---|---|
1 |
Curva característica de um termóstato de 110o C |
2 |
Curva característica de um termóstato por mapeamento |
3 |
Curva característica de um termóstato de 85o C |
4 |
Regime de carga parcial |
5 |
Regime de plena carga |
6 |
Regime de carga parcial |
Com auxílio deste termóstato, existe a possibilidade de se efectuar um aumento consequente da temperatura do líquido de refrigeração no regime de carga parcial. Graças à elevação da temperatura do líquido de refrigeração, consegue-se uma redução do consumo de combustível nestes regimes de funcionamento do motor. A regulação deste termóstato por mapeamento é efectuada através da unidade de comando do motor em função de um campo característico.
Este campo característico é determinado pelos factores:
Configuração do termóstato por mapeamento
O termóstato por mapeamento é do tipo integral, ou seja. o termóstato e a tampa do termóstato formam uma unidade.
O princípio da configuração mecânica do termóstato por mapeamento corresponde ao de um termóstato convencional. No entanto, no elemento de expansão (elemento de cera) está integrado adicionalmente um elemento de aquecimento.

Representação em corte do termóstato por mapeamento |
|
A tampa do termóstato por mapeamento é de alumínio moldado sob pressão. Integrada na tampa do termóstato está também a ligação eléctrica para o elemento de expansão agregado ao elemento de expansão do termóstato por mapeamento.

Termóstato por mapeamento com ligação eléctrica para o elemento de aquecimento |
|
Funcionamento do termóstato por mapeamento
O termóstato por mapeamento está afinado de modo a que abra sem a intervenção do aquecimento integrado a uma temperatura do líquido de refrigeração no termóstato de 103oC (entrada do motor). Através do aquecimento do líquido de refrigeração no motor, é medida à saída do motor (local de montagem da sonda térmica do líquido de refrigeração para a DME e a indicação no instrumento combinado), uma temperatura de aprox. 110o C neste ponto de funcionamento. Esta é a temperatura de funcionamento do motor, à qual o termóstato por mapeamento começa a abrir, sem intervenção da regulação.
No caso de uma intervenção da regulação através da unidade de comando DME, o elemento de aquecimento integrado no termóstato é alimentado com corrente (12 V). Através do aquecimento do elemento de expansão, o termóstato abre já a temperaturas do líquido de refrigeração mais baixas do que seria o caso, sem o aquecimento adicional (margem de regulação do termóstato: aprox. 80oC - 103oC).

1 |
Curso de abertura do termóstato |
2 |
Temperatura do líquido de refrigeração |
3 |
Activação do elemento de aquecimento com 12 V |
4 |
Activação do elemento de aquecimento com 0 V |
Se a temperatura do líquido de refrigeração exceder 113oC na saída do motor, o aquecimento do termóstato por mapeamento é activado pela DME independentemente dos restantes parâmetros.
Diagnóstico
O estabelecimento de ligação e o funcionamento do termóstato por mapeamento são monitorizados pelo diagnóstico na unidade de comando DME. Defeitos que ocorram são registados na memória de falhas da unidade de comando DME.
Indicador da temperatura do líquido de refrigeração
A característica da indicação do indicador da temperatura do líquido de refrigeração no instrumento combinado foi adaptada ao mais elevado nível da temperatura do motor, condicionada pelo termóstato por mapeamento.
O ponteiro do indicador da temperatura do líquido de refrigeração no instrumento combinado encontra-se, para temperaturas do líquido de refrigeração de
75oC - 113o C,
na posição central.