Para se calibrar a câmara de marcha-atrás, devem mover-se as linhas apresentadas na imagem para a posição correcta no alvo. A calibragem precisa que a viatura se encontre num determinado estado.
Durante a calibragem, a apresentação da imagem completa activa-se automaticamente!
Fixar o alvo no trem traseiro de acordo com a instrução de reparação.
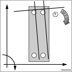
Passo 1: Corrigir a torção. Para o efeito, rodar as linhas até ficarem paralelas aos círculos no alvo.

Passo 2: Deslocamento das linhas verticais para o eixo das abcissas (x). Mover as linhas para a esquerda ou direita até passarem pelos quatro círculos. No exemplo seguinte, as linhas devem ser movidas para a esquerda.
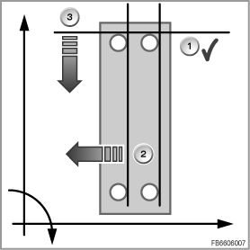
Passo 3: A linha horizontal para o eixo das ordenadas (y). Mover a linha para cima ou para baixo, até as intersecções com as linhas verticais ficarem situadas nos círculos superiores. No gráfico seguinte, a linha deve ser movida para baixo.

No fim da calibragem, as linhas devem passar pelos centros dos círculos. Alcança-se então o alinhamento perfeito das linhas quando as zonas internas dos círculos em volta das linhas transparecerem com igual intensidade. Os valores de calibragem ajustados são assumidos na câmara através da confirmação.
