С 1996 года выпуска система дистанционного радиоуправления интегрирована в основной модуль ZKE III. В качестве системной антенны используется антенна радиоприемника, установленная на заднем стекле.
Разделение радиосигналов происходит в заграждающем фильтре антенны. Заграждающий фильтр передает сигналы от радиоключа по проводу передачи данных на основной модуль.
Все радиосигналы зашифрованы с помощью постоянно меняющегося кода, таким образом пресекается возможное вмешательство в систему и, тем самым, открывание автомобиля посторонними лицами.
Из-за различий в правилах экспорта и регистрации радиоаппаратуры в определенных странах существуют два разных варианта передатчика и заграждающего фильтра.
Для всех европейских стран (версия EUR)
Предназначено в первую очередь для США, Канады и Австралии.
Следует различать два основных исполнения радиоключей:

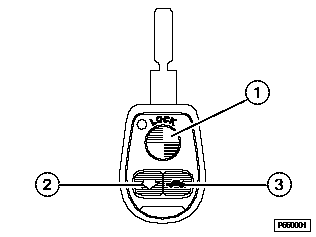
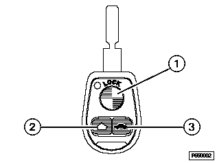
Радиоключ, исполнение для стран ЭКЕ, 433 МГц

Радиоключ, исполнение для США, 315 МГц

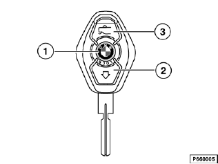
Радиоключ с аккумулятором. Внешне такое же исполнение как на 433 МГц и 315 МГц. Рабочая частота обозначена на задней стороне.
С помощью трех кнопок на радиоключе в зависимости от продолжительности нажатия можно активизировать функции различных автомобильных систем.
В целях пресечения возможного вмешательства в систему посторонних лиц все радиокоманды зашифровываются с помощью постоянно меняющегося кода.
Если при комфортном открывании/закрывании окон процесс передачи радиокоманд нарушается, то в целях безопасности тотчас происходит отмена функции. Для возобновления комфортного режима управления нужно отпустить и повторно нажать соответствующую кнопку на радиоключе.
Каждый раз при нажатии на одну из кнопок в системе радиоключа производится контроль заряда батареек или аккумулятора.
При снижении напряжения до нижнего предела радиоключ посылает на основной модуль сообщение о статусе батареек. Основной модуль обрабатывает это сообщение следующим образом:
При выявлении пониженного напряжения необходимо:
Примечание
При радиоключах начиная с 09/1999 с аккумулятором следует следить за тем, чтобы во время хранения не происходило саморазряда, обычного для аккумуляторов. Аккумулятор разряжается прим. за 1 год. Глубоко разряженный аккумулятор необходимо заряжать прим. в течение 30 часов до тех пор, пока он снова не будет иметь полную емкость.
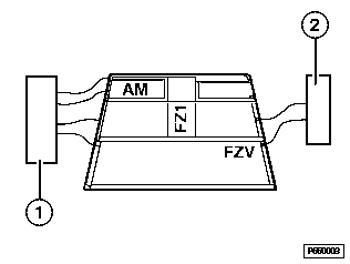
Посланные радиоключом данные принимаются антенной радиоприемника/телеприемника. Заграждающий фильтр (заграждающий контур) антенны отделяет данные радиоволны от других принимаемых радиоволн и направляет их по специальному проводу на основной модуль ZKE III.

Антенна на заднем стекле с AM/FM и заграждающим фильтром
1 |
Усилитель AM/FM для приема радиосигналов |
2 |
Заграждающий фильтр (заграждающий контур) для сигналов системы дистанционного радиоуправления. |

Антенна на заднем стекле с функцией разнесения антенн (на E39 - дополнительное оборудование), телевизионной антенной (дополнительное оборудование) и заграждающим фильтром
1 |
Блок разнесенной антенны для приема радиосигналов |
2 |
Усилитель AM/FM для приема радиосигналов со встроенным заграждающим фильтром (заграждающим контуром) для сигналов системы дистанционного радиоуправления. |
Телевидение (ТВ) |
Антенный усилитель и заграждающий фильтр для приема телевизионных сигналов |
В основном модуле производится проверка и анализ радиосигналов. Верные команды выполняются (например, отпереть центральный замок и отключить систему охранной сигнализации).
Радиус действия для команд на активизацию центрального замка составляет минимум 10 м.
Для функций комфортного открывания и закрывания окон и люка с подъемно-сдвижной крышкой радиус действия ограничен прим. до 5 м. Уменьшение радиуса действия производится в целях безопасности.
При инициализации радиус действия уменьшается настолько, что инициализацию следует производить, находясь в салоне автомобиля, при этом передатчик (радиоключ) должен быть направлен в сторону антенны.
У радиоключей с 09/1996 до 09/1999 в корпусе установлен красный светодиод, который показывает функционирование и состояние батарейки в радиопередатчике.
С помощью самодиагностики можно проверить, исправно ли работает электроника передатчика.
Самодиагностика запускается одновременным нажатием и удержанием кнопки "Багажная дверь" и кнопки "Запирание".
Если передатчик исправен, красный светодиод загорается на 1 секунду.
В процессе инициализации производится приписывание радиоключей к основному модулю. При инициализации в радиоключе создается и посылается на основной модуль определенный код. Этот код сохраняется в памяти радиоключа и основного модуля. С помощью этого кода основной модуль распознает ключи, принадлежащие к системе. Выполняются команды, подаваемые только с этих ключей.
Допускается инициализация максимум 4-х радиоключей на автомобиль. При инициализации одного радиоключа происходит стирание кодов других радиоключей. Поэтому в рамках одной системы все радиоключи должны инициализироваться одновременно.
Производить инициализацию радиоключей в салоне автомобиля.
Для инициализации остальных ключей повторить всю процедуру начиная с пункта 3 (= нажать и удержать кнопку "Отпирание" на радиоключе). Не изменять статус контакта R.
Замыкание контакта R ведет к отмене инициализации.
Примечание
У радиоключей до 09/1996 (с двумя батарейками) записанный в ключе код теряется, если радиоключ длительное время находится без питания. Поэтому замена батареек ключа должна производиться в течение 1-2 мин.