Система дистанционного радиоуправления функционально интегрирована в основной модуль ZKE. На автомобилях E46 Седан, Touring, Купе и E83 X3 в качестве антенны используется антенна, встроенная в заднее стекло. На E46 Кабриолет, E52 Z8 и E85 Z4 антенна встроена во внутреннее зеркало.
Разделение радиосигналов осуществляется в заграждающем фильтре в антенне. Заграждающий фильтр передает сигналы от ключа с передатчиком по проводу передачи данных на основной модуль.
Все радиосигналы зашифрованы и посылают постоянно меняющийся код, так чтобы можно было исключить манипуляции и, тем самым, несанкционированное открывание автомобиля.
Из-за различий в правилах экспорта и регистрации радиоаппаратуры в различных странах существуют два варианта передатчика и заграждающего фильтра.
Для всех европейских стран (версия EUR)
Предназначено в первую очередь для США, Канады и Австралии.
Следует различать два основных исполнения ключей с передатчиком:
Далее представлены различные ключи с передатчиком, а также различные исполнения.

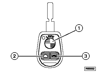
Ключ с передатчиком со сменной батарейкой, исполнение 433 МГц

Ключ с передатчиком со сменной батарейкой, исполнение 315 МГц

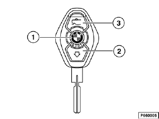
Ключ с передатчиком с аккумулятором. Внешне такое же исполнение как на 433 МГц и 315 МГц. Рабочая частота обозначена на задней стороне.
С помощью трех кнопок на ключе с передатчиком в зависимости от продолжительности нажатия можно активизировать функции различных автомобильных систем.
Для исключения манипуляций с системой все радиокоманды зашифрованы с использованием постоянно меняющегося кода.
Если при комфортном открывании/закрывании окон процесс передачи радиокоманд нарушается, то в целях безопасности тотчас происходит отмена функции. Для возобновления комфортного управления нужно отпустить и повторно нажать соответствующую кнопку на ключе с передатчиком.
Чтобы предотвратить непреднамеренные нажатия кнопок и связанные с этим команды дистанционного управления, оно деактивизируется в основном модуле, когда ключ вставлен в замок зажигания. Основной модуль получает сообщение ”Ключ вставлен” от ЭБУ EWS.
Каждый раз при нажатии на кнопку в ключе с передатчиком производится контроль заряда аккумулятора.
При снижении напряжения до нижнего предела ключ с передатчиком посылает сообщение о состоянии батарейки на основной модуль. Основной модуль обрабатывает это сообщение следующим образом:
При выявлении пониженного напряжения необходимо:
Благодаря энергонезависимой памяти в ключе с передатчиком даже при разряженной батарейке/аккумуляторе данные инициализации не стираются.
Примечание
У ключей с аккумулятором (начиная с 09/1999) необходимо следить за тем, чтобы во время хранения не происходило саморазряда, обычного для аккумуляторов. Аккумулятор разряжается прим. за 1 год. Глубоко разряженный аккумулятор следует заряжать прим. в течение 30 часов, пока он снова не будет иметь полную емкость.
У ключей 09/1999 в корпусе установлен красный светодиод, который показывает функционирование и состояние батарейки в передатчике.
С помощью самодиагностики можно проверить, безупречно ли работает электронный блок передатчика.
Самодиагностика запускается одновременным нажатием и удерживанием кнопки ”Крышка багажного отделения” и кнопки ”Запирание”.
Если передатчик исправен, красный светодиод загорается на 1 секунду.
Посылаемые ключом с передатчиком данные принимаются радио-/телевизионной антенной. Заграждающий фильтр (заграждающий контур) антенны отделяет эти радиоволны от других принимаемых радиоволн и направляет их по проводу на основной модуль.

Антенна в заднем стекле с AM/FM и заграждающим фильтром
1 |
Усилитель AM/FM для приема радиосигналов |
2 |
Заграждающий фильтр (заграждающий контур) для сигналов системы дистанционного радиоуправления. |

Антенна в заднем стекле с разнесением (дополнительное оборудование), телевизионной антенной (дополнительное оборудование) и заграждающим фильтром
1 |
Блок разнесенной антенны для приема радиосигналов |
2 |
Усилитель AM/FM для приема радиосигналов со встроенным заграждающим фильтром (заграждающим контуром) для сигналов системы дистанционного радиоуправления. |
Телевидение (ТВ) |
Антенный усилитель и заграждающий фильтр для приема телевизионных сигналов |
В основном модуле производится проверка и анализ радиосигналов. Верные команды выполняются (например, отпереть центральный замок и отключить систему охранной сигнализации).
Приемник встроен вместе с антенной во внутреннее зеркало. Принимаемые радиосигналы передаются приемником по проводу FZV к основному модулю и там анализируются.
Радиус действия для команд управления центральным замком составляет минимум 10 м.
Для функций комфортного открывания и закрывания окон и люка с подъемно-сдвижной крышкой радиус действия ограничен прим. 5 м. Уменьшение радиуса действия производится в целях безопасности.
При инициализации радиус действия уменьшается настолько, что инициализацию следует производить, находясь в салоне автомобиля, при этом передатчик (ключ) должен быть направлен в сторону антенны.
В процессе инициализации производится приписывание ключей с передатчиком к основному модулю. При инициализации в ключе с передатчиком генерируется и посылается на основной модуль определенный код. Этот код сохраняется в памяти ключа с передатчиком и основного модуля. С помощью этого кода основной модуль распознает ключи, принадлежащие к системе. Выполняются команды, подаваемые только с этих ключей.
Допускается инициализация максимум 4-х ключей на автомобиль. При новой инициализации ключа коды других ключей стираются. Поэтому в рамках одной системы все ключи с передатчиком должны инициализироваться одновременно.
Производить инициализацию ключей с передатчиком, находясь в салоне автомобиля.
Для инициализации остальных ключей повторить всю процедуру начиная с пункта 3 (= нажать и удержать кнопку ”Отпирание” на ключе с передатчиком). Не изменять статус контакта R.
Замыкание контакта R ведет к отмене инициализации.
Примечание
Благодаря энергонезависимой памяти в ключе с передатчиком даже при разряженной батарейке или разряженном аккумуляторе данные инициализации не стираются.