A partir del año de modelos 1996, el radiotelemando está integrado en el módulo básico de la ZKE III. Como antena se emplea la antena integrada en la luneta trasera para la radio.
La separación de las señales radioeléctricas se efectúa en un circuito filtrador de la antena. El circuito filtrador transmite las señales de la llave radioeléctrica al módulo básico a través de una línea de datos.
Todos los radiotelegramas están cifrados y emiten un código continuamente cambiante, impidiéndose así manipulaciones y, con ellas, una apertura del vehículo no autorizada.
Por razón de las diferentes condiciones de autorización vigentes en distintos países para equipos radioeléctricos, hay dos versiones de emisor y circuito filtrador.
Para todos los países europeos (versión EUR)
En primera línea determinada para EE.UU., Canadá y Australia.
Debe diferenciarse entre dos versiones básicas de llaves radioeléctricas:

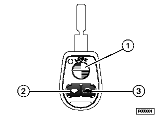
Llave radioeléctrica de la versión ECE, 433 MHz

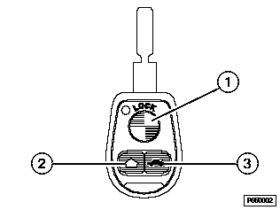
Llave radioeléctrica de la versión para EE.UU., 315 MHz

Llave radioeléctrica con acumulador. La misma versión en cuanto a su forma externa para 433 MHz y 315 MHz. La frecuencia válida va impresa en el dorso.
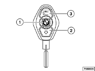
Mediante las tres teclas de la llave y en función de la duración de su pulsación, se provocan diferentes acciones en el vehículo.
Para impedir manipulaciones ilícitas en el sistema, todas las órdenes dadas por radiotelemando están cifradas mediante un código continuamente cambiante.
Si la transmisión de las órdenes dadas por radiotelemando es perturbada durante la apertura/cierre de confort de las ventanas, se interrumpe inmediatamente la función en el vehículo, por razones de seguridad. Para reanudar el manejo de confort, hay que soltar la tecla correspondiente en la llave y oprimirla de nuevo.
En la llave radioeléctrica se controla el estado de carga de la pila o del acumulador cada vez que se acciona una tecla.
Cuando la tensión alcanza el valor límite inferior, la llave comunica al módulo básico el estado de las pilas. El módulo básico procesa el aviso del modo siguiente:
En caso de aparecer subtensión se deberá:
Indicación
En las llaves radioeléctricas a partir de 9/99 con acumulador debe observarse que en caso de no utilización se efectúa una autodescarga, usual en el caso de los acumuladores. El acumulador se descarga después de aprox. 1 año. Un acumulador totalmente descargado debe ser sometido a carga durante aprox. 30 horas para alcanzar su plena capacidad.
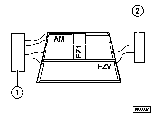
Los datos transmitidos por la llave de radiocontrol son recibidos por la antena de autorradio/TV. Un circuito filtrador (circuito de bloqueo) de la antena separa estas radioondas de otras ondas recibidas y las transmite al módulo básico de la ZKE III a través de una línea.

Antena en la luneta trasera, con AM/FM y circuito filtrador
1 |
Amplificador AM/FM para radiorrecepción |
2 |
Circuito filtrador (circuito de bloqueo) para señal de radiotelemando. |

Antena en la luneta trasera, con diversidad de antena (en el E39, equipo especial), antena de TV (equipo especial) y circuito filtrador
1 |
Caja de diversidad para radiorrecepción |
2 |
Amplificador AM/FM para radiorrecepción con circuito filtrador (circuito de bloqueo) integrado para señal de radiotelemando. |
TV |
Amplificador de antena y circuito filtrador para recepción de televisión |
En el módulo básico se verifican y evalúan las señales radioeléctricas. Las órdenes válidas son ejecutadas (p. ej. desbloquear el cierre centralizado y desactivar la DWA).
El radio de alcance para las órdenes dirigidas al cierre centralizado es de 10 m como mínimo.
Para la apertura y cierre de confort de las ventanas y del techo corredizo elevable, el radio de alcance se limita a 5 m aprox. Esta reducción del alcance obedece a motivos de seguridad.
Para la inicialización el alcance es tan reducido, que hay que efectuar esta función en el interior del vehículo, manteniendo el emisor (llave) orientado hacia la antena.
En las llaves radioeléctricas de 9/96 a 9/99 se monta un LED rojo en la carcasa de la llave, el cual indica el funcionamiento y el estado de la pila del transmisor de radiocontrol.
Mediante la autocomprobación puede verificarse se la electrónica del emisor funciona correctamente.
Se inicia el autotest pulsando simultáneamente y manteniendo oprimidas las teclas "portón trasero" y "bloqueo".
El diodo luminoso de color rojo luce aprox. durante 1 segundo si el emisor funciona correctamente.
Mediante la inicialización se coordinan las llaves radioeléctricas con el módulo básico. Al inicializar, se forma en la llave un código que se emite al módulo básico. Este código se almacena en la llave y en el módulo básico. En virtud de él, el módulo básico reconoce las llaves que pertenecen a la instalación. Sólo se ejecutan órdenes que provengan de estas llaves.
Por vehículo se pueden inicializar 4 llaves como máximo. Al inicializar una llave nueva o de nuevo, se borran los códigos de las otras llaves. Por tanto, hay que inicializar siempre todas las llaves de una instalación al mismo tiempo.
Realizar la inicialización de las llaves radioeléctricas en el interior del vehículo.
Repetir el proceso a partir del punto 3 para inicializar las otras llaves (= pulsar y mantener oprimida la tecla "desbloqueo" de la llave). No se debe variar el estado del borne R.
La conexión del borne R ocasiona la interrupción de la inicialización.
Indicación
En las llaves radioeléctricas hasta 9/96 (con dos pilas) se pierde el código memorizado en la llave radioeléctrica si esta permanece durante un largo periodo de tiempo sin alimentación de tensión. Por consiguiente, el cambio de las pilas de una llave debería realizarse dentro de 1 a 2 minutos.