El radiotelemando está integrado funcionalmente en el módulo básico de la ZKE. En los modelos E46 Berlina, Touring, Coupé y E83 X3 se utiliza como antena la antena integrada en la luneta trasera. En los modelos E46 Cabrio E52 Z8 y E85 Z4, la antena está montada en el espejo retrovisor interior.
La separación de las señales radioeléctricas se efectúa en un circuito filtrador de la antena. El circuito filtrador transmite las señales de la llave radioeléctrica al módulo básico a través de una línea de datos.
Todos los radiotelegramas están cifrados y emiten un código continuamente cambiante, impidiéndose así manipulaciones y, con ellas, una apertura del vehículo no autorizada.
Por razón de las diferentes condiciones de autorización vigentes en distintos países para equipos radioeléctricos, hay dos versiones de emisor y circuito filtrador.
Para todos los países europeos (versión EUR)
En primera línea determinada para EE.UU., Canadá y Australia.
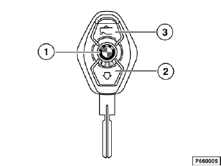
Hay que diferenciar entre dos versiones básicas de llaves radioeléctricas:
A continuación se representan las diferentes llaves radioeléctricas, así como las diferentes versiones.

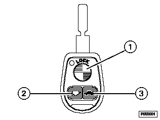
Llave radioeléctrica con pila recambiable, versión de 433 MHz

Llave radioeléctrica con pila recambiable, versión de 315 MHz

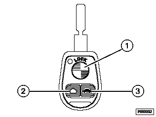
Llave radioeléctrica con acumulador. La misma versión en cuanto a su forma externa para 433 MHz y 315 MHz. La frecuencia válida está está impresa en el dorso.
Mediante las tres teclas de la llave y en función de la duración de su pulsación, se provocan diferentes acciones en el vehículo.
Para impedir manipulaciones ilícitas en el sistema, todas las órdenes dadas por radiotelemando están cifradas mediante un código continuamente cambiante.
Si la transmisión de las órdenes dadas por radiotelemando es perturbada durante la apertura/cierre de confort de las ventanas, se interrumpe inmediatamente la función en el vehículo, por razones de seguridad. Para reanudar el manejo de confort, hay que soltar la tecla correspondiente en la llave y oprimirla de nuevo.
Para impedir accionamientos de teclas no deseados y las consiguientesórdenes por radiotelemando, el mando a distancia está desactivado en el módulo básico cuando la llave del vehículo se encuentra introducida en la cerradura de encendido. El módulo básico recibe el aviso ”Llave introducida” de la unidad de mando EWS.
En la llave radioeléctrica se controla el estado de carga de la pila o del acumulador cada vez que se acciona una tecla.
Cuando la tensión alcanza el valor límite inferior, la llave comunica al módulo básico el estado de las pilas. El módulo básico procesa el aviso del modo siguiente:
En caso de producirse subtensión se deberá:
Mediante una memoria independiente de la tensión existente en la llave radioeléctrica se garantiza que no se borren los datos de inicialización incluso en caso de estar descargada la pila/acumulador.
Nota
En las llaves radioeléctricas a partir de 9/99 con acumulador debe observarse que en caso de no utilización se efectúa una autodescarga, usual en el caso de los acumuladores. El acumulador se descarga después de aprox. 1 año. Un acumulador totalmente descargado ha de ser cargado aprox. durante 30 horas para alcanzar su plena capacidad.
En las llaves radioeléctricas hasta 9/99 hay montado en la caja de la llave un LED rojo que indica el funcionamiento y el estado de la pila del transmisor radioeléctrico.
Mediante la autocomprobación puede verificarse se la electrónica del emisor funciona correctamente.
Se inicia el autotest pulsando simultáneamente y manteniendo oprimidas las teclas ”portón trasero” y ”bloqueo”.
El diodo luminoso de color rojo luce aprox. durante 1 segundo si el emisor funciona correctamente.
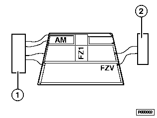
Los datos emitidos por la llave de radiocontrol son recibidos por la antena de autorradio/TV. Un circuito filtrador (circuito de bloqueo) de la antena separa estas radioondas de otras ondas recibidas y las transmite al módulo básico a través de una línea.

Antena en la luneta trasera, con AM/FM y circuito filtrador
1 |
Amplificador AM/FM para radiorrecepción |
2 |
Circuito filtrador (circuito de bloqueo) para señal de radiotelemando. |

Antena en la luneta trasera, con diversidad de antena (equipo opcional), antena de TV (equipo opcional) y circuito filtrador
1 |
Caja de diversidad para radiorrecepción |
2 |
Amplificador AM/FM para radiorrecepción con circuito filtrador (circuito de bloqueo) integrado para señal de radiotelemando. |
TV |
Amplificador de antena y circuito filtrador para recepción de televisión |
En el módulo básico se verifican y evalúan las señales radioeléctricas. Las órdenes válidas son ejecutadas (p. ej. desbloquear el cierre centralizado y desactivar la DWA).
El receptor está montado conjuntamente con la antena en el espejo retrovisor interior. Las señales radioeléctricas recibidas son transmitidas por el receptor a través del cable FZV al módulo básico, en donde son evaluadas.
El radio de alcance para las órdenes dirigidas al cierre centralizado es de 10 m como mínimo.
Para la apertura y cierre de confort de las ventanas y del techo corredizo elevable, el radio de alcance se limita a 5 m aprox. Esta reducción del alcance obedece a motivos de seguridad.
Para la inicialización el alcance es tan reducido, que hay que efectuar esta función en el interior del vehículo, manteniendo el emisor (llave) orientado hacia la antena.
Mediante la inicialización se coordinan las llaves radioeléctricas con el módulo básico. Al inicializar, se forma en la llave un código que se emite al módulo básico. Este código se almacena en la llave y en el módulo básico. En virtud de él, el módulo básico reconoce las llaves que pertenecen a la instalación. Sólo se ejecutan órdenes que provengan de estas llaves.
Por vehículo se pueden inicializar 4 llaves como máximo. Al inicializar una llave nueva o de nuevo, se borran los códigos de las otras llaves. Por tanto, hay que inicializar siempre todas las llaves de una instalación al mismo tiempo.
Realizar la inicialización de las llaves radioeléctricas en el interior del vehículo.
Repetir el proceso a partir del punto 3 para inicializar las otras llaves (= pulsar y mantener oprimida la tecla ”desbloqueo” de la llave). No se debe variar el estado del borne R.
La conexión del borne R ocasiona la cancelación de la inicialización.
Nota
Una memoria independiente de la tensión existente en la llave radioeléctrica garantiza que no se borren los datos de inicialización incluso en caso de descargarse la pila o estar descargado el acumulador.