Bomba de agua
La carcasa está construida en fundición a presión de aluminio o plástico y va atornillada a la tapa de la caja de engranajes. En la carcasa de la bomba de agua va montado el sensor térmico doble para el líquido refrigerante. Este sensor doble se encuentra en el punto en el que el líquido refrigerante sale del motor.

Detalle de la bomba de agua con sensor doble de temperatura |
|
Radiador del motor
Para las variantes destinadas a diferentes países se ha previsto el montaje adicional de un radiador de aceite del motor.
La regulación de la refrigeración del motor mediante un termostato convencional es determinada exclusivamente por la temperatura del líquido refrigerante. Esta regulación puede dividirse en tres márgenes de funcionamiento:
En este margen de funcionamiento (margen de regulación del termostato) puede influirse de forma puntual en la temperatura del líquido refrigerante con ayuda del termostato por diagrama característico.
Con ello es posible ajustar una mayor temperatura del líquido de refrigeración en el margen de carga parcial del motor. A mayores temperaturas de servicio en el margen de carga parcial se consigue una mejor combustión, resultando de ello un consumo y una emisión de sustancias nocivas menores.
Funcionando a plena carga, una temperatura de servicio mayor implicaría inconvenientes (disminución del ángulo de encendido a causa de picado). Por ello, a plena carga se ajustan selectivamente temperaturas más bajas del líquido refrigerante con ayuda del termostato por diagrama característico.

|
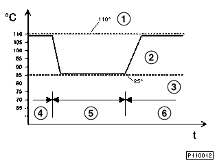
Característica de regulación de la refrigeración por diagrama característico |
|---|---|
1 |
Curva característica de un termostato de 110 o C |
2 |
Curva característica de un termostato por diagrama característico |
3 |
Curva característica de un termostato de 85 o C |
4 |
Margen de carga parcial |
5 |
Margen de plena carga |
6 |
Margen de carga parcial |
Con ayuda de este termostato es posible efectuar una elevación selectiva de la temperatura del líquido refrigerante en el margen de carga parcial. Gracias a la elevación de la temperatura del líquido refrigerante se consigue en estos estados de funcionamiento del motor una reducción del consumo de combustible. La regulación de este termostato por diagrama característico se efectúa mediante el dispositivo de mando del motor en dependencia de un diagrama característico.
Este diagrama característico es determinado por los factores:
Estructura del termostato por diagrama característico
El termostato por diagrama característico es del tipo integral, es decir el termostato y su tapa forman una unidad.
La estructura mecánica básica del termostato por diagrama característico corresponde a la de un termostato convencional. No obstante, en el elemento de dilatación (elemento de cera) va integrado adicionalmente un elemento calefactor.

Representación en corte del termostato por diagrama característico |
|
La tapa del termostato por diagrama característico está construida en base a un proceso de fundición a presión de aluminio. En la tapa está también integrada la conexión eléctrica para el elemento calefactor acoplado al elemento de dilatación del termostato.

Termostato de diagrama característico con conexión eléctrica para el elemento calefactor |
|
Funcionamiento del termostato por diagrama característico
El termostato por diagrama característico está ajustado de tal modo, que se abra sin intervención de la calefacción integrada a una temperatura del líquido refrigerante en el termostato de 103 oC (entrada al motor). Debido al calentamiento del líquido refrigerante en el motor, se mide en la salida del motor (lugar de montaje del sensor de temperatura del líquido refrigerante para la DME e indicación del cuadro de instrumentos) una temperatura de aprox. 110 o C. Esta es la temperatura de servicio del motor, a la que el termostato por diagrama característico comienza a abrir sin intervención de la regulación.
En caso de una intervención de la regulación por parte del dispositivo de mando DME, se aplica tensión (12 V) al elemento calefactor integrado en el termostato. Debido al calefaccionado del elemento de dilatación, el termostato abre ya a temperaturas más bajas del líquido refrigerante que sin el calefaccionado adicional (margen de regulación del termostato: aprox. 80 oC - 103 oC).

1 |
Carrera de apertura del termostato |
2 |
Temperatura del líquido refrigerante |
3 |
Excitación del elemento calefactor con 12 V |
4 |
Excitación del elemento calefactor con 0 V |
Si la temperatura del líquido refrigerante sobrepasara los 113 oC en la salida del motor, la DME activará independientemente de los demás parámetros la calefacción del termostato por diagrama característico.
Diagnóstico
La unión por cable y el funcionamiento del termostato por diagrama característico son supervisados por el diagnóstico en el dispositivo de mando DME. Los fallos que se produzcan son memorizados en la memoria de averías del dispositivo de mando DME.
Indicación de la temperatura del líquido refrigerante
La característica de la indicación de la temperatura del líquido refrigerante en el cuadro de instrumentos ha sido adaptada al mayor nivel de temperaturas del motor condicionado por el termostato por diagrama característico.
La aguja del indicador de temperatura del líquido refrigerante del cuadro de instrumentos se encuentra en la posición central a una temperatura del líquido refrigerante de
75 oC - 113 o C
.