Vattenpump
Växellådshuset är tillvekat av Al-pressgöt resp plast och är fastskruvat på kedjehuslocket. I vattenpumphuset finns en dubbeltemperatursensorn monterad för kylvätskan. Denna dubbeltemperatursensor sitter där kylvätskan kommer ut ur motorn.

Detaljbild, vattenpump med dubbeltemperatursensor |
|
Motorkylare
För landsvarianter är dessutom monteringen av en motoroljekylare planerad.
Motorkylningens reglering genom en traditionell termostat bestäms enbart av kylvätsketemperaturen. Denna reglering kan man indela i tre driftområden:
Inom detta driftområde (termostatregleringsområde) kan man nu med hjälp av den karakteristiska termostaten direkt påverka kylvätsketemperaturen.
Därmed är det nu möjligt att ställa in i motorns dellastområde på en högre kylvätsketemperatur. Med högre arbetstemperaturer i dellastsområdet uppnår man en bättre förbränning, vilket resulterar i en lägre förbrukning samt ett lägre utsläpp av miljöfarliga ämnen.
Vid fullastdrift skulle högre arbetstemperaturer medföra nackdelar (tändvinkelsåtertagning på grund av knackningar). Därför ställer man målmedvetet in låga kylvätsketemperaturer med hjälp av den karakteristiska termostaten vid fullastdrift.

|
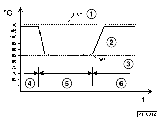
Regleringskarakteristik för den karakteristiska termostaten (programstyrda kylningen) |
|---|---|
1 |
Kurva för en 110o C termostat |
2 |
Kurva för en karakteristisk termostat |
3 |
kurva för en 85o C -termostat |
4 |
Dellastsområde |
5 |
Fullastområde |
6 |
Dellastsområde |
Med hjälp av denna termostat är en direkt höjning av kylvätsketemperaturen i dellastsområdet möjlig. Genom att höja kylvätsketemperaturen under dessa driftförhållanden uppnår man en reducering av bränsleförbrukningen.Regleringen av den karakteristiska termostaten sker via motorstyrenheten beroende av en kurva.
Denna kurva bestäms av följande faktorer:
Den karakteristiska termostatens konstruktion
Den karakteristiska termostaten är en integraltermostat, dvs termostaten och termostatlocket bildar en enhet.
Den karakteristiska termostatens principiella, mekaniska konstruktion motsvarar konstruktionen för en konventionell termostat. Därutöver finns det också ett värmeelement integrerat i töjningselementet (vaxelement).

Genomskärning av den karakteristiska termostaten |
|
Den karakteristiska termostatens termostatlock är av pressgjutet aluminium. Integrerat i termostatlocket är även den elektriska anslutningen för värmeelementet, som är kopplat till den karakteristiska termostatens töjningselement.

Karakteristisk termostat med elanslutning för värmeelement |
|
Den karakteristiska termostatens funktion
Den karakteristiska termostaten är så avstämd, att det öppnas, utan påverkan från den integrerade värmen, vid en kylvätsketemperatur vid termostaten på 103oC (motortillopp). Genom uppvärmningen av kylvätskan i motorn uppmäts vid motorutloppet (kylvätsketemperatursensorns monteringsställe för DME och kombiindikeringen) under detta driftskede ca 110o C. Motorns arbetstemperatur, vid vilken den karakteristiska termostaten börjar öppna utan regleringsingrepp.
Vid ett regleringsingrepp genom DME-styrenheten tillförs ström (12V) till det i termostaten integrerade värmeelementet. Genom uppvärmningen av töjningselementet öppnar nu termostaten redan vid lägre kylvätsketemperatur än vad som skulle vara fallet utan den extra uppvärmningen (termostatregleringområde: ca 80oC - 103oC).

1 |
Termostatens öppningsväg |
2 |
Kylvätsketemperatur |
3 |
Styrning av värmeelementet med 12 V |
4 |
Styrning av värmeelementet med 0 V |
Överskrider kylvätsketemperaturen 113oC vid motorutloppet, så aktiveras den karakteristiska termostatens uppvärmning utifrån DME, oberoende av övriga parametrar.
Diagnos
Ledningsförbindelsen och den karakteristiska termostatens funktion övervakas av Diagnosen i DME-styrenheten. Uppträdande fel lagras i DME-styrenhetens felminne.
Kylvätsketemperaturindikering
Kylvätsketemperaturindikeringens indikeringskarakteristik i Kombin anpassades till motorns, genom den karakteristiska termostatens villkorade, högre temperaturnivå.
Kylvätsketemperaturindikeringens visare i kombiinstrumentet befinner sig vid kylvätsketemperaturer på
75oC - 113o C
i mittläget.