Fjärrkontroll är funktionellt integrerad i ZKE-grundmodulen. I E46 Sedan, Touring, Coupé och E83 X3 används den antenn som är integrerad i bakrutan som antenn. I E46 Cabrio E52 Z8 och E85 Z4 är antennen placerad i innerbackspegeln.
Separeringen av signalerna sker i ett antennsperrfilter. Spärrfiltret överför radionyckelns signaler via en dataledning till grundmodulen.
Samtliga radiotelegram är kodade och sänder en ständigt varierande kod för att förhindra manipulationer, så att inte obehöriga kan öppna bilen.
På grund av olika tillåtelsebestämmelser för radioapparater i länderna, finns det två olika versioner för sändare och spärrfilter.
För alla europeiska länder (ECE-version)
I första hand för USA, Kanada och Australien.
Man måste skilja på två grundläggande utföranden av radionyckeln:
De olika fjärrkontrollnycklarna och de olika utförandena illustreras nedan.

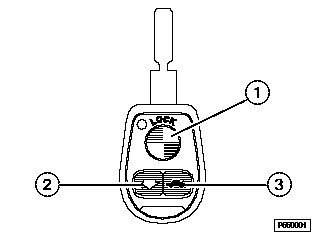
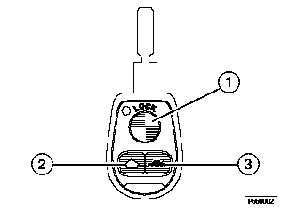
Radionyckel med utbytbart batteri, utförande 433 MHz

Radionyckel med utbytbart batteri, utförande 315 MHz

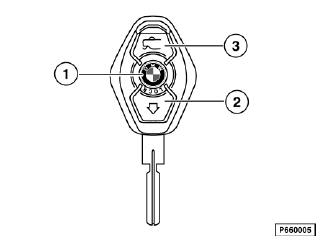
Radionyckel med laddbart batteri. Visuellt samma utförande för 433 MHz och 315 MHz. Den gällande frekvensen är tryckt på baksidan.
Via tre knappar på nyckeln utlöses olika funktioner i bilen, även beroende på hur länge knapparna trycks ned.
För att förhindra manipulationer på systemet, är alla radiokommandon kodade via en ständigt skiftande kod.
Om komfortöppningen/-stängningen av fönstren stör överföringen av radiokommandona, så avbryts funktionen i bilen omedelbart av säkerhetsskäl. För att återuppta komfortmanövreringen måste man släppa och trycka igen på motsvarande knapp på fjärrkontrollnyckeln.
För att förhindra oavsiktlig manövrering av knapparna och därmed förenade fjärrkontrollkommandon, är fjärrkontrollen avaktiverad i grundmodulen, när bilnyckeln sitter i tändningslåset. Grundmodulen får meddelandet ”nyckeln sitter i” från EWS-styrenheten.
I radionyckeln övervakas batteriernas laddningstillstånd vid tryck på en knapp.
Uppnår spänningen ett nedre gränsvärde, så meddelar radionyckeln grundmodulen om batteriernas tillstånd. Grundmodulen bearbetar detta meddelande enligt följande:
När en underspänning inträffar måste man:
Ett spänningsoberoende minne i fjärrkontrollnyckeln garanterar att aktuella initieringsdata inte kan raderas, även om batterierna är tomma.
Anm.
Observera att med radionycklarna från och med 9/99 som inte används sker en självurladdning som är vanlig för laddningsbara batterier. Efter ca ett år är batteriet urladdat. Ett djupurladdat batteri måste laddas i ca 30 timmar innan det återfår full kapacitet.
I nyckelhuset på radionyckel till och med 9/99 sitter en röd LED, som indikerar funktionen och batteristatusen i radiosändaren.
Med ett självtest kan man kontrollera, att sändarelektroniken arbetar felfri.
Självtestet startas, när knappen ”Bagagelucka” och knappen ”Låsning” samtidigt trycks in och hålls nedtryckta.
Arbetar sändaren felfria, tänds den röda LED för 1 sekund.
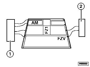
Data som sänts från radionyckeln mottages av radio-TV-antennen. Ett antennspärrfilter (spärrkrets) separerar dessa radiovågor från andra mottagna radiovågor och överför dem via en ledning till grundmodulen.

Bakruteantenn med AM/FM och spärrfilter
1 |
AM/FM-förstärkare för radiomottagning |
2 |
Spärrfilter (spärrkrets) för fjärrkontrollsignal. |

Bakruteantenn med antenndiversity (specialutrustning), TV-antenn (specialutrustning) och spärrfilter
1 |
Diversitybox för radiomottagning |
2 |
AM/FM-förstärkare för radiomottagning med integrerat spärrfilter (spärrkrets) för fjärrkontrollsignal. |
TV |
Antennförstärkare och spärrfilter för TV-mottagning |
I grundmodulen kontrolleras och utvärderas radiosignalerna. Giltiga kommandon utförs (t ex lås upp centrallåset och avaktivera stöldskyddslarmet).
Mottagaren sitter tillsammans med antennen i innerbackspegeln. Mottagna radiosignaler vidarebefordras av mottagaren via ledningen FZV till grundmodulen, där de utvärderas.
Räckviddens radie uppgår för kommandona till centrallåset till minst 10 m.
För komfortöppningen och komfortstängningen av fönsterhissarna och takluckan begränsas räckvidden till en radie av ca 5 m. Räckvidden reduceras av säkerhetsskäl.
Vid initieringen är räckvidden så pass reducerad, att funktionen måste genomföras i bilen, varvid man skall hålla sändaren (nyckeln) mot antennen.
Med initieringen tilldelas radionycklarna grundmodulen. I radionyckeln bildas en kod vid initieringen som sänds till grundmodulen. Koden lagras i nyckeln och i grundmodulen. Med hjälp av denna kod identifierar grundmodulen nycklarna som hör till anläggningen. Kommandona utförs endast med dessa nycklar.
Man kan för varje bil initiera maximalt 4 nycklar. Initierar man en nyckel på nytt, raderas koderna för de andra nycklarna. Man måste alltså alltid initiera anläggningens alla nycklar samtidigt.
Initiera radionycklarna inne i bilen.
För att initiera ytterligare nycklar upprepar man proceduren från punkt 3 (= trycka på och hålla ned knappen ”Upplåsning” på nyckeln). Kl. R får inte ändras.
Tillkopplingen av Kl. R leder till att initieringen avbryts.
Anm.
Ett spänningsoberoende minne i radionyckeln ser till att initieringsdata inte raderas om batteriet är urladdat.