ตั้งแต่รุ่นปี 1996 การควบคุมด้วยรีโมทคอนโทรลแบบคลื่นวิทยุได้รวมอยู่ในเจนเนอรัลโมดูลของ ZKE III เสาอากาศที่ใช้สำหรับระบบนี้เป็นเสาอากาศวิทยุที่รวมอยู่ในกระจกหลัง
สัญญาณวิทยุจะไดัรับการแยกออก ในตัวแยกความถี่ของเสาอากาศ ตัวแยกความถี่ส่งสัญญาณจากกุญแจรีโมท ผ่านทางสายสัญญาณไปยังเจนเนอรัลโมดูล
เทเลแกรมวิทยุทั้งหมดได้รับการเข้ารหัส และมีการเปลี่ยนรหัสอย่างสม่ำเสมอ เพื่อป้องกันการขโมย และการเปิดของรถยนต์ที่ไม่ได้รับอนุญาต
เนื่องจากกฏข้อบังคับในการรับรองสำหรับอุปกรณ์วิทยุ จะแตกต่างกันในแต่ละประเทศ จึงมีตัวส่งสัญญาณและตัวแยกความถี่ที่ใช้แตกต่างกันสองรุ่น
สำหรับประเทศในยุโรปทั้งหมด (รุ่น EUR)
ส่วนใหญ่สำหรับ สหรัฐอเมริกา, แคนาดา และออสเตรเลีย
ความแตกต่างระหว่างกุญแจรีโมทรุ่นธรรมดาทั้งสองแบบ :

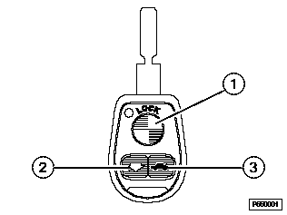
กุญแจรีโมทรุ่น ECE 433 MHz

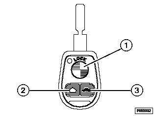
กุญแจรีโมทรุ่น US 315 MHz

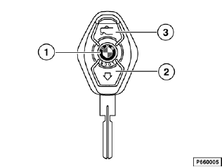
กุญแจรีโมทรุ่นใช้แบตเตอรี่แบบชาร์จได้ ถ้าพิจารณาตามลักษณะแล้ว รุ่น 433 MHz และ 315 MHz ถือเป็นรุ่นเดียวกัน โดยจะพิมพ์ความถี่ที่ใช้ไว้ที่ด้านหลัง
จะมีปุ่มควบคุมการทำงานสามปุ่มบนกุญแจรีโมท ซึ่งจะกระตุ้นการทำงานที่แตกต่างกันในรถยนต์ ขึ้นอยู่กับระยะเวลาในการกด
คำสั่งรีโมทคลื่นวิทยุ จะได้รับการให้รหัส โดยมีการเปลี่ยนรหัสอย่างสม่ำเสมอ เพื่อป้องกันการรบกวนในระบบ
ถ้าการส่งคำสั่งรีโมทแบบคลื่นวิทยุได้รับการรบกวน ในระหว่างการเปิด/การปิดแบบอัตโนมัติ ของกระจกไฟฟ้า การทำงานในรถยนต์จะสิ้นสุดลงทันที เพื่อความปลอดภัย จะต้องปล่อยและกดปุ่มที่ตรงกันบนกุญแจรีโมทอีกครั้ง เพื่อใช้ฟังก์ชั่นโหมดแบบอัตโนมัติอีกครั้ง
สถานะการชาร์จของแบตเตอรี่หรือแบตเตอรี่แบบชาร์จได้ในกุญแจตัวส่งสัญญาณ จะมีการตรวจสอบทุกครั้งที่กดปุ่ม
กุญแจรีโมทส่งสัญญาณสถานะของแบตเตอรี่ไปยังเจนเนอรัลโมดูล ถ้าแรงดันไฟฟ้าถึงค่าขีดจำกัดล่าง เจนเนอรัลโมดูลดำเนินการกับข้อความนี้ ดังต่อไปนี้ :
ถ้าเกิดไฟตก :
หมายเหตุ
ในกรณีของกุญแจรีโมทรุ่นใช้แบตเตอรี่แบบชาร์จได้ ตั้งแต่ 9/99 โปรดสังเกตว่าจะมีการดิสชาร์จด้วยตัวเองตลอดเวลา เมื่อไม่มีการใช้งาน (เกิดขึ้นเป็นปกติสำหรับแบตเตอรี่แบบชาร์จได้) แบตเตอรี่แบบชาร์จได้จะหมดไฟหลังจากเวลาประมาณ 1 ปี ต้องทำการชาร์จแบตเตอรี่แบบชาร์จได้ที่ดิสชาร์จออกหมดแล้ว ประมาณ 30 ชั่วโมง จนกระทั่งไฟเต็ม
ข้อมูลที่ส่งโดยกุญแจรีโมท จะได้รับโดยโมดูลตัวรับสัญญาณผ่านเสาอากาศวิทยุ-TV ตัวแยกความถี่ของเสาอากาศ (วงจรรีเจคเตอร์) แยกคลื่นวิทยุเหล่านี้จากคลื่นวิทยุอื่นๆ ที่ได้รับ และส่งคลื่นวิทยุเหล่านี้ผ่านสายไปยังเจนเนอรัลโมดูลของ ZKE III

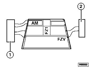
เสาอากาศกระจกหลังพร้อม AM/FM และตัวแยกความถี่
1 |
เครื่องขยายสัญญาณ AM/FM สำหรับการรับวิทยุ |
2 |
ตัวแยกความถี่ (วงจรรีเจคเตอร์) สำหรับสัญญาณรีโมทคอนโทรลแบบคลื่นวิทยุ |

เสาอากาศกระจกหลังที่มีเสาอากาศแบบไดเวอร์ซิตี้ (อุปกรณ์พิเศษใน E39) เสาอากาศ TV (อุปกรณ์พิเศษ) และตัวแยกความถี่
1 |
ชุดไดเวอร์ซิตี้สำหรับการรับวิทยุ |
2 |
เครื่องขยายสัญญาณ AM/FM สำหรับการรับสัญญาณวิทยุที่มีตัวแยกความถี่รวมไว้ด้วย (วงจรรีเจคเตอร์) สำหรับสัญญาณรีโมทคอนโทรลแบบคลื่นวิทยุ |
TV |
เครื่องขยายสัญญาณเสาอากาศและตัวแยกความถี่ สำหรับการรับ TV |
สัญญาณวิทยุได้รับการตรวจเช็คและการประเมินในเจนเนอรัลโมดูล คำสั่งที่ถูกต้องจะได้รับดำเนินการจนเสร็จสิ้น (เช่น ปลดล็อคระบบเซ็นทรัลล็อค และปิดระบบ DWA)
ระยะการสั่งงานที่น้อยที่สุดสำหรับการสั่งงานไปยังระบบเซ็นทรัลล็อคคือ 10 m
ระยะการสั่งงานสำหรับการเปิดและการปิดแบบอัตโนมัติ ของกระจกไฟฟ้าและซันรูฟ จะถูกจำกัดไว้ในรัศมีประมาณ 5 m เพื่อความปลอดภัย
ในระหว่างการกำหนดการทำงาน ระยะการสั่งงานนี้จะต้องถูกลดลงให้อยู่ในรถยนต์ โดยการกุญแจรีโมทชี้ไปที่เสาอากาศ
ไฟ LED สีแดงแสดงสถานะการทำงานและสถานะแบตเตอรี่ของตัวส่งสัญญาณจะรวมอยู่ในตัวกุญแจรีโมท ตั้งแต่ 9/96 ถึง 9/99
การทดสอบตัวเองจะใช้เพื่อตรวจเช็คว่า ชุดควบคุมอิเล็กทรอนิกส์ของตัวส่งสัญญาณ ทำงานอย่างถูกต้องหรือไม่
การทดสอบตัวเองจะเริ่มต้นขึ้น เมื่อกดปุ่ม "ประตูท้าย" และปุ่ม "ล็อค" และกดค้างไว้พร้อมกันทั้งสองปุ่ม
ถ้าตัวส่งสัญญาณกำลังทำงานอย่างถูกต้อง ไฟ LED สีแดงจะติดสว่างเป็นเวลา 1 วินาที
ขั้นตอนการกำหนดการทำงาน เป็นการกำหนดกุญแจรีโมทเทียบกับเจนเนอรัลโมดูล ในระหว่างการกำหนดการทำงาน จะมีการสร้างรหัสภายในกุญแจรีโมท แล้วส่งผ่านไปยังเจนเนอรัลโมดูล รหัสนี้ จะมีการบันทึกไว้ในกุญแจรีโมทและในเจนเนอรัลโมดูล เจนเนอรัลโมดูลรับรู้กุญแจของระบบ โดยใช้รหัสนี้ หลังจากนั้น คำสั่งจากกุญแจเหล่านี้เท่านั้น ที่ดำเนินการได้
สามารถตั้งค่ากำหนดการทำงานกุญแจได้มากที่สุด 4 ดอก สำหรับรถยนต์แต่ละคัน รหัสของกุญแจอื่นจะถูกลบทิ้งทั้งหมด เมื่อทำการกำหนดการทำงานกุญแจใหม่ ซึ่งหมายความว่า กุญแจทั้งหมดของระบบต้องกำหนดการทำงานในเวลาเดียวกัน
ทำการกำหนดการทำงานกุญแจรีโมทภายในรถยนต์
ทำซ้ำขั้นตอนตั้งแต่ข้อ 3 (= กดปุ่ม "ปลดล็อค" บนกุญแจรีโมทค้างไว้) เพื่อกำหนดการทำงานของกุญแจดอกอื่น เทอร์มินอล R ต้องไม่เปลี่ยนแปลง ในระหว่างขั้นตอนนี้
ขั้นตอนการกำหนดการทำงานจะสิ้นสุดลง ถ้าเทอร์มินอล R เปิด
หมายเหตุ
ในกรณีของกุญแจรีโมทจนถึง 9/96 (รุ่นใช้แบตเตอรี่สองก้อน) รหัสที่บันทึกอยู่ในตัวส่งสัญญาณจะหายไป ถ้ากุญแจรีโมทไม่มีไฟจ่ายเป็นเวลานาน ด้วยเหตุผลนี้ ควรเปลี่ยนแบตเตอรี่กุญแจภายใน 1-2 นาที