รีโมทคอนโทรลแบบคลื่นวิทยุ

การทำงานของรีโมทคอนโทรลแบบคลื่นวิทยุจะรวมอยู่ในเจนเนอรัลโมดูลของ ZKE สายอากาศที่รวมอยู่ในกระจกหลัง สำหรับรถรุ่น E46 ซาลูน, ทัวร์ริ่ง, คูเป้ และ E83 X3 จะนำมาใช้เป็นสายอากาศในกรณีนี้ สำหรับรุ่น E46 เปิดประทุน E52 Z8 และ E85 Z4 เสาอากาศจะติดตั้งอยู่ในกระจกมองหลังภายในรถ

สัญญาณวิทยุในตัวแยกความถี่ของเสาอากาศจะถูกแยกออกจากกัน จากนั้น ตัวแยกความถี่จะส่งข้อมูลที่ส่งมาจากกุญแจรีโมทผ่านทางสายสัญญาณไปยังเจนเนอรัลโมดูล

เทเลแกรมวิทยุทั้งหมดจะได้รับการให้รหัสและเปลี่ยนรหัสอยู่ตลอดเวลา เพื่อป้องกันการขโมย และการเปิดรถยนต์โดยไม่ได้รับอนุญาต

รุ่นเฉพาะแต่ละประเทศ

เนื้อหาโดยทั่วไป

เนื่องจากกฎข้อบังคับในการอนุมัติใช้อุปกรณ์วิทยุจะแตกต่างกันตามความเหมาะสมของแต่ละประเทศ จึงมีตัวส่งสัญญาณและตัวแยกความถี่ที่ใช้แตกต่างกันอยู่สองรุ่น

รุ่น 433.92 MHz

สำหรับประเทศในยุโรปทั้งหมด (รุ่น EUR)

รุ่น 315 MHz

ส่วนใหญ่สำหรับ สหรัฐอเมริกา, แคนาดา และออสเตรเลีย

กุญแจรีโมท

ความแตกต่างระหว่างกุญแจรีโมทแบบคลื่นวิทยุรุ่นพื้นฐานทั้งสองรุ่น :

กุญแจรีโมทแบบคลื่นวิทยุสำหรับรุ่นต่างๆ มีภาพประกอบดังนี้

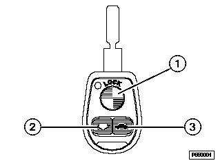
P660001G

กุญแจรีโมทแบบคลื่นวิทยุ รุ่นเปลี่ยนแบตเตอรี่ได้ 433 MHz

 

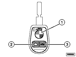
P660002G

กุญแจรีโมทแบบคลื่นวิทยุ รุ่นเปลี่ยนแบตเตอรี่ได้ 315 MHz

 

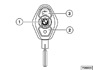
GR_P660005G

กุญแจรีโมทแบบคลื่นวิทยุ รุ่นเปลี่ยนแบตเตอรี่ได้ รุ่น 433 MHz และ 315 MHz จะมีลักษณะภายนอกเหมือนกัน แต่จะพิมพ์ความถี่ที่ใช้ไว้ที่ด้านหลัง

การจัดเรียงปุ่ม

ปุ่มควบคุมการทำงานบนกุญแจรีโมทซึ่งมีอยู่สามปุ่ม จะกระตุ้นการทำงานต่างๆ กันไปขึ้นอยู่กับระยะเวลาในการกด

รหัสของคำสั่งรีโมทคอนโทรลแบบคลื่นวิทยุทั้งหมด จะเปลี่ยนแปลงอยู่ตลอดเวลา เพื่อป้องกันไม่ให้มีการปรับเปลี่ยนระบบ

ถ้าการส่งคำสั่งรีโมทแบบคลื่นวิทยุถูกรบกวนในระหว่างการเปิด/ปิดกระจกไฟฟ้าแบบอัตโนมัติ การทำงานในรถยนต์จะสิ้นสุดลงทันที ทั้งนี้เพื่อความปลอดภัย จะต้องปล่อยและกดปุ่มบนกุญแจรีโมทอีกครั้ง เพื่อสั่งให้ทำงานในแบบอัตโนมัติต่อไป

เมื่อเสียบกุญแจรถยนต์เข้าในสวิตช์กุญแจแล้ว เจนเนอรัลโมดูลจะไม่รับคำสั่งใดๆ จากรีโมทคอนโทรล เพื่อป้องกันไม่ให้รีโมทคอนโทรลทำงานตามคำสั่งที่เกิดจากการกดปุ่มรีโมทโดยไม่ได้ตั้งใจ เจนเนอรัลโมดูลรับข้อมูล ”มีกุญแจเสียบอยู่”จากชุดควบคุม EWS

การตรวจสอบแรงดันไฟฟ้า

สถานะการชาร์จของแบตเตอรี่ในกุญแจรีโมท จะได้รับการตรวจสอบทุกครั้งที่กดปุ่ม

ซึ่งกุญแจรีโมทจะส่งสัญญาณสถานะของแบตเตอรี่ไปยังเจนเนอรัลโมดูล ถ้าแรงดันไฟฟ้าถึงค่าขีดจำกัดค่าต่ำสุดแล้ว เจนเนอรัลโมดูลดำเนินการกับข้อมูลนี้ ดังต่อไปนี้ :

ถ้าแรงดันไฟฟ้าต่ำ :

ตรวจสอบให้แน่ใจว่าไม่มีการลบข้อมูลการกำหนดการทำงานในหน่วยความจำที่ไม่ขึ้นกับแรงดันไฟในกุญแจรีโมทแบบคลื่นวิทยุ แม้ในขณะที่แบตเตอรี่/แบตเตอรรี่แบบชาร์จได้นั้นจะหมดไฟแล้ว

หมายเหตุ

ในกรณีของกุญแจรีโมทแบบคลื่นวิทยุ รุ่นใช้แบตเตอรี่แบบชาร์จได้ ตั้งแต่รุ่นผลิต 9/99 โปรดสังเกตว่า แบตเตอรี่แบบชาร์จได้โดยปกติจะมีการจ่ายประจุออกด้วยตัวเองเกิดขึ้นขณะที่ไม่มีการใช้งาน ซึ่งแบตเตอรี่แบบชาร์จได้จะเริ่มจ่ายไฟออกหลังจากเวลาผ่านไปประมาณ 1 ปี จะต้องชาร์จแบตเตอรี่แบบชาร์จได้ที่จ่ายไฟออกจนออกหมดแล้ว ประมาณ 30 ชั่วโมง จึงสามารถใช้งานได้อย่างเต็มที่เหมือนเดิม

ไฟแสดงการทำงาน (กุญแจรีโมทแบบคลื่นวิทยุพร้อมแบตเตอรี่เท่านั้น)

ไฟ LED สีแดงแสดงสถานะการทำงานและสถานะแบตเตอรี่ในชุดส่งสัญญาณคลื่นวิทยุ จะรวมอยู่ในตัวเรือนของกุญแจรีโมทแบบคลื่นวิทยุ ตั้งแต่รุ่นผลิต 9/99

การทดสอบตัวเองของตัวส่งสัญญาณ (กุญแจรีโมทแบบคลื่นวิทยุ ที่มีไฟ LED เท่านั้น)

การทดสอบตัวเองจะใช้เพื่อตรวจเช็คว่า ชุดควบคุมอิเล็กทรอนิกส์ของตัวส่งสัญญาณทำงานอย่างถูกต้องหรือไม่

เริ่มการทดสอบตัวเองโดยกดปุ่ม ”ประตูท้าย” ค้างไว้ และกดปุ่ม ”ล็อค” ในเวลาเดียวกัน

ถ้าตัวส่งสัญญาณทำงานอย่างถูกต้อง ไฟ LED สีแดงจะติดสว่างเป็นเวลา 1 วินาที

ตัวรับสัญญาณ

การรับสัญญาณวิทยุของรถรุ่น E46 ซาลูน, ทัวร์ริ่ง และคูเป้

โมดูลรับสัญญาณจะได้รับข้อมูลที่ส่งจากตัวส่งสัญญาณกุญแจ ผ่านทางเสาอากาศวิทยุ-โทรทัศน์ ตัวแยกความถี่เสาอากาศ (วงจรรีเจคเตอร์) จะทำหน้าที่แยกคลื่นวิทยุเหล่านี้จากคลื่นวิทยุอื่นที่ได้รับ แล้วส่งผ่านทางสายสัญญาณไปยังเจนเนอรัลโมดูล

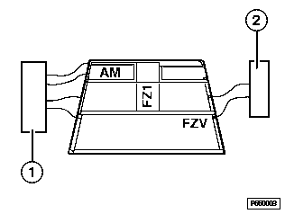
P660003G

สายอากาศกระจกหลังพร้อมเครื่องขยายสัญญาณ AM/FM และตัวแยกความถี่

1

เครื่องขยายสัญญาณ AM/FM สำหรับการรับคลื่นวิทยุ

2

ตัวแยกความถี่ (วงจรรีเจคเตอร์) สำหรับสัญญาณรีโมทคอนโทรลแบบคลื่นวิทยุ

 

P660004G

สายอากาศกระจกหลังพร้อมเสาอากาศไดเวอร์ซิตี้ (อุปกรณ์เสริม), เสาอากาศโทรทัศน์ (อุปกรณ์เสริม) และตัวแยกความถี่

1

ชุดไดเวอร์ซิตี้สำหรับการรับคลื่นวิทยุ

2

เครื่องขยายสัญญาณ AM/FM สำหรับการรับสัญญาณวิทยุพร้อมตัวแยกความถี่รวมไว้ด้วย (วงจรรีเจคเตอร์) สำหรับสัญญาณรีโมทคอนโทรลแบบคลื่นวิทยุ

โทรทัศน์

เครื่องขยายสัญญาณเสาอากาศ และตัวแยกความถี่สำหรับการรับสัญญาณโทรทัศน์

 

 

สัญญาณวิทยุจะได้รับการตรวจเช็คและประเมินผลในเจนเนอรัลโมดูล จากนั้นจะทำตามคำสั่งที่ถูกต้อง (เช่น ปลดระบบเซ็นทรัลล็อค และยกเลิกการทำงานของ DWA)

การรับสัญญาณวิทยุในรถ E46 เปิดประทุน, E52 Z8 และ E85 Z4

ตัวรับสัญญาณจะรวมอยู่กับเสาในกระจกมองหลังภายในรถ โดยเครื่องรับจะส่งสัญญาณวิทยุที่ได้รับผ่านสาย FZV ไปยังชุดควบคุมอิเล็กทรอนิกส์เซ็นทรัลบอดี้เพื่อทำการประเมินผล

ระยะสั่งงาน

ระยะสั่งการของคำสั่งกับระบบเซ็นทรัลล็อค คือ 10 เมตร

สำหรับระยะการสั่งเปิดและปิดกระจกไฟฟ้าและซันรูฟแบบอัตโนมัติ มีการจำกัดไว้ในรัศมีประมาณ 5 เมตร ระยะสั่งการที่สั้นลงนี้เพื่อความปลอดภัย

ในระหว่างการกำหนดการทำงาน ระยะสั่งการสำหรับฟังก์ชั่นนี้จะสั้นลงเหลือเพียงการสั่งงานในรถยนต์ โดยชี้กุญแจรีโมทไปในทิศทางของเสาอากาศ

การกำหนดการทำงาน

การทำงาน

ขั้นตอนการกำหนดการทำงานจะเป็นการกำหนดให้กุญแจรีโมทสามารถใช้งานได้กับเจนเนอรัลโมดูล ในระหว่างการกำหนดการทำงาน จะมีการสร้างรหัสในกุญแจรีโมทและส่งผ่านไปยังเจนเนอรัลโมดูล รหัสนี้จะบันทึกไว้ทั้งในกุญแจรีโมทและในเจนเนอรัลโมดูล ซึ่งเจนเนอรัลโมดูลสามารถรับรู้ว่าเป็นกุญแจที่ถูกต้องได้ โดยตรวจสอบรหัสนี้ ถ้ารหัสถูกต้อง จึงจะดำเนินการตามคำสั่งที่ส่งจากกุญแจเหล่านี้

รถยนต์แต่ละคัน สามารถกำหนดการทำงานของกุญแจได้สูงสุดเพียง 4 ดอกเท่านั้น เมื่อกำหนดการทำงานกุญแจใหม่ รหัสของกุญแจอื่นๆ ทั้งหมดจะถูกลบทิ้ง ซึ่งหมายความว่า จะต้องกำหนดการทำงานของกุญแจในระบบทั้งหมดพร้อมๆ กัน

ขั้นตอนการกำหนดการทำงาน

การกำหนดการทำงานกุญแจรีโมทภายในรถยนต์

กำหนดการทำงานของกุญแจดอกอื่นๆ โดยการทำขั้นตอนตั้งแต่ข้อ 3 (คือ กดปุ่ม ”ปลดล็อค” บนกุญแจรีโมทค้างไว้) ซ้ำ ห้ามเปลี่ยนตำแหน่งของสวิตช์กุญแจตลอดขั้นตอนนี้

ขั้นตอนการกำหนดการทำงานจะหยุดลงทันที ถ้าบิดสวิตช์กุญแจไปที่ตำแหน่ง R

หมายเหตุ

ตรวจสอบให้แน่ใจว่าไม่มีการลบข้อมูลการกำหนดการทำงานในหน่วยความจำที่ไม่ขึ้นกับแรงดันไฟฟ้าในกุญแจรีโมทแบบคลื่นวิทยุ ถึงแม้ว่าแบตเตอรี่หรือแบตเตอรรี่แบบชาร์จได้นั้นจะหมดไฟแล้ว