การทำงานของรีโมทคอนโทรลแบบคลื่นวิทยุจะรวมอยู่ในเจนเนอรัลโมดูลของ ZKE สายอากาศที่รวมอยู่ในกระจกหลัง สำหรับรถรุ่น E46 ซาลูน, ทัวร์ริ่ง, คูเป้ และ E83 X3 จะนำมาใช้เป็นสายอากาศในกรณีนี้ สำหรับรุ่น E46 เปิดประทุน E52 Z8 และ E85 Z4 เสาอากาศจะติดตั้งอยู่ในกระจกมองหลังภายในรถ
สัญญาณวิทยุในตัวแยกความถี่ของเสาอากาศจะถูกแยกออกจากกัน จากนั้น ตัวแยกความถี่จะส่งข้อมูลที่ส่งมาจากกุญแจรีโมทผ่านทางสายสัญญาณไปยังเจนเนอรัลโมดูล
เทเลแกรมวิทยุทั้งหมดจะได้รับการให้รหัสและเปลี่ยนรหัสอยู่ตลอดเวลา เพื่อป้องกันการขโมย และการเปิดรถยนต์โดยไม่ได้รับอนุญาต
เนื่องจากกฎข้อบังคับในการอนุมัติใช้อุปกรณ์วิทยุจะแตกต่างกันตามความเหมาะสมของแต่ละประเทศ จึงมีตัวส่งสัญญาณและตัวแยกความถี่ที่ใช้แตกต่างกันอยู่สองรุ่น
สำหรับประเทศในยุโรปทั้งหมด (รุ่น EUR)
ส่วนใหญ่สำหรับ สหรัฐอเมริกา, แคนาดา และออสเตรเลีย
ความแตกต่างระหว่างกุญแจรีโมทแบบคลื่นวิทยุรุ่นพื้นฐานทั้งสองรุ่น :
กุญแจรีโมทแบบคลื่นวิทยุสำหรับรุ่นต่างๆ มีภาพประกอบดังนี้

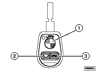
กุญแจรีโมทแบบคลื่นวิทยุ รุ่นเปลี่ยนแบตเตอรี่ได้ 433 MHz

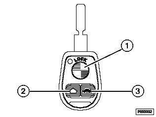
กุญแจรีโมทแบบคลื่นวิทยุ รุ่นเปลี่ยนแบตเตอรี่ได้ 315 MHz

กุญแจรีโมทแบบคลื่นวิทยุ รุ่นเปลี่ยนแบตเตอรี่ได้ รุ่น 433 MHz และ 315 MHz จะมีลักษณะภายนอกเหมือนกัน แต่จะพิมพ์ความถี่ที่ใช้ไว้ที่ด้านหลัง
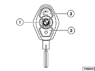
ปุ่มควบคุมการทำงานบนกุญแจรีโมทซึ่งมีอยู่สามปุ่ม จะกระตุ้นการทำงานต่างๆ กันไปขึ้นอยู่กับระยะเวลาในการกด
รหัสของคำสั่งรีโมทคอนโทรลแบบคลื่นวิทยุทั้งหมด จะเปลี่ยนแปลงอยู่ตลอดเวลา เพื่อป้องกันไม่ให้มีการปรับเปลี่ยนระบบ
ถ้าการส่งคำสั่งรีโมทแบบคลื่นวิทยุถูกรบกวนในระหว่างการเปิด/ปิดกระจกไฟฟ้าแบบอัตโนมัติ การทำงานในรถยนต์จะสิ้นสุดลงทันที ทั้งนี้เพื่อความปลอดภัย จะต้องปล่อยและกดปุ่มบนกุญแจรีโมทอีกครั้ง เพื่อสั่งให้ทำงานในแบบอัตโนมัติต่อไป
เมื่อเสียบกุญแจรถยนต์เข้าในสวิตช์กุญแจแล้ว เจนเนอรัลโมดูลจะไม่รับคำสั่งใดๆ จากรีโมทคอนโทรล เพื่อป้องกันไม่ให้รีโมทคอนโทรลทำงานตามคำสั่งที่เกิดจากการกดปุ่มรีโมทโดยไม่ได้ตั้งใจ เจนเนอรัลโมดูลรับข้อมูล ”มีกุญแจเสียบอยู่”จากชุดควบคุม EWS
สถานะการชาร์จของแบตเตอรี่ในกุญแจรีโมท จะได้รับการตรวจสอบทุกครั้งที่กดปุ่ม
ซึ่งกุญแจรีโมทจะส่งสัญญาณสถานะของแบตเตอรี่ไปยังเจนเนอรัลโมดูล ถ้าแรงดันไฟฟ้าถึงค่าขีดจำกัดค่าต่ำสุดแล้ว เจนเนอรัลโมดูลดำเนินการกับข้อมูลนี้ ดังต่อไปนี้ :
ถ้าแรงดันไฟฟ้าต่ำ :
ตรวจสอบให้แน่ใจว่าไม่มีการลบข้อมูลการกำหนดการทำงานในหน่วยความจำที่ไม่ขึ้นกับแรงดันไฟในกุญแจรีโมทแบบคลื่นวิทยุ แม้ในขณะที่แบตเตอรี่/แบตเตอรรี่แบบชาร์จได้นั้นจะหมดไฟแล้ว
หมายเหตุ
ในกรณีของกุญแจรีโมทแบบคลื่นวิทยุ รุ่นใช้แบตเตอรี่แบบชาร์จได้ ตั้งแต่รุ่นผลิต 9/99 โปรดสังเกตว่า แบตเตอรี่แบบชาร์จได้โดยปกติจะมีการจ่ายประจุออกด้วยตัวเองเกิดขึ้นขณะที่ไม่มีการใช้งาน ซึ่งแบตเตอรี่แบบชาร์จได้จะเริ่มจ่ายไฟออกหลังจากเวลาผ่านไปประมาณ 1 ปี จะต้องชาร์จแบตเตอรี่แบบชาร์จได้ที่จ่ายไฟออกจนออกหมดแล้ว ประมาณ 30 ชั่วโมง จึงสามารถใช้งานได้อย่างเต็มที่เหมือนเดิม
ไฟ LED สีแดงแสดงสถานะการทำงานและสถานะแบตเตอรี่ในชุดส่งสัญญาณคลื่นวิทยุ จะรวมอยู่ในตัวเรือนของกุญแจรีโมทแบบคลื่นวิทยุ ตั้งแต่รุ่นผลิต 9/99
การทดสอบตัวเองจะใช้เพื่อตรวจเช็คว่า ชุดควบคุมอิเล็กทรอนิกส์ของตัวส่งสัญญาณทำงานอย่างถูกต้องหรือไม่
เริ่มการทดสอบตัวเองโดยกดปุ่ม ”ประตูท้าย” ค้างไว้ และกดปุ่ม ”ล็อค” ในเวลาเดียวกัน
ถ้าตัวส่งสัญญาณทำงานอย่างถูกต้อง ไฟ LED สีแดงจะติดสว่างเป็นเวลา 1 วินาที
โมดูลรับสัญญาณจะได้รับข้อมูลที่ส่งจากตัวส่งสัญญาณกุญแจ ผ่านทางเสาอากาศวิทยุ-โทรทัศน์ ตัวแยกความถี่เสาอากาศ (วงจรรีเจคเตอร์) จะทำหน้าที่แยกคลื่นวิทยุเหล่านี้จากคลื่นวิทยุอื่นที่ได้รับ แล้วส่งผ่านทางสายสัญญาณไปยังเจนเนอรัลโมดูล

สายอากาศกระจกหลังพร้อมเครื่องขยายสัญญาณ AM/FM และตัวแยกความถี่
1 |
เครื่องขยายสัญญาณ AM/FM สำหรับการรับคลื่นวิทยุ |
2 |
ตัวแยกความถี่ (วงจรรีเจคเตอร์) สำหรับสัญญาณรีโมทคอนโทรลแบบคลื่นวิทยุ |

สายอากาศกระจกหลังพร้อมเสาอากาศไดเวอร์ซิตี้ (อุปกรณ์เสริม), เสาอากาศโทรทัศน์ (อุปกรณ์เสริม) และตัวแยกความถี่
1 |
ชุดไดเวอร์ซิตี้สำหรับการรับคลื่นวิทยุ |
2 |
เครื่องขยายสัญญาณ AM/FM สำหรับการรับสัญญาณวิทยุพร้อมตัวแยกความถี่รวมไว้ด้วย (วงจรรีเจคเตอร์) สำหรับสัญญาณรีโมทคอนโทรลแบบคลื่นวิทยุ |
โทรทัศน์ |
เครื่องขยายสัญญาณเสาอากาศ และตัวแยกความถี่สำหรับการรับสัญญาณโทรทัศน์ |
สัญญาณวิทยุจะได้รับการตรวจเช็คและประเมินผลในเจนเนอรัลโมดูล จากนั้นจะทำตามคำสั่งที่ถูกต้อง (เช่น ปลดระบบเซ็นทรัลล็อค และยกเลิกการทำงานของ DWA)
ตัวรับสัญญาณจะรวมอยู่กับเสาในกระจกมองหลังภายในรถ โดยเครื่องรับจะส่งสัญญาณวิทยุที่ได้รับผ่านสาย FZV ไปยังชุดควบคุมอิเล็กทรอนิกส์เซ็นทรัลบอดี้เพื่อทำการประเมินผล
ระยะสั่งการของคำสั่งกับระบบเซ็นทรัลล็อค คือ 10 เมตร
สำหรับระยะการสั่งเปิดและปิดกระจกไฟฟ้าและซันรูฟแบบอัตโนมัติ มีการจำกัดไว้ในรัศมีประมาณ 5 เมตร ระยะสั่งการที่สั้นลงนี้เพื่อความปลอดภัย
ในระหว่างการกำหนดการทำงาน ระยะสั่งการสำหรับฟังก์ชั่นนี้จะสั้นลงเหลือเพียงการสั่งงานในรถยนต์ โดยชี้กุญแจรีโมทไปในทิศทางของเสาอากาศ
ขั้นตอนการกำหนดการทำงานจะเป็นการกำหนดให้กุญแจรีโมทสามารถใช้งานได้กับเจนเนอรัลโมดูล ในระหว่างการกำหนดการทำงาน จะมีการสร้างรหัสในกุญแจรีโมทและส่งผ่านไปยังเจนเนอรัลโมดูล รหัสนี้จะบันทึกไว้ทั้งในกุญแจรีโมทและในเจนเนอรัลโมดูล ซึ่งเจนเนอรัลโมดูลสามารถรับรู้ว่าเป็นกุญแจที่ถูกต้องได้ โดยตรวจสอบรหัสนี้ ถ้ารหัสถูกต้อง จึงจะดำเนินการตามคำสั่งที่ส่งจากกุญแจเหล่านี้
รถยนต์แต่ละคัน สามารถกำหนดการทำงานของกุญแจได้สูงสุดเพียง 4 ดอกเท่านั้น เมื่อกำหนดการทำงานกุญแจใหม่ รหัสของกุญแจอื่นๆ ทั้งหมดจะถูกลบทิ้ง ซึ่งหมายความว่า จะต้องกำหนดการทำงานของกุญแจในระบบทั้งหมดพร้อมๆ กัน
การกำหนดการทำงานกุญแจรีโมทภายในรถยนต์
กำหนดการทำงานของกุญแจดอกอื่นๆ โดยการทำขั้นตอนตั้งแต่ข้อ 3 (คือ กดปุ่ม ”ปลดล็อค” บนกุญแจรีโมทค้างไว้) ซ้ำ ห้ามเปลี่ยนตำแหน่งของสวิตช์กุญแจตลอดขั้นตอนนี้
ขั้นตอนการกำหนดการทำงานจะหยุดลงทันที ถ้าบิดสวิตช์กุญแจไปที่ตำแหน่ง R
หมายเหตุ
ตรวจสอบให้แน่ใจว่าไม่มีการลบข้อมูลการกำหนดการทำงานในหน่วยความจำที่ไม่ขึ้นกับแรงดันไฟฟ้าในกุญแจรีโมทแบบคลื่นวิทยุ ถึงแม้ว่าแบตเตอรี่หรือแบตเตอรรี่แบบชาร์จได้นั้นจะหมดไฟแล้ว