เมื่อติดตั้งเซ็นเซอร์เรดาร์ใหม่ (ACC2 หรือเซ็นเซอร์ระยะไกล LRR หรือเรดาร์ระยะไกล ตั้งแต่ 03/2007)ไม่จำเป็นต้องทำการปรับตั้งอย่างคร่าวๆ ! ได้มีการตั้งสกรูสำหรับปรับของเซ็นเซอร์ตัวใหม่มาแล้วจากโรงงาน และห้ามเปลี่ยนแปลง !
ก่อนทำการติดตั้ง ให้ตรวจเช็คว่าตัวยึดเซ็นเซอร์ชำรุดเสียหายหรือคดงอหรือไม่ หากพบตัวยึดที่ชำรุด ให้เปลี่ยน
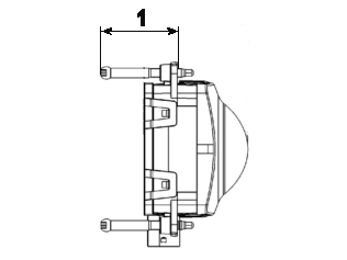
ขนาดฐานของสกรูทั้ง 3 ตัว (สกรูปรับและแท่นยึด) จะถูกกำหนดไว้ที่เซ็นเซอร์ ถ้าขนาดจริงของเซ็นเซอร์ที่ใช้แล้วแตกต่างจากขนาดที่กำหนดไว้มาก อาจไม่สามารถทำการปรับเซ็นเซอร์อย่างละเอียดได้ ในกรณีนี้ ให้ปรับตั้งสกรูทั้ง 3 ตัวของเซ็นเซอร์ให้ได้ตามขนาดที่กำหนดไว้ (ขนาด 1)

ขนาด 1 : 43 มม. +/- 0.5 มม.
หลังจากการปรับตั้งอย่างคร่าวๆ ต้องทำการปรับตั้งอย่างละเอียด !