ในการปรับเทียบกล้องเสริม ต้องให้แนวที่แสดงอยู่ในภาพอยู่ในตำแหน่งที่เหมาะสมบนเป้าหมาย การปรับเทียบจำเป็นต้องให้รถอยู่ในสถานะที่กำหนดไว้
ในการปรับเทียบ โหมดเต็มหน้าจอจะทำงานโดยอัตโนมัติ !
ล็อคเป้าหมายให้อยู่บริเวณช่วงล่างหลังตามที่ได้อธิบายไว้ในคำแนะนำการซ่อม
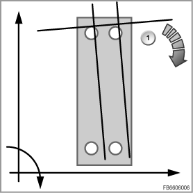
ขั้นตอน 1 : แก้ไขความคลาดเคลื่อน โดยให้หมุนปรับแนวจนกว่าแนวที่ได้จะขนานไปกับวงขอบเขตของเป้าหมาย

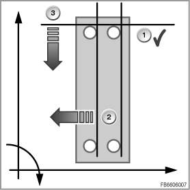
ขั้นตอน 2 :เลื่อนเส้นแนวตั้งที่แกน x เลื่อนปรับแนวเส้นไปทางซ้ายหรือขวาจนกว่าแนวเส้นจะตัดผ่านวงขอบเขตทั้งสี่ ในตัวอย่างด้านล่าง ต้องเลื่อนปรับแนวเส้นไปทางซ้าย
ขั้นตอน 3 :เส้นแนวนอนที่แกน y เลื่อนปรับแนวเส้นขึ้นด้านบนหรือลงด้านล่างจนกว่าจุดตัดจะอยู่ที่เส้นแนวตั้งในวงขอบเขตด้านบน ในภาพด้านล่าง ต้องเลื่อนปรับแนวเส้นลง

เมื่อสิ้นสุดการปรับเทียบ แนวเส้นต่างๆ ต้องตัดผ่านกลางวงขอบเขต การปรับแนวที่ได้ผลดีจะเกิดขึ้นเมื่อพื้นที่ด้านในของวงขอบเขตสามารถมองเห็นพื้นที่โดยรอบของแนวเส้นต่างๆ ได้ ค่าการปรับเทียบที่กำหนดไว้จะนำมาใช้กับกล้องในการยืนยันข้อมูล
