ปั๊มน้ำ
ตัวเรือนจะทำจากอะลูมิเนียมหล่อหรือพลาสติก และมีสกรูยึดอยู่กับฝาครอบชุดไทมิ่ง เซ็นเซอร์อุณหภูมิแบบคู่สำหรับสารหล่อเย็น จะได้รับการติดตั้งในปั๊มตัวเรือนน้ำ เซ็นเซอร์อุณหภูมิแบบคู่นี้ จะติดตั้งไว้ตรงจุดที่สารหล่อเย็นไหลออกจากเครื่องยนต์

ภาพแสดงรายละเอียดของปั๊มน้ำและเซ็นเซอร์อุณหภูมิแบบคู่ |
|
หม้อน้ำ
หม้อหล่อเย็นน้ำมันเครื่อง จะติดตั้งเพิ่มเติมสำหรับรุ่นเฉพาะประเทศ
การควบคุมระบบการหล่อเย็นเครื่องยนต์ ที่ใช้เทอร์โมสตัทแบบธรรมดา จะกำหนดโดยอุณหภูมิของสารหล่อเย็น เท่านั้น ระบบควบคุมนี้สามารถแบ่งการทำงานออกเป็น 3 ช่วงดังนี้ :
โดยอาศัยเทอร์โมสตัทแบบควบคุมด้วยแผนผังลักษณะการทำงาน อุณหภูมิของสารหล่อเย็น จะสามารถเปลี่ยนแปลงอยู่ในช่วงการทำงาน (ช่วงควบคุมของเทอร์โมสตัท)
ด้วยวิธีนี้ จึงสามารถที่จะกำหนดอุณหภูมิสารหล่อเย็นให้สูงขึ้นได้ ในช่วงโหลดบางส่วนของเครื่องยนต์ อุณหภูมิทำงานที่สูงขึ้นในช่วงโหลดบางส่วน จะช่วยทำให้การเผาไหม้ดีขึ้น ส่งผลให้สิ้นเปลืองน้ำมันน้อยลง และ ลดมลพิษ
อย่างไรก็ตาม อุณหภูมิทำงานที่สูงขึ้นในช่วงโหลดเต็มที่ อาจทำให้เกิดข้อเสียบางอย่าง (จังหวะการจุดระเบิด (มุม) ลดลงเนื่องจากน็อค) ด้วยเหตุนี้ เทอร์โมสตัทแบบควบคุมด้วยแผนผังลักษณะการทำงาน จะตั้งอุณหภูมิสารหล่อเย็นให้ต่ำลงในช่วงโหลดเต็มที่

|
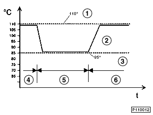
ลักษณะการควบคุมของ การหล่อเย็นแบบควบคุมด้วยแผนผังลักษณะการทำงาน |
|---|---|
1 |
เส้นกราฟลักษณะการทำงานของเทอร์โมสตัทที่ 110o C |
2 |
เส้นกราฟลักษณะการทำงาน ของเทอร์โมสตัทแบบควบคุมด้วยแผนผังลักษณะการทำงาน |
3 |
เส้นกราฟลักษณะการทำงานของเทอร์โมสตัทที่ 85o C |
4 |
ช่วงโหลดบางส่วน |
5 |
ช่วงโหลดเต็มที่ |
6 |
ช่วงโหลดบางส่วน |
โดยการใช้เทอร์โมสตัทนี้ ทำให้สามารถเพิ่มอุณหภูมิของสารหล่อเย็นในช่วงโหลดบางส่วน ด้วยการเพิ่มอุณหภูมิสารหล่อเย็น ภายใต้สภาวะการทำงานของเครื่องยนต์แบบนี้ สามารถลดการสิ้นเปลืองน้ำมันลงได้ เทอร์โมสตัทแบบควบคุมด้วยแผนผังลักษณะการทำงานนี้ จะได้รับการควบคุมโดยชุดควบคุมเครื่องยนต์
แผนผังลักษณะการทำงานนี้ จะกำหนดโดยปัจจัยต่อไปนี้ :
การออกแบบเทอร์โมสแตทแบบควบคุมด้วยแผนผังลักษณะการทำงาน
เทอร์โมสตัทแบบควบคุมด้วยแผนผังลักษณะการทำงาน เป็นเทอร์โมสตัทรวม ซึ่งหมายถึง เทอร์โมสตัทและฝาปิดเทอร์โมสตัทรวมกันเป็นชิ้นเดียว
หลักการออกแบบกลไก ของเทอร์โมสตัทแบบควบคุมด้วยแผนผังลักษณะการทำงาน จะเหมือนกับเทอร์โมสตัทธรรมดา อย่างไรก็ตาม จะเพิ่มตัวทำความร้อนเข้าไปในส่วนต่อ (แบบใช้แวกซ์)

ภาพตัดขวางของเทอร์โมสตัท แบบควบคุมด้วยแผนผังลักษณะการทำงาน |
|
ฝาปิดของเทอร์โมสตัทแบบควบคุมด้วยแผนผังลักษณะการทำงาน ทำจากอลูมิเนียมหล่อ จุดต่อไฟฟ้าสำหรับส่วนทำความร้อน กับ ส่วนต่อของ เทอร์โมสตัทแบบควบคุมด้วยแผนผังลักษณะการทำงาน ติดตั้งอยู่ในฝาปิดเทอร์โมสตัท

เทอร์โมสตัทแบบควบคุมด้วยแผนผังลักษณะการทำงาน พร้อม จุดต่อไฟฟ้าของส่วนทำความร้อน |
|
ฟังก์ชั่นของเทอร์โมสแตทแบบควบคุมด้วยแผนผังลักษณะการทำงาน
เทอร์โมสตัทแบบควบคุมด้วยแผนผังลักษณะการทำงาน ถูกออกแบบให้เปิด (ช่องทางเข้าของเครื่องยนต์) เมื่อ อุณหภูมิของสารหล่อเย็นที่เทอร์โมสตัทเป็น 103oC โดยไม่มีการขัดจังหวะ จากระบบให้ความร้อนรวม เนื่องจากอุณหภูมิของสารหล่อเย็นจะสูงขึ้น เมื่ออยู่ในเครื่องยนต์ อุณหภูมิที่วัดได้ ณ จุดที่สารหล่อเย็นไหลออกจากเครื่องยนต์ (ตำแหน่งติดตั้งของเซ็นเซอร์อุณหภูมิสารหล่อเย็น สำหรับ DME และ เกจวัดบนแผงหน้าปัด) อยู่ที่ประมาณ 110o C อุณหภูมินี้เป็นอุณหภูมิทำงานของเครื่องยนต์ ซึ่งเทอร์โมสตัทแบบควบคุมด้วยแผนผังลักษณะการทำงาน จะเริ่มเปิด โดยไม่มีการขัดจังหวะการควบคุม
ในการขัดจังหวะการควบคุมโดยชุดควบคุม DME แรงดันไฟฟ้า (12 โวลต์) จะจ่ายให้กับส่วนทำความร้อนในเทอร์โมสตัท การให้ความร้อนแก่ส่วนที่ต่อออกไปหมายความว่า อุณหภูมิสารหล่อเย็นที่ทำให้เทอร์โมสตัทเปิด จะต่ำกว่าในกรณีที่ ไม่มีฟังก์ชั่นการให้ความร้อนเพิ่ม (ช่วงควบคุมเทอร์โมสตัท : ประมาณ 80oC - 103oC)

1 |
ทางเปิดของเทอร์โมสตัท |
2 |
อุณหภูมิสารหล่อเย็น |
3 |
การทำงานของส่วนทำความร้อนที่ 12 โวลต์ |
4 |
การทำงานของส่วนทำความร้อนที่ 0 โวลต์ |
เมื่ออุณหภูมิสารหล่อเย็นที่ทางออกของเครื่องยนต์เกิน 113oC DME จะสั่งให้การทำความร้อนของ เทอร์โมสตัทแบบควบคุมด้วยแผนผังลักษณะการทำงาน เริ่มทำงาน โดยไม่เกี่ยวข้องกับพารามิเตอร์อื่นๆ
การวิเคราะห์
การต่อสายและการทำงานของ เทอร์โมสตัทแบบควบคุมด้วยแผนผังลักษณะการทำงาน จะถูกตรวจสอบจากฟังก์ชั่นการวิเคราะห์ในชุดควบคุม DME ความผิดปกติต่างๆ จะถูกเก็บอยู่ในหน่วยความจำรหัสความผิดปกติ ของชุดควบคุม DME
เกจวัดอุณหภูมิสารหล่อเย็น
ลักษณะการแสดงค่าของเกจวัดอุณหภูมิสารหล่อเย็นในอุปกรณ์แผงหน้าปัด ได้รับการปรับปรุงให้ใช้กับระดับอุณหภูมิเครื่องยนต์ที่สูงขึ้น เนื่องจากการใช้ เทอร์โมสตัทแบบควบคุมด้วยแผนผังลักษณะการทำงาน
เข็มของเกจวัดอุณหภูมิสารหล่อเย็นในอุปกรณ์แผงหน้าปัด จะอยู่ที่ตำแหน่งกลาง เมื่ออุณหภูมิสารหล่อเย็นเป็น
75oC - 113o C
ในตำแหน่งกลาง