1996 yılı modelinde olduğu gibi, radyo dalgalı uzaktan kumanda ZKE III temel modülünde entegre edilmiştir. Anten olarak, arka cama entegre edilmiş telsiz anteni kullanılır.
Radyo sinyalleri anten stop filtresinde izole edilmişlerdir. Stop filtresi sinyalleri anahtar vericisinden bir veri hattı vasıtasıyla Ana modüle iletir.
Bütün radyo iletileri kodludur ve dışardan karışmaları ve dolayısıyla aracın yetkisiz açılışını engellemek için sürekli değişen bir şifre özelliğini taşır.
Değişik ülkelerdeki radyo ekipmanları için farklı resmi uyarlamalara göre, iki değişik verici ve stop filtresi kullanılır.
Bütün Avrupa ülkeleri için (EUR versiyonu)
Esas olarak USA, Kanada ve Avustralya için düşünülen.
Uzaktan kumandalı anahtarlar temelde iki ayrı tip olarak üretilir:

Uzaktan kumandalı anahtar ECE versiyonu, 433 MHz

Uzaktan kumandalı anahtar US versiyonu, 315 MHz

Pilli radyo dalgalı anahtar. 433 MHz ve 315 MHz için görsel olarak benzer tipler. Geçerli frekans arka tarafa basılmıştır.
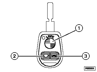
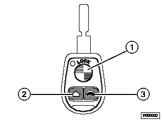
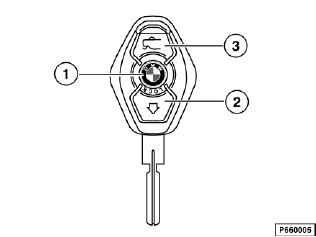
Anahtar vericisindeki 3 düğmeye ne kadar süre basıldığına göre araçta çeşitli hareketleri tetikler.
Bütün radyo dalgalı uzaktan kumanda talimatları düzenli olarak değişen kodla sistemin kurcalanmasını engelleme amacıyla şifrelenmiştir.
Eğer radyo dalgalı uzaktan kumanda komutları açılır kapanır camların uygun açılıp kapanmasında parazitlenirse, emniyet gerekçeleriyle, araçtaki fonksiyon anında yok edilir. Anahtar vericideki ilgili düğme, uygun mod fonksiyonlarına geri dönmek için bırakılmalı ve tekrar basılmalı.
Radyo dalgalı anahtarda pilin ve akümülatörün şarj durumu bir düğmeye basılarak denetlenir.
Anahtar verici alıcı modülüne pil voltajının alt limite ulaşıp ulaşmadığının sinyalini verir. Ana modül bu mesajı aşağıda anlatıldığı gibi işleme tutar:
Gerilim düşmesi söz konusu olduğunda:
Not
9/99'dan sonraki pille çalışan telsiz dalgalı anahtarlarda, kullanılmama durumunda, pillerde normal olan kendi kendine deşarj olma durumunun ortaya çıkabileceğine dikkat edilmelidir. Akümülatör yaklaşık 1 yıl sonra deşarj olur. Aşırı deşarj olmuş bir akümülatörün, tekrar tam kapasitesine ulaşabilmesi için yaklaşık 30 saat kadar şarj edilmesi gerekecektir.
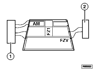
Uzaktan kumandalı anahtar tarafından gönderilen veriler bir telsiz/TV anteni vasıtasıyla alıcı modül tarafından alınır. Bir anten stop filtresi (bastırıcı devre), bu telsiz dalgalarını diğer alınan telsiz dalgalarından izole eder ve bir hat vasıtasıyla ZKE II temel modülüne iletir.

AM/FM ve stop filtreli arka cam anteni
1 |
Radyo alımı için AM/FM amfisi |
2 |
Radyo dalgalı uzaktan kumanda sinyali için stop filtresi (bastırıcı devre) |

Diversite antenli arka cam anteni, TV anteni (E39 serilerinde özel opsiyon) ve stop filtre
1 |
Radyo dalgası alımı diversite alıcısı |
2 |
Radyo dalgalı uzaktan kumanda sinyali için entegre edilmiş stop filtreli (bastırıcı devre) radyo dalgası alımı AM/FM amfisi |
TV |
TV dalgası alımı anten amfisi ve stop filtresi |
Radyo sinyalleri ana modülde kontrol edilip değerlendirilir. Geçerli komutlar uygulanır (ör. merkezi kilitleme sistemini açma ve DWA'yı devreden çıkarma)
Komutlar için merkezi kilit sistemine minimum menzil 10 m.'dir.
Tavan penceresinin ve yan camların uygun açılıp kapanması için menzil yaklaşık olarak 5 m. ile sınırlanmıştır. Menzil güvenlik gerekçeleri ile sınırlandırılmıştır.
Başlangıç ayarı sırasında mesafe, bu fonksiyonun araç dahilinde anten yönünde işaret eden anahtar vericisi ile uygulanabileceği böyle bir mesafeye azaltılmıştır.
9/96 ile 9/99 arasındaki telsiz dalgalı anahtarlarda anahtar gövdesine, telsiz vericisindeki pilin durumunu bildiren kırmızı bir LED takılmıştır.
Kendi kendine test, verici elektronik kontrolünün doğru çalıştığının kontrolü için kullanılır.
Kendi kendine test, "Bagaj kapağı" ve "Kilitleme" düğmelerine beraber basılıp tutulduğunda başlatılır.
Verici eğer doğru çalışıyorsa, kırmızı LED 1 saniye süreyle yanar.
Başlangıç ayarı işlemi anahtar vericiyi ana modül yerine tayin eder. Başlangıç ayarı esnasında, anahtar vericide bir kod üretilir ve alıcı modüle gönderilir. Kod anahtar vericide ve ana modülde saklanır. Alıcı modül bu koda göre anahtarların sisteme ait olduğunu tanır. Sadece bu zaman bu anahtarlardan gelen komutlar işlem görür.
Her araç için en fazla 4 adet anahtarın başlangıç ayarları yapılabilir. Diğer bütün anahtarların kodları yeni bir anahtar yeniden başlangıç ayarı yapıldığında silinir. Bunun anlamı bir sistemin bütün anahtarları aynı anda ayarlanmalıdır.
Radyo dalgalı anahtarın başlangıç ayarı araç içinde uygulanmalıdır.
Diğer anahtarın ilk ayarının yapılabilmesi için işlem 3. noktadan itibaren tekrarlanmalıdır (= Anahtardaki "Kilit açma" düğmesine basılmalı ve öyle tutulmalıdır). Bu işlem süresince R terminali değiştirilmemelidir.
Eğer R terminali açılacak olursa, ilk ayarı işlemi iptal olur (kesilir).
Not
9/96'ya kadarki telsiz dalgalı anahtarlarda (iki adet pil), telsiz dalgalı anahtar uzun süre gerilim beslemesiz kalırsa, hafızasına kaydedilmiş kod kaybolur. Bu nedenle anahtar pilleri 1-2 dakika içerisinde değiştirilmelidir.