Radyo dalgalı uzaktan kumanda işlevsel olarak ZKE'nin ana modülüne entegre edilmiştir. E46 Limousine, Touring, Coupé ve E83 X3 modellerinde anten olarak arka cama entegre edilmiş anten kullanılır. E46 Cabrio E52 Z8 ve E85 Z4 modellerinde anten iç dikiz aynasına yerleştirilmiştir.
Radyo sinyalleri anten stop filtresinde izole edilmişlerdir. Stop filtresi sinyalleri anahtar vericisinden bir veri hattı vasıtasıyla Ana modüle iletir.
Tüm radyo sinyalleri kodludur ve dışardan etki edilmesini, dolayısıyla aracın yetkisiz açılışını engellemek için sürekli değişen bir kod yayımlar.
Değişik ülkelerdeki radyo ekipmanları için farklı resmi uyarlamalara göre, iki değişik verici ve stop filtresi kullanılır.
Bütün Avrupa ülkeleri için (EUR versiyonu)
Esas olarak USA, Kanada ve Avustralya için düşünülen.
Uzaktan kumandalı anahtarlar temelde iki ayrı tip olarak üretilir:
Aşağıda farklı radyo dalgalı anahtarlar ve farklı tipler açıklanmıştır.

Değişebilir pilli radyo dalgalı anahtar, tip 433 MHz

Değişebilir pilli radyo dalgalı anahtar, tip 315 MHz

Pilli radyo dalgalı anahtar. 433 MHz ve 315 MHz için görsel olarak benzer tipler. Geçerli frekans arka tarafa basılmıştır.
Anahtar vericisindeki 3 düğmeye ne kadar süre basıldığına göre araçta çeşitli hareketleri tetikler.
Sisteme etki edilmesini engellemek için tüm radyo sinyalleri, sürekli değişen bir kodla şifrelenmiştir.
Eğer radyo dalgalı uzaktan kumanda komutları açılır kapanır camların uygun açılıp kapanmasında parazitlenirse, emniyet gerekçeleriyle, araçtaki fonksiyon anında yok edilir. Yeniden konforlu kullanıma geçmek için uzaktan kumandalı anahtardaki ilgili tuşun bırakılıp buna yeniden basılması gerekir.
Tuşa istem dışı basılmasını ve böylelikle uzaktan kumanda komutlarına neden olmamak için, araç anahtarı kontağa takılıyken uzaktan kumanda ana modülde deaktive edilir. Ana modül, EWS kontrol biriminden ”anahtar takılı” mesajını alır.
Radyo dalgalı anahtarda pilin ve akümülatörün şarj durumu bir düğmeye basılarak denetlenir.
Anahtar verici alıcı modülüne pil voltajının alt limite ulaşıp ulaşmadığının sinyalini verir. Ana modül bu mesajı aşağıda anlatıldığı gibi işleme tutar:
Gerilim düşmesi söz konusu olduğunda:
Uzaktan kumandalı anahtardaki gerilimden bağımsız bir hafıza, pil/akümülatör deşarj olduğunda bile ilk ayar verilerinin silinmemesini teminat altına alır.
Not
9/99'dan sonraki akümülatörle çalışan radyo dalgalı anahtarlarda, kullanılmama durumunda normal olan kendi kendine deşarj durumunun ortaya çıkmasının söz konusu olacağına dikkat edilmelidir. Akümülatör yaklaşık 1 yıl sonra deşarj olur. Aşırı deşarj olmuş bir akümülatörün, tekrar tam kapasitesine ulaşabilmesi için yaklaşık 30 saat kadar şarj edilmesi gerekecektir.
9/99'a kadarki radyo dalgalı anahtarlarda anahtar gövdesine, radyo dalgası vericisinin pilinin durumunu ve işlevini gösteren kırmızı bir LED monte edilmiştir.
Self test, verici elektronik kontrolünün doğru çalıştığının kontrolü için kullanılır.
Self test, ”Bagaj kapağı” ve ”Kilitleme” düğmelerine beraber basılıp, basılı tutulduğunda başlatılır.
Verici eğer doğru çalışıyorsa, kırmızı LED 1 saniye süreyle yanar.
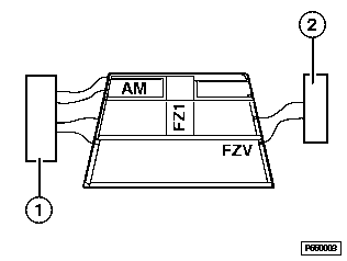
Alıcı modül tarafından alınan bilgiler bir radyo-TV anteni vasıtasıyla alıcı modül tarafından alınır. Bir anten stop filtresi (bastırıcı devre), bu radyo dalgalarını diğer alınan radyo dalgalarından izole eder ve bir hat vasıtasıyla ana modüle iletir.

AM/FM ve stop filtreli arka cam anteni
1 |
Radyo alımı için AM/FM amfisi |
2 |
Radyo dalgalı uzaktan kumanda sinyali için stop filtresi (bastırıcı devre) |

Diversite antenli arka cam anteni, TV anteni (özel opsiyon) ve stop filtre
1 |
Radyo dalgası alımı diversite alıcısı |
2 |
Radyo dalgalı uzaktan kumanda sinyali için entegre edilmiş stop filtreli (bastırıcı devre) radyo dalgası alımı AM/FM amfisi |
TV |
TV dalgası alımı anten amfisi ve stop filtresi |
Radyo sinyalleri ana modülde kontrol edilip değerlendirilir. Geçerli komutlar uygulanır (ör. merkezi kilitleme sistemini açma ve DWA'yı devreden çıkarma)
Alıcı iç dikiz aynasındaki anten ile birlikte yerleştirilmiştir. Alınan radyo sinyalleri alıcı tarafından FZV hattı üzerinden ana modüle aktarılır ve orada değerlendirilir.
Komutlar için merkezi kilit sistemine minimum menzil 10 m.'dir.
Tavan penceresinin ve yan camların uygun açılıp kapanması için menzil yaklaşık olarak 5 m. ile sınırlanmıştır. Menzil güvenlik gerekçeleri ile sınırlandırılmıştır.
Başlangıç ayarı sırasında mesafe, bu fonksiyon ancak araç içinde uygulanabilecek kadar azaltılmıştır; bu sırada verici (anahtar) anten yönünde tutulmalıdır.
Başlangıç ayarı işlemi anahtar vericiyi ana modül yerine tayin eder. Başlangıç ayarı esnasında, anahtar vericide bir kod üretilir ve alıcı modüle gönderilir. Kod anahtar vericide ve ana modülde saklanır. Alıcı modül bu koda göre anahtarların sisteme ait olduğunu tanır. Sadece bu zaman bu anahtarlardan gelen komutlar işlem görür.
Her araç için en fazla 4 adet anahtarın başlangıç ayarları yapılabilir. Diğer bütün anahtarların kodları yeni bir anahtar yeniden başlangıç ayarı yapıldığında silinir. Bunun anlamı bir sistemin bütün anahtarları aynı anda ayarlanmalıdır.
Radyo dalgalı anahtarın başlangıç ayarı araç içinde uygulanmalıdır.
Diğer anahtarların ilk ayarının yapılabilmesi için, işlem 3. noktadan itibaren tekrarlanmalıdır (= Anahtardaki ”kilit açma” düğmesine basılmalı ve öyle tutulmalıdır). Bu işlem süresince R terminali değiştirilmemelidir.
Eğer R terminali açılacak olursa, ilk ayarı işlemi iptal olur (kesilir).
Not
Uzaktan kumandalı anahtardaki gerilimden bağımsız bir hafıza, pil boşaldığında ya da akümülatör deşarj olduğunda da ilk ayar verilerinin silinmesini önler.