Su pompası
Gövde alüminyum döküm veya sentetik malzemedendir ve zincir kutusu kapağına vidalanmıştır. Su pompasının gövdesine, soğutma sıvısı için çift sıcaklık algılayıcısı monte edilmiştir. Bu çift sıcaklık algılayıcısı, soğutma sıvısının motordan dışarı çıktığı noktada bulunur.

Çift sıcaklık algılayıcılı su pompasının detay görünümü |
|
Motor soğutucu
Ülkelere göre değişen varyasyonlar için ilave olarak bir motor yağı soğutucusunun kullanımı öngörülmüştür.
Motor soğutmanın geleneksel termostatla ayarı yalnızca soğutma sıvısının sıcaklığı tarafından tayin edilir. Bu ayarlama üç çalışma kademesinde yapılabilir:
Bu çalışma alanında (termostat ayar alanı) soğutma sıvısı sıcaklığı şimdi bir tanımlanan alan termostatının yardımı ile arzu edildiği gibi etkilenebilir.
Böylece de motorun kısmi yük alanında daha yüksek bir soğutma sıvısı sıcaklığının ayarlanması mümkündür. Kısmi yük alanında daha yüksek çalışma sıcaklıkları ile daha iyi yanmaya ve bunun sonucu olarak da daha az yakıt tüketimi ve zararlı madde emisyonuna ulaşılır.
Tam yük altında çalışılırken yüksek çalışma sıcaklıkları dezavantajları da beraberlerinde getirebilirler (Detonasyon nedeniyle ateşleme açısının geri alınması). Bu nedenle tam yük altında çalışılırken tanımlanan alan termostatının yardımı ile arzu edilen daha düşük soğutma sıvısı sıcaklıkları ayarlanabilir.

|
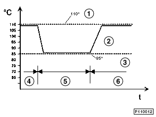
Tanımlanan alan soğutmanın ayar karakteristiği. |
|---|---|
1 |
Bir 110o C Termostatın karakteristiği |
2 |
Bir tanımlanmış alan termostatının karakteristiği. |
3 |
Bir 85o C Termostatın karakteristiği |
4 |
Kısmi yük alanı |
5 |
Tam yük alanı |
6 |
Kısmi yük alanı |
Bu termostatın yardımı ile kısmi yük alanında soğutma sıvısı sıcaklığının arzu edildiği gibi yükseltilmesi mümkündür. Soğutma sıvısı sıcaklığının yükseltilmesi ile motorun bu çalışma koşullarında yakıt tüketiminde bir düşüş sağlanır. Bu tanımlanmış alan termostatının ayarlanması, tanımlanmış bir alana bağlı olarak motor kumanda cihazı üzerinden gerçekleşir.
Bu tanımlanmış alan aşağıdaki faktörler tarafından tayin edilir:
Tanımlanmış alan termostatının yapısı
Tanımlanmış alan termostatı entegre bir termostattır; yani termostat ile termostat kapağı bir birim oluştururlar.
Tanımlanmış alan termostatının prensipte mekanik olan yapısı geleneksel termostatın yapısıyla aynıdır. Ancak buna ilaveten genleşme elemanına (mum eleman) bir ısıtma elemanı entegre edilmiştir.

Tanımlanmış alan termostatının kesit resmi. |
|
Tanımlanmış alan termostatının termostat kapağı alüminyum dökümdür. Termostat kapağına ayrıca, termostat kapağının genleşme elemanına bağlanmış olan ısıtıcı eleman için elektrik bağlantısı entegre edilmiştir.

Isıtma elemanı için elektrik bağlantılı tanımlanmış alan termostatı. |
|
Tanımlanmış alan termostatının fonksiyonu
Tanımlanmış alan termostatı, entegre ısıtıcının müdahalesi olmadan soğutma sıvısının termostattaki 103oC'lık sıcaklığında açacak gibi tasarlanmıştır (Motor girişi). Soğutucu maddenin motorda ısınması ile motor çıkışının (DME ve panel gösterge için soğutma sıvısı sıcaklığı duyargasının montaj yeri) bu çalışma noktasında 110o C ölçülür. Bu, tanımlanmış alan termostatının bir ayar müdahalesi olmaksızın açmaya başladığı motor çalışma sıcaklığıdır.
DME kumanda cihazının ayar müdahalesi durumunda termostata entegre edilmiş olan ısıtma elemanına akım verilir (12 V). Genleşme elemanının ısıtılması sonucu termostat, ek bir ısıtma olmaksızın gerçekleşmiş gibi, daha düşük soğutma sıvısı sıcaklıklarında da açar (Termostat ayar alanı: yakl. 80oC - 103oC).

1 |
Termostatın açma yolu. |
2 |
Soğutma sıcaklığı |
3 |
Isıtıcı elemana 12 V ile kumanda edilmesi |
4 |
Isıtıcı elemana 0 V ile kumanda edilmesi |
Soğutma sıvısı sıcaklığı motor çıkışında 113oC'ı aşar ve böylece diğer parametrelerden bağımsız olarak tanımlanmış alan termostatının ısıtıcısı DME tarafından aktive edilir.
Teşhis
Tanımlanmış alan termostatının hat bağlantısı ve fonksiyonu DME kumanda cihazının teşhis sistemi tarafından denetlenir. Ortaya çıkan arızalar DME kumanda cihazının arıza hafızasına kaydedilir.
Soğutma sıvısı sıcaklık göstergesi
Soğutma sıvısı göstergesinin kombideki gösterge karakteristiği, motorun, tanımlanmış alan termostatına bağlı yüksek sıcaklık seviyesine uyarlanır.
Soğutma sıvısı sıcaklığı bildiriminin kombideki göstergesi,
75oC - 113o C
arasındaki soğutma sıvısı sıcaklıklarında orta seviyede bulunur.