Geri sürüş kamerasını kalibre etmek için, ekranda görüntülenen çizgiler hedef üzerine doğru konumlandırılmalıdır. Kalibrasyon için aracın durumu tanımlanmalıdır.
Kalibrasyonda tam ekran görüntüsü otomatik olarak aktifleştirilir!
Hedef, onarım kılavuzuna göre arka aksa sabitlenmelidir.
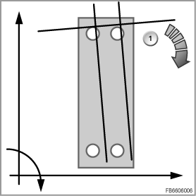
Adım 1: Yamukluk giderilmeli. Bunun için çizgiler hedefteki dairelere paralel olana kadar döndürülmelidir.

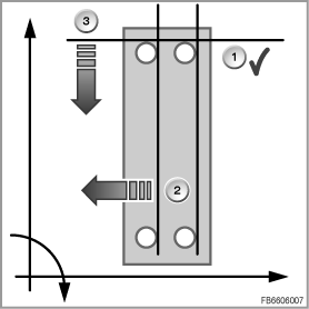
Adım 2:Dikey çizginin x ekseni üzerinde yer değiştirmesi. Çizgiler, dört daireden geçene kadar sola veya sağa hareket ettirilmelidir. Aşağıdaki örnekte, çizgiler sola doğru hareket ettirilmelidir.
Adım 3:y ekseni üzerindeki yatay çizgi. Kesişme noktası üst dairelerdeki yatay çizgilere gelene kadar çizgi yukarı veya aşağı doğru hareket ettirilmelidir. Aşağıdaki grafikte, çizgi aşağıya doğru hareket ettirilmelidir.

Kalibrasyonun sonunda çizgiler, dairelerin merkez noktasından geçmeli. Çizgiler için en uygun ayara, dairelerin iç kısımları çizgilerin etrafından eşit yoğunlukta geçiyorsa, ulaşılır. Ayarlanan kalibrasyon değerleri onaylanarak kameraya devralınır.
