The radio remote control is functionally integrated in the general module of the ZKE. The antenna integrated in the rear window on the E46 Sedan, Sport Wagon, Coupé and E83 X3 is used as the antenna for this purpose. On the E46 Convertible E52 Z8 and E85 Z4, the antenna is fitted in the inside mirror.
The radio signals are isolated in an antenna stop filter. The stop filter transmits the signals from the key transmitter via a data link to the general module.
All radio telegrams are coded and feature a constantly changing code so as to prevent manipulation and thus unauthorized opening of the vehicle.
Due to the different approval regulations for radio equipment in various countries, two different versions of the transmitter and stop filter are used.
For all European countries (EUR version)
Mainly intended for USA, Canada and Australia.
A distinction must be made between two basic versions of radio-control keys:
The various radio-control keys and their different versions are illustrated in the following.

Radio-control key with replaceable battery, 433 MHz version

Radio-control key with replaceable battery, 315 MHz version

Radio-control key with rechargeable battery. In appearance, same version for 433 MHz and 315 MHz. The applicable frequency is printed on the back.
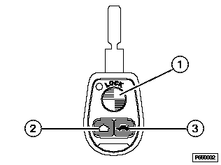
The three buttons on the key transmitter trigger, depending on how long they are pressed, various actions in the vehicle.
All radio remote instructions are encoded by means of a constantly changing code in order to prevent tampering in the system.
If transmission of radio remote instructions is disturbed during convenient opening/closing of the power windows, for safety reasons, the function is terminated immediately in the vehicle. The corresponding button on the key transmitter must be released and then pressed again in order to resume convenient mode functions.
The remote control function is deactivated in the general module when the vehicle key is inserted in the ignition lock in order to avoid remote control command functions being activated after unintentionally pressing the remote buttons. The general module receives the ”key inserted” message from the EWS control module.
The charge status of the battery or rechargeable battery in the key transmitter is monitored every time a button is pressed.
The key transmitter signals the battery status to the general module if the voltage reaches a lower limit value. The general module processes this message as follows:
If undervoltage occurs:
A voltage-independent memory in the radio-control key ensures that the initialization data is not deleted even when the battery/rechargeable battery is discharged.
Note
In the case of radio-control keys with rechargeable battery as from 9/99, it should be noted that self-discharge, normal for rechargeable batteries, takes place while not in use. The rechargeable battery discharges after approx. 1 year. A fully discharged rechargeable battery must be recharged for approx. 30 hours until it has regained its full capacity.
A red LED indicates the function and battery status in the radio transmitter is integrated in the housing of radio-control keys to 9/99.
The self-test is used to check whether the transmitter electronic control is operating correctly.
The self-test is started by pressing and holding ”tailgate” button and ”lock” button simultaneously.
If the transmitter is functioning correctly, the red LED will light for 1 second.
The data sent by the key transmitter are received by the receiver module via a radio-TV antenna. An antenna stop filter (rejecter circuit) isolates these radio waves from other received radio waves and transmits them via a line to the general module.

Rear window antenna with AM/FM and stop filter
1 |
AM/FM amplifier for radio reception |
2 |
Stop filter (rejecter circuit) for radio remote control signal |

Rear window antenna with antenna diversity (optional extra), TV antenna (optional extra) and stop filter
1 |
Diversity box for radio reception |
2 |
AM/FM amplifier for radio reception with integrated stop filter (rejecter circuit) for radio remote control signal. |
TV |
Antenna amplifier and stop filter for TV reception |
The radio signals are checked and evaluated in the general module. Valid instructions are carried out (e.g. release central locking system and deactivate DWA).
The receiver is accommodated together with the antenna in the interior rear-view mirror. The receiver transfers received radio signals via the FZV line to the central body electronics control module where they are evaluated.
The minimum range for instructions to the central locking system is 10 m.
The range is limited to a radium of approx. 5 m for the convenient opening and closing of the power windows and sunroof. The range is reduced for safety reasons.
During initialization, the range is reduced to such an extent that this function must be carried out in the vehicle with the key transmitter pointing in the direction of the antenna.
The initialization procedure allocates the key transmitter to the general module. During initialization, a code is generated in the key transmitter and then transferred to the general module. The code is stored in the key transmitter and in the general module. The general module recognizes the keys belonging to the system on the basis of this code. Only commands from these keys are then carried out.
A maximum of 4 keys can be initialized for each vehicle. The codes of all other keys are deleted when a key is reinitialized. This means that all the keys of a system must be initialized simultaneously.
Carry out key transmitter initialization in the vehicle interior.
Repeat the procedure as of Point 3 (= press and hold ”unlock” button on key transmitter) to initialize the other keys. Terminal R must not be varied during this procedure.
The initialization procedure is terminated if terminal R is switched on.
Note
A voltage-independent memory in the radio-control key ensures that the initialization data is not deleted even when the battery or rechargeable battery is discharged.